Eye Movements 1 The Plant The Oculomotor Plant











































































- Slides: 75
Eye Movements
1. The Plant
The Oculomotor Plant Consists Of only 6 muscles in 3 pairs
This Yields 3 degrees of Mechanical Freedom
Donder’s Law/ Listing’s Law Neural Constraints Reduce this to 2 degrees of freedom
3 -D eye movements • Donder’s Law – Relates torsion to eye position • Listing’s law – Torsion results from rotation of eye around perpendicular axis • Listing’s plane – Plane orthogonal to line of sight • Does not apply when head is free
Kinematics vs Dynamics In the Oculomotor System Rotations about the Center of Gravity No Loads No Inertia Force = Position
Oculomotor muscles and nerves • Oculomotor nerve (III) – Medial rectus – Superior/Inferior recti – Inferior oblique • Trochlear nerve (IV) – Superior oblique • Abducens nerve (VI) – Lateral rectus • Medial longitudinal fasciculus
2. The Behaviors Gaze Holding: VOR OKN Gaze Shifting: Saccades Vergence Smooth Pursuit
Classes of eye movements • Reflexive – gaze stabilization – VOR • Stabilize for head movements – Optokinetic • Stabilize for image motion • Voluntary – gaze shifting – Saccades • Acquire stationary target – Smooth pursuit • Acquire moving target – Vergence • Acquire target in depth
Gaze During Nystagmus
Saccades
3 -D Gaze Trajectory Vergence
2. The Motor Neurons
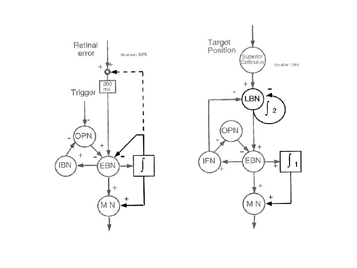
Force Patterns Robinson’s Lollipop Experiments Statics Dynamics
Oculomotor Neurons During Static Gaze
Dynamics and Statics
3. VOR
Cupula and otoliths move sensory receptors Cristae Maculae
Angular Acceleration Angular Velocity Angular Position Cupula Deflection
Canal afferents code velocity • Spontaneous activity allows for bidirectional signaling • S-curve is common • Different cells have different ranges and different dynamics • Population code
Canal Output During Slow Sinusoidal Rotation
VOR With and Without Vision
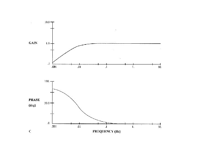
r. VOR gain varies with frequency • Almost perfect > 1 Hz • Low gain for low frequencies (0. 1 Hz) • Sensory mechanisms can compensate (optokinetic reflex)
Oculomotor muscles and nerves • Oculomotor nerve (III) – Medial rectus – Superior/Inferior recti – Inferior oblique • Trochlear nerve (IV) – Superior oblique • Abducens nerve (VI) – Lateral rectus
The 3 -Neuron Arc Primary Effects of Canals on Eye Muscles Canal Excites Inhibits Horizontal Ipsi MR, Contra LR Ipsi LR, Contra MR Anterior Ipsi SR, Contra IO Ipsi IR, Contra SO Posterior Ipsi SO, Contra IR Ipsi IO, Contra SR
Robinson’s Model of the VOR
Robinson
4. OKN
Type I Vestib Neuron
Bode Plot of OKN
Bode Plot of VOR
Bode Plot of OKN
5. Saccades
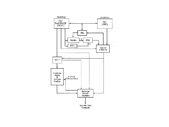
Saccadic system
OPN Stimulation
Brainstem saccadic control • Paramedian pontine reticular formation (PPRF) – – – Burst and omnipause neurons Aim to reduce horizontal motor error Project to directly to lateral rectus motor neurons Projects indirectly to contralateral medial rectus Medial longitudinal fasciculus • Mesencephalic reticular formation – Also influenced by omnipause neurons – Vertical motor error – Projects to superior and inferior rectus motor neurons
Robinson’s Model of the VOR
Lee, Rohrer and Sparks
Jay and Sparks
5. Pursuit
Smooth pursuit • Track movement on part of retina • Two theories – Motor (Robinson) • Retinal slip only provides velocity • Does not capture pursuit onset – Sensory (Lisberger and Krauzlis) • Position, velocity and acceleration
Smooth pursuit system
Smooth pursuit brainstem • Eye velocity for pursuit medial vestibular nucleus and nucleus prepositus hypoglossi – Project to abducens and oculomotor nuclei – Input from flocculus of cerebellum encodes velocity • PPRF also encodes velocity – Input from vermis of cerebellum encodes velocity • Dorsolateral pontine nucleus – Relays inputs from cortex to cerebellum and oculomotor brainstem
Smooth pursuit cortex • Visual motion areas MT and MST – Active in visual processing for pursuit – Stimulation influences pursuit speed – Projects to DLPN and FEF – Does not initiate pursuit • Frontal eye fields – Stimulation initiates pursuit – Lesions diminish pursuit
Jergens
Scudder