Universidade Federal de Juiz de Fora UFJF Instituto











































- Slides: 43
Universidade Federal de Juiz de Fora (UFJF) Instituto de Ciências Exatas Depto. de Química Tópicos em Métodos Espectroquímicos Aula 4 – Espectroscopia de Absorção Atômica Doutoranda: Jemima Gonçalves Pinto da Fonseca Juiz de Fora, 2017
Conceitos • Espectroscopia atômica: empregada na determinação qualitativa e quantitativa de mais de 70 elementos; • Detectar ppm, ppb e concentrações ainda menores; • Primeira etapa = atomização (amostra convertida em átomos ou íons em fase gasosa); • Átomos no estado gasoso não rotacionam nem vibram só transições eletrônicas;
Conceitos
Conceitos • Muitos métodos são empregados para atomizar as amostras para estudos espectroscópicos atômicos; • Chamas (FAES) e atomizadores eletrotérmicos (GF AAS) (espectroscopia de absorção atômica - AAS); • Plasma acoplado indutivamente ou arco/centelha elétrica (ICP OES e ICP MS) – empregado em emissão óptica e espectrometria de massa atômica;
Conceitos
Origens dos espectros ópticos • Os espectros de absorção e emissão constituídos por um número limitado de linhas espectrais. Espectro de linhas Largura de linha: 0, 001 – 0, 01 nm
Espectro de Absorção Atômica Maior afinidade de absorção Espectro parcial de absorção para o vapor de sódio. Transições eletrônicas responsáveis pelas linhas de absorção.
Espectro de Emissão Atômica Transição de ressonância: Transição para o estado fundamental; Linha de ressonância: Linha espectral resultante; Orbitais atômicos p, são divididos em dois níveis energia somente visíveis em espectrômetros de resolução muito alto. Cada uma da linhas aparece como duas: Dubleto. A relaxação fornece um fóton de:
Largura das linhas espectrais atômicas • Largura finita; • Determinada pelas propriedades do espectrômetro; Fatores que contribuem para as larguras das linhas a) Alargamento Natural: Determinado pelo tempo de vida do estado excitado e pelo princípio de incerteza de Heisenberg (tempo de vida 10 -8 s e largura de 10 -5 nm). b) Alargamento por colisão: desativação do estado excitado por colisão. Pressão concentração temperatura (alargamento da ordem de 10 -3 nm); c) Alargamento Doppler: resulta da movimentação rápida dos átomos enquanto estes emitem ou absorvem a radiação. Depende da T. Pode ser o maior contribuinte para as larguras totais das linhas (10 -3 nm);
Efeito Dopler Detector de fótons Observa as frentes de onda mais próximas E destaca a radiação de frequência mais alta radiação Detector de fótons Não observa as frentes de onda mais próximas E destaca a radiação de frequência mais baixa
Dispositivos de atomização • Atomizadores Contínuos: (Plasma e Chama) – amostra introduzida de forma contínua; • Atomizadores Discretos: Amostras introduzidas de forma discreta e com um dispositivo como uma seringa ou auto-amostrador;
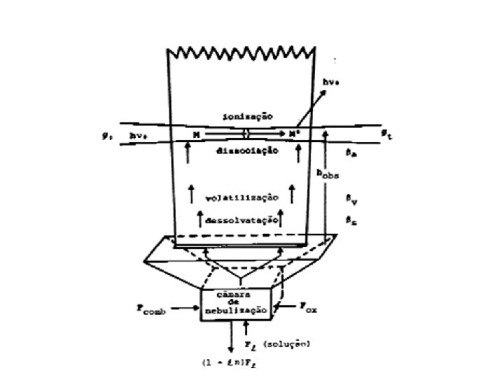
Processos Ocorrendo na Chama/Plasma solução sólido b a M (H 2 O)+, X- a. b. c. d. e. f. gás MXn Dessolvatação Vaporização Atomização Ionização Excitação iônica Excitação MX átomo c - d M h íon f M* M+ e - h M +*
Absorção atômica - Histórico Em 1802, William Hyde Wollaston descobriu riscas escuras no espectro da luz solar. Até 1820, Joseph Von Fraunhofer já havia contado 574 riscas escuras no espectro solar, depois chamadas de riscas de Fraunhofer. Para 324 destas riscas, Fraunhofer indicou com letras maiúsculas as mais fortes e, com minúsculas, as mais fracas, começando por indicar as riscas a partir do vermelho.
Absorção atômica - Histórico - 1955 – Allan Wash propôs utilizar a AAS como técnica de análise química; - Década de 60 primeiros instrumentos comerciais (FAAS); - Década de 70 primeiros instrumentos por GFAAS;
Sistema de Introdução da Amostra Atomização por Chama (FAAS) • Nebulizadores: Introduz a amostra na forma de nuvem de gotículas (aerossol); • Câmara de nebulização: homogeneização dos tamanhos das gotículas • Amostras discretas de soluções são introduzidas para o atomizador; • Amostras sólidas no plasma = vaporização com centelha elétrica/feixe a laser (ablação a laser);
Câmaras de nebulização “Seleção das gotas analiticamente úteis para serem convertidas em átomos e íons” • Remoção das gotas de grande diâmetro • Eficiência de transporte (1 -5 %: gotas < 10 µm diâmetro; 95 % = descarte) • A superfície interna deve ser própria para facilitar o dreno e não apresentar efeito de memória; • Deve ser resistente aos ácidos, bases e reagentes orgânicos. • Deve ser projetado para facilitar o uso, a manutenção e ter durabilidade.
Sistema de Introdução da Amostra • Atomização eletrotérmica (GF AAS): utiliza-se os tubos, sistema manual ou automático;
Propriedades das Chamas • Funções da chama – Converter a amostra em estado de vapor – Decompor a amostra em átomos – Excitar os átomos • Regiões das chamas 1700 -2400 = somente espécies facilmente excitáveis Metais alcalinos e alcalinos terrosos (ar é oxidante); 2500 – 3100 = Metais pesados (oxigênio ou óxido nitroso) é o oxidante; Temperatura da chama determina a eficiência de atomização. Determina o número de átomos não excitados;
Pontos máximo de absorção AAS = fornece meio sensível para determinar de 60 a 70 elementos; Limitação = natureza monoelemntar; Lâmpada diferente para cada elemento; Mg e Ag = aumento inicial, exposição ao calor; Cr = máximo logo acima do queimador; Absorbância versus altura do queimador
• Vantagem da AAS sobre outros métodos é de utilizar átomos no estado fundamental; Na AAS a maioria dos átomos permanece no estado fundamental, ou seja: Susceptível de absorver energia; Linha (nm) Nj/No 2000 K 3000 K Na 9, 9 x 10 -6 5, 9 x 10 -4 Ca 1, 2 x 10 -7 3, 7 x 10 -5 Zn 7, 3 x 10 -15 5, 4 x 10 -10
Fontes de Radiação • Lâmpada de Cátodo Oco: Tungstênio Argônio a pressão de 1 a 5 torr.
Fonte de radiação
Modulação da fonte de radiação • Necessário discriminar a radiação da LCO e a radiação do atomizador; • Efeito da emissão do analito é contornado pela modulação da saída da lâmpada de cátodo oco de forma que sua intensidade flutue; • Detector recebe um sinal alternado da LCO e um sinal contínuo da chama e converte esses sinais em correntes elétricas; • Sistema eletrônico elimina o sinal de cc da chama e passa o sinal de ca da fonte para o amplificador e dispositivo de leitura;
FAAS • Faixa típica de trabalho: mg/L • Problemas FAAS – Baixa eficiência do processo de introdução de amostra (ml/min) – Diluição da nuvem atômica nos gases da chama – Gradientes de temperatura e de composição química na chama – Tempo de residência dos átomos na zona de observação - Análise quantitativa - Precisão (1 - 2 %)
Absorção atômica por Atomização eletrotérmica GF AAS • Fundamento = gerar uma nuvem de átomos densa e em condições controladas (L´vov, 1958). – Nuvem de átomos densa sensibilidade – Condições controladas remoção de interferentes (programa de aquecimento) e temperatura controlada (ambiente isotérmico) • Introdução da amostra não requer sistema de nebulização 100% da amostra é introduzida no atomizador • FAAS ± 5 % de eficiência • Processo de atomização ocorre num tubo de grafite aquecido eletricamente sistema fechado - aumenta o tempo de residência dos átomos no caminho óptico
Absorção atômica por Atomização eletrotérmica GF AAS • Com o uso de atomizadores eletrotérmicos, poucos microlitros da amostra são necessários; • Posteriormente uma série programada de eventos de aquecimento; - Secagem: evaporação do solvente = 110°C; - Pirólise: Matéria orgânica calcinada ou convertida em H 2 O ( 300 - 1200°C); - Atomização: vaporização e atomização da amostra (20003000°C);
Etapas do Forno de Grafite (GF AAS)
Tubos de grafite • Fornos tubulares pequenos e aquecidos eletricamente; • A atomização ocorre em um tubo cilíndrico aberto em suas duas extremidades e que contém um orifío central para a introdução da amostra; • 5 cm de comprimento e diâmetro interno em torno de 1 cm; • Adapta-se a dois contatos elétricos em suas extremidades; • Dois fluxos de ar são providos; • O fluxo externo previne a entrada de ar externo; • A corrente interna flui pelo orifício central carregando para fora os vapores gerados pela amostra;
Interferências nas análises • Interferências do Branco: interferências aditivas que independem do analito; • Interferências do Analito: - Físicas: alteram o processo de aspiração, nebulização, dessolvatação e volatilização. Ex: Viscosidade da solução; - Químicas: específicas a certos analitos. Ocorrem na conversão das partículas em átomos ou íons. - Ionização: Presença de um elemento facilmente ionizável altera um menos ionizado;
Correção do Sinal de Fundo (background) AT = AA total AA = AA analito AF = AA fundo (background)
Correção do Sinal de Fundo (background) • Tipos: – Corretor de deutério (D 2) – Smith-Rieftje – Efeito Zeeman