Claims III Patent Law Prof Merges 10 28













![[6] retrieving the text of said selected one of said books from a computer, [6] retrieving the text of said selected one of said books from a computer,](https://slidetodoc.com/presentation_image/15d47a5d7dc4832cbae13289c1bb25dc/image-14.jpg)
![[10] commanding a computer to reproduce said graphical information on a book cover, and [10] commanding a computer to reproduce said graphical information on a book cover, and](https://slidetodoc.com/presentation_image/15d47a5d7dc4832cbae13289c1bb25dc/image-15.jpg)







![“Customer” … [5] commanding a computer to print the text of a selected one “Customer” … [5] commanding a computer to print the text of a selected one](https://slidetodoc.com/presentation_image/15d47a5d7dc4832cbae13289c1bb25dc/image-23.jpg)



![“Providing Means for a Customer to Visually Review, ” Clause [4] of Claim 8 “Providing Means for a Customer to Visually Review, ” Clause [4] of Claim 8](https://slidetodoc.com/presentation_image/15d47a5d7dc4832cbae13289c1bb25dc/image-27.jpg)









![What does this mean – element-by-element? “subjecting an aqueous solution to ultrafiltration [1] through What does this mean – element-by-element? “subjecting an aqueous solution to ultrafiltration [1] through](https://slidetodoc.com/presentation_image/15d47a5d7dc4832cbae13289c1bb25dc/image-37.jpg)






























![2 nd Point: The 3 -Part Test • P 952 • [1] Unforeseeable equivalents 2 nd Point: The 3 -Part Test • P 952 • [1] Unforeseeable equivalents](https://slidetodoc.com/presentation_image/15d47a5d7dc4832cbae13289c1bb25dc/image-68.jpg)


- Slides: 70
Claims III Patent Law – Prof Merges 10. 28. 2010
Issue Preclusion/Collateral Estoppel – Patent Claims • Is claim interpretation by District Court A binding in separate proceeding with a different party in District Court B? • Answer: sometimes yes. . .
�� The issue must be identical to one decided in the prior litigation; �� The issue must have been actually litigated in the prior suit; �� Resolution of the issue must have been essential to a final judgment in the prior action; and �� The party against whom the earlier decision is asserted must have had a full and fair opportunity to litigate the issue in the prior proceeding.
SJ or Preliminary Injunction Rulings NOT final CVI/Beta Ventures, Inc. v. Tura LP, 112 F. 3 d 1146, 1160 n. 7 (Fed. Cir. 1997)
This is a “one-sided” rule • Under Blonder-Tongue Labs. , Inc. v. Univ. Ill. Fdn. , 402 US 313 (1971) • Patent invalidity is res judicata in subsequent action on same patent
Prosecution History Estoppel • Limit on DOE • What is the “prosecution history”?
On Demand • Post-Phillips claim construction –Role of spec –“Disavowal”
On Demand Mach. Corp. v. Ingram Indus. , Inc. , 442 F. 3 d 1331, 1343 (Fed. Cir. 2006)
8. A method of high speed manufacture of a single copy of a book comprising the steps of: [2] storing the text of a plurality of books in a computer, [3] storing sales information relating to said plurality of books in a computer, [4] providing means for a customer to visually review said sales information, [5] commanding a computer to print the text of a selected one of said books in response to a customer's selection,
[6] retrieving the text of said selected one of said books from a computer, [7] printing the text of said selected one of said books on paper pages, [8] binding said paper pages together to form said selected one of said books, [9] storing graphical information corresponding to the cover of each of said books,
[10] commanding a computer to reproduce said graphical information on a book cover, and [11] binding said paper pages together with said cover therearound.
442 F. 3 d 1331, 1338 – p. 5 The district court then defined “sales information” as “data stored in a computer which is involved in the promoting and selling of a book, ” and that the term is not limited to promotional information, but includes descriptive information as well, such as price.
The defendants argue that the district court construed and instructed the jury on “sales information” too broadly. They argue that the patent specification and prosecution history require that “sales information” always includes information that is promotional in nature, and that the term is not met by the provision of only price and identifying information such as title or ISBN.
“It is therefore an object of the invention to provide a book manufacturing system which is capable of storing data corresponding to the text and color graphical cover of tens of thousands of different books, as well as promotional sales text and color graphics for aiding the consumer in choosing a book for purchase, and facilitate the high speed manufacture of a single copy …. ” -- Ross patent spec.
We agree with the defendants that the prosecution history requires this claim construction, for the inclusion of promotional information was a material distinction from the prior art. Mr. Ross stressed that in his invention a customer can browse among books based on information concerning the substantive content of the book.
The defendants argue that ODMC disavowed this interpretation in order to obtain the patent, and represented to the patent examiner that the inclusion of promotional material is what distinguishes this invention from the prior art.
Disavowal: Rambus Inc. v. Hynix Semiconductor Inc. 569 F. Supp. 2 d 946 (N. D. Cal. 2008) Rambus's references to the specification show that a DRAM, SRAM or ROM may be a memory device, but the specification does not clearly limit the term “memory device” to a single chip. Because the specification does not clearly limit the scope of the invention to a single chip, the court declines to read the phrase “memory device” so narrowly. Accordingly, the court adopts the Manufacturer's construction. A “memory device” is “a device in which information can be stored and retrieved electronically. ” It need not be on a single chip.
The Ross specification repeatedly reinforces its usage of the term “customer” as the retail consumer. . Although we agree with the district court that the Ross invention does not concern itself with whether the “customer” reads the book or obtains it for resale, the focus of the Ross patent is immediate singlecopy printing and binding initiated by the customer and conducted at the customer's site. -- p. 8
“Customer” … [5] commanding a computer to print the text of a selected one of said books in response to a customer's selection,
The Ross specification repeatedly reinforces its usage of the term “customer” as the retail consumer. See col. 7, lines 24 -25 (“All customer actions are conducted within customer console 103”); col. 15, lines 59 -60 (“the customer seats himself or herself in front of computer screen 157” as depicted in Fig. 2); col. 2, lines 8 -12
(“if the consumer wishes to purchase a book, he may either pay for the book through a store clerk. . . or the consumer may enter his credit card into the system”). The specification distinguishes “general purpose machines. . . not specifically designed to be consumer operated for the on demand, automatic manufacturing of a single book at the point of sale. ”
The district court's definition of “customer” cannot eliminate these constraints in order to embrace the remote large-scale production of books for publishers and retailers.
“Providing Means for a Customer to Visually Review, ” Clause [4] of Claim 8 • Includes providing a computer or kiosk to the “customer” • None of the defendants do this • Again, look to the specification
442 F. 3 d 1331, 1340 – p. 7 ODMC argues that the patentee did not disavow the standard dictionary meaning of “customer, ” and that the Ross invention is not limited to any specific kind of customer. However, when the scope of the invention is clearly stated in the specification, and is described as the advantage and distinction of the invention, it is not necessary to disavow explicitly a different scope.
Reading in limitations (bad), vs. interpreting (good) “Means for a customer to visually review” does not include elements in the patent specification, which are referred to as being preferable [but not essential], and thus a customer seat and ambient light are not included.
Disavowal Astrazeneca AB v. Mut. Pharm. Co. , 384 F. 3 d 1333, 1339 -40 (Fed. Cir. 2004): Where the general summary or description of the invention describes a feature of the invention (here, micelles formed by the solubilizer) and criticizes other products (here, other solubilizers, including co-solvents) that lack that same feature, this operates as a clear disavowal of these other products.
From “disavowal” to prosecution history estoppel • Warner-Jenkinson and (most importantly) Festo in the Supreme Court
The Doctrine of Equivalents • Distinguish from “literal infringement” • Distinguish from section 112 par. 6 “means plus function” equivalents: common law doctrine
Warner-Jenkinson arguments in Sup Ct • What did petitioner W-J argue? – DOE Dead – DOE should be narrowed
1952 Act and the DOE • Peripheral claiming • Reissue • PTO role • Sec. 112 Par. 6 – “means plus function” claims – Specific provision implies repeal of general DOE?
Proper Scope of DOE • “Overall equivalent” vs. “element-by-element” analysis • Judge Nies dissent key
What does this mean – element-by-element? • What exactly is an element?
What does this mean – element-by-element? “subjecting an aqueous solution to ultrafiltration [1] through a membrane having a nominal pore diameter of 5 -15 Angstroms [2] under a hydrostatic pressure of approx. 200400 p. s. i. g. [3] at a p. H from approximately 6. 0 to 9. 0”
Hypothetical accused product • Completely new type of “aqueous solution” that promotes separation/purification – Lower hydrostatic pressure needed – Broader p. H range permissible
Some cases said. . . • “As a whole” standard – Accused product might infringe • Other cases/Nies dissent: – No infringement inder DOE here. . .
Prosecution History Estoppel • Limit on DOE • Topic for Festo tomorrow
United States Patent 4, 189, 380 Booth , et al. February 19, 1980 Salt addition in ultrafiltration purification of solutions of polymeric colorants The ultrafiltration purification of aqueous solutions of polymeric colorants, wherein low molecular weight impurities are removed in an ultrafiltrate leaving a purified polymeric colorant-bearing retentate, is carried out with improved efficiency when, during at least two diavolumes of ultrafiltration, the salt content of the retentate is maintained above about 1% by weight. • Inventors: Booth; Robin G. (Palo Alto, CA); Cooper; Anthony R. (Los Altos, CA) Assignee: Dynapol (Palo Alto, CA) Filed: November 18, 1976
Original Claim – Rebhahn Application In a process for the purification of a dye. . . the improvement which comprises: subjecting an aqueous solution to ultrafiltration through a membrane having a nominal pore diameter of 5 -15 Angstroms under a hydrostatic pressure of approx. 200 -400 p. s. i. g. to thereby cause separation of said impurities from said dye. . .
Amendment Added this phrase (claim limitation) to the claim: . . . at a p. H from approximately 6. 0 to 9. 0. . . Booth reference: p. H Above 9. 0
In a process for the purification of a dye. . . the improvement which comprises: subjecting an aqueous solution to ultrafiltration through a membrane having [1] a nominal pore diameter of 5 -15 Angstroms [2] under a hydrostatic pressure of approx. 200 -400 p. s. i. g. [3] at a p. H from approximately 6. 0 to 9. 0, to thereby cause separation of said impurities from said dye. . .
Original Claim Scope
Original Claim Scope Narrowed Scope, after amendment
X Accused product: ultra-purifica -tion at 9. 5 p. H No Infringement under DOE
? ? Accused Product: p. H of 5. 0 – can Hilton-Davis assert infringement under DOE?
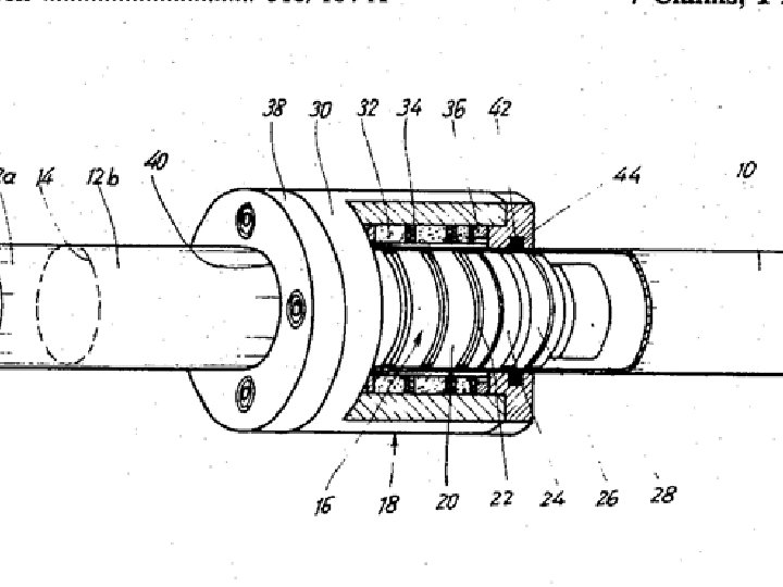
• United States Patent 4, 354, 125 Stoll October 12, 1982 Magnetically coupled arrangement for a driving and a driven member The invention is concerned with a magnetically coupled arrangement for a driving and a driven member, which arrangement is operable by a pressure medium and is used in a conveying system. A slidable piston (16) within a tube (10) has an arrangement of annular magnets (20) provided at each end with sealing and sliding members (24, 26). A driven assembly (18) slidable on the outer surface of the tube (10) has an arrangement of annular magnets (32) corresponding to the magnets (20) and provided at each end with a sliding ring (44). The members (24, 26, 44) prevent ingress of foreign bodies to the magnet locations, and consequently enable the spacing between the magnets and the tube (10) to be very small. A good magnetic coupling is achieved resulting in effective transmission of power. Several pistons (16) abutting one another can be used for conveying heavy loads. Inventors: Stoll; Kurt (Lenzhalde 72, D-7300 Esslingen, DE) Appl. No. : 153999 Filed: May 28, 1980
Prosecution History • Amendments – p. 944 • What limitations did they add? • Why were they made?
Fed Cir opinion • Two aspects – Prosecution history estoppel (PHE) applies to all amendments, whatever the basis – PHE represents a complete bar to all equivalents of amended claim
Federal Circuit opinion • 11 – 1 on amendment rationale issue • 8 -4 on “complete bar” approach
1 st point: “related to patentability” • Enablement estoppel is now a reality • P. 949 – What would a “truly cosmetic” amendment look like?
2 nd Point: The 3 -Part Test • Supreme Court rejects “complete bar”
Original Claim Scope
Original Claim Scope Narrowed Scope, after amendment
Original Claim Scope X Embodiment “X”: Can DOE cover? Narrowed Scope, after amendment
X Embodiment “X”: Can DOE cover? Narrowed Scope, after amendment
“Estoppel” idea • Who is estopped from what? • Why? • Like other legal instances of estoppel concept?
2 nd Point: The 3 -Part Test • P 952 • [1] Unforeseeable equivalents • [2] Amendment bears “tangential relation” to equivalent • [3] “Some other reason” -- expectations
Is the DOE dying? • Allison, John R. and Lemley, Mark A. , "The (Unnoticed) Demise of the Doctrine of Equivalents". Stanford Law Review, Vol. 59, 2007 • The doctrine of equivalents was already near death by the late 1990 s. That became even more true after 2000. Reason: Markman
"On the Decline of the Doctrine of Equivalents" Cardozo Law Review, Vol. 31, No. 4, 2010 Loyola-LA Legal Studies Paper 2010 -25 LEE PETHERBRIDGE, Loyola Law School Los Angeles