Written Description and Novelty Intro to IP Prof


















![“[T]he only discernible purpose for the console is to house the controls. As the “[T]he only discernible purpose for the console is to house the controls. As the](https://slidetodoc.com/presentation_image_h2/e4904dc5571fb76688b990bdcd471704/image-19.jpg)

![“[A]lthough not dispositive, because one can add claims to a pending application directed to “[A]lthough not dispositive, because one can add claims to a pending application directed to](https://slidetodoc.com/presentation_image_h2/e4904dc5571fb76688b990bdcd471704/image-21.jpg)















![Novelty (Anticipation) [§ 102(a)] Versus Statutory Bars [§ 102(b)] • Novelty/Anticipation concerned with NEWNESS Novelty (Anticipation) [§ 102(a)] Versus Statutory Bars [§ 102(b)] • Novelty/Anticipation concerned with NEWNESS](https://slidetodoc.com/presentation_image_h2/e4904dc5571fb76688b990bdcd471704/image-37.jpg)
















- Slides: 53
Written Description and Novelty Intro to IP Prof Merges – 1. 22. 09
The Incandescent Lamp Patent Incandescing conductor Bamboo discovered as an incandescing conductor.
Claims – page 262 1. An incandescing conductor for an electric lamp, of carbonized fibrous or textile material and of an arch or horseshoe shape, substantially as hereinbefore set forth.
Sawyer and Mann Patent Claimed: “All Fibrous and textile material” (6, 000 plus embodiments) Enabled: Carbonized paper, plus?
Enablement Principles The thing you have actually built; “picture claim”
Enablement Principles The limits of what you legally enable The thing you have actually built; “picture claim”
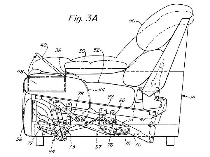
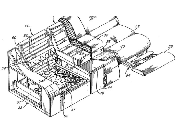
The Written Description Requirement Gentry Gallery, Inc. v. Berkline Corp. , 134 F. 3 d 1473 (Fed. Cir. 1998). Gentry’s Patent: Gentry was granted a patent for a sectional sofa comprised of a pair of reclining seats that faced the same direction. Claim 1, the broadest claim, identifies a “fixed console” between the pair of seats. Claims 9, 10, 1215, and 19 -21 are directed to a sectional sofa in which the control means are specifically located on the console.
US Pat. No. 5, 064, 244
Claim 1 A sectional sofa comprising: a pair of reclining seats disposed in parallel relationship with one another in a double reclining seat sectional sofa section being without an arm at one end. . . , each of said reclining seats having a backrest and seat cushions and movable between upright and reclined positions. . . ,
a fixed console disposed in the double reclining seat sofa section between the pair of reclining seats and with the console and reclining seats together comprising a unitary structure, said console including an armrest portion for each of the reclining seats; said arm rests remaining fixed when the reclining seats move from one to another of their positions,
Claim 1 (cont’d) and a pair of control means, one for each reclining seat; mounted on the double reclining seat sofa section. .
“Object of the invention” language
From the specificiation
Casebook p. 177 “In this case, the original disclosure clearly identifies the console as the only possible location for the controls. It provides for only the most minor variation in the location of the controls, noting that the control “may be mounted on top or side surfaces of the console rather than on the front wall. . . Without departing from this invention. ”
“[T]he only discernible purpose for the console is to house the controls. As the disclosure states, identifying the only purpose relevant to the console, “[a]nother object of the present invention is to provide. . . a console positioned between [the reclining seats] that accommodates the controls for both of the reclining seats. ”
Casebook, p. 177 Thus, locating the controls anywhere but on the console is outside the stated purpose of the invention.
“[A]lthough not dispositive, because one can add claims to a pending application directed to adequately described subject matter, Sproule [the inventor] admitted at trial that he did not consider placing the controls outside the console until he became aware that some of Gentry’s competitors were so locating the recliner controls. ”
“Misappropriation by claim amendment” Merges, Software and Patent Scope: A Report from the Middle Innings, 85 Tex. L. Rev. 1528 (2007).
Enabled?
See discussion n. 1 p. 178 • What is the relationship between enablement and written description?
The Written Description Requirement Scope of enablement vs. scope of that which you have “described” Gentry Gallery, Inc. v. Berkline Corp. , 134 F. 3 d 1473 (Fed. Cir. 1998). Original Claim Language: Gentry was granted a patent for a sectional sofa comprised of a pair of reclining seats that faced the same direction. Claim 1, the broadest claim, identifies a “fixed console” between the pair of seats. Claims 9, 10, 12 -15, and 19 -21 are directed to a sectional sofa in which the control means are specifically located on the console. Prosecution History: The term “console” does not cover a sofa section having a seat back that folds down to serve as a table top. (This was to distinguish Gentry’s sofa from prior art. ) Amended Claim Language: The Federal Circuit limits the scope of the claim to cover sofas in which the recliner control is located on the console and invalidates 12 claims in the patent under § 112. The court affirmed that Berkline had not infringed on Gentry’s patent by constructing reclining chairs separated by a center seat whose back cushion pivoted to form a table.
Gentry Gallery, cont’d Canon 1: Claims should be interpreted such that the preferred embodiment falls within their scope. Gentry Gallery, Inc. v. Berkline Corp. , 134 F. 3 d 1473 (Fed. Cir. 1998). Original Claim Language: Gentry was granted a patent for a sectional sofa comprised of a pair of reclining seats that faced the same direction. Claim 1, the broadest claim, identifies a “fixed console” between the pair of seats. Claims 9, 10, 12 -15, and 19 -21 are directed to a sectional sofa in which the control means are specifically located on the console. Prosecution History: The term “console” does not cover a sofa section having a seat back that folds down to serve as a table top. (This was to distinguish Gentry’s sofa from prior art. ) Amended Claim Language: The Federal Circuit limits the scope of the claim to cover sofas in which the recliner control is located on the console and invalidates 12 claims in the patent under § 112. The court affirmed that Berkline had not infringed on Gentry’s patent by constructing reclining chairs separated by a center seat whose back cushion pivoted to form a table.
Patent Specification Enabled subject matter: everything the inventor teaches to one of skill in the art. Described embodiments of the invention: everything the inventor “adequately describes” to one in the art; everything the inventor shows she is in “possession of” or contemplates as embraced by her invention Specification Enabled Described Claim 1 Original Application Claim 2 Claimed in C-I-P or amended application
Specification Re-filed If the inventor re-files the specification at a later date, she cannot claim what the first filing enabled but failed to describe. Enabled Described Claim 1 Original Application Claim 2
What’s claimable? Dedicated to the Public Competitor Taught by Patent Original Description Competitor Claimable by original inventor
Gentry Gallery v. Berkline Corp. Enabled: 2 reclining seats in a sectional sofa; controls not located on arms of chair Specification for Gentry patent Enabled Described Claim 1 Described: pair of reclining seats in a sectional sofa with a fixed console that houses the control means Claimed: pair of reclining seats in a sectional sofa, a fixed console, and a pair of controls.
Novelty § 102 A person is not entitled to a patent if the invention was: • in the prior art (as defined by § 102 (a), (e), (g)) • barred under § 102 (b), (c), (d)
CLAIM 1: ELEMENTS Rotating handle at end of bar U-shaped bar Cutting element attached to bar Base, with passageway
Sample Publication Cheese Industry Today New Trends in Slicers by J. Smith ________ New innovations ________________various cutting bar shapes: U-shaped, round, and_______ Exciting new cutting elements : stainless steel blades, tightened wire , ______________ attached to the bar. The wire slides into a convenient passageway in the base. For tightened wire designs, tightening can be achieved by rotating the handle.
Cheese Industry Today New Trends in Slicers by J. Smith ________ New innovations ________________various cutting bar shapes: U-shaped, round, and____. _______ Exciting new cutting elements : stainless steel blades, tightened wire , ______________ NO PATENT GRANTED NOVELTY REQUIREMENT NOT MET: attached to the bar. The wire slides into a convenient passageway in the base. For tightened wire designs, tightening can be achieved by rotating the handle. Claim Elements in Publication Rotating handle at end of bar Cutting element attached to bar Base, with passageway U-shaped bar
Sample Publication: Revised Cheese Industry Today New Trends in Slicers by J. Smith ________ New innovations ________________various cutting bar shapes: U-shaped, round, and_______ Exciting new cutting elements : stainless steel blades, tightened wire , ______________ attached to the bar. The wire slides into a convenient passageway in the base.
Invention Compared with Prior Art Rotating handle Cutting element Base, with U-shaped at end of bar attached to bar passageway bar Smith Article Jones Patent Adams Slicer X X X X INVENTION NOVELTY REQT MET: NOT ANTICIPATED PATENT GRANTED
Novelty (Anticipation) [§ 102(a)] Versus Statutory Bars [§ 102(b)] • Novelty/Anticipation concerned with NEWNESS – is it original to the patent applicant/patentee? • Statutory Bars concerned with TIMELINESS – did the inventor file soon enough?
Critical Concept: the “Critical Date” The Invention Date
Critical Concept: the “Critical Date” The Prior Art The Invention Date
Earlier Invention, Earlier “Critical Date, ” LESS PRIOR ART The Prior Art The Invention Date
Novelty Critical Date Example Conception: Summer 1886 Reduction to practice: 7/12/1886 Filed: 6/7/1889 Unpacking the “invention date”
Rosaire v. Baroid
Palestine, Texas
Horvitz publications Horvitz, L. , 1939. On Geochemical Prospecting. Geophysics, V. 4, No. 3, pp. 210 -228. Horvitz, L. , 1945. Recent Developments in Geochemical Prospecting for Petroleum. Geophysics, V. 10, pp. 487 -493. Horvitz, L. , 1950. Chemical Methods. In: J. J. Jakosky (Editor), Exploration Geophysics (2 d ed. ). Trija Publishing, Los Angeles, pp. 938 -965. Horvitz, L. , 1969. Hydrocarbon Geochemical Prospecting After Thirty Years. Horvitz, L. , 1972. Vegetation and Geochemical Prospecting for Petroleum. AAPG Bull. , V. 56, pp. 925 -940. Horvitz, L. , 1985. Near-surface Hydrocarbons and Nonhydrocarbon Gases in Petroleum Exploration. Presented at: Asso. Petrol. Geochem. Explor. AAPG Rocky Mountain Section, Denver, Colo. , June, 1985.
Rosaire v Baroid Section 102(a): A person shall be entitled to a patent unless – (a) The invention was known or used by others in this country, or patented or described in a printed publication in this or a foreign country, before the invention thereof by the applicant for patent.
(a) The invention was known or used by others in this country - Note the national limitation here - What does it mean to be “known or used”? - Why was Teplitz team’s use not enough by itself to anticipate?
Rosaire (cont’d) • Rosaire’s argument – – Top of p. 404 • Court’s response --
Rosaire v Baroid With respect to the argument advanced by appellant that the lack of publication of Teplitz's work deprived an alleged infringer of the defense of prior use, we find no case which constrains us to hold that where such work was done openly and in the ordinary course of the activities of the employer, a large producing company in the oil industry, the statute is to be so modified by construction as to require some affirmative act to bring the work to the attention of the public at large.
In re Hall • Section 102(b) case – But: same standard for “publication” under 102(a) and 102(b) – See Rosaire case • Reissue patent application – “Protest” during reissue
Foldi Thesis -- Freiburg
Freiburg
Evidence of “publicness” • Index cataloguing • Open to public