Written Description Prof Merges 9 13 2011 Gentry















![“[T]he only discernible purpose for the console is to house the controls. As the “[T]he only discernible purpose for the console is to house the controls. As the](https://slidetodoc.com/presentation_image/6476d3453ce3ab91ed970d1c42fac78b/image-16.jpg)

![“[A]lthough not dispositive, because one can add claims to a pending application directed to “[A]lthough not dispositive, because one can add claims to a pending application directed to](https://slidetodoc.com/presentation_image/6476d3453ce3ab91ed970d1c42fac78b/image-18.jpg)

















![Ariad’s reading of 112: The specification shall contain [A] a written description [i] of Ariad’s reading of 112: The specification shall contain [A] a written description [i] of](https://slidetodoc.com/presentation_image/6476d3453ce3ab91ed970d1c42fac78b/image-36.jpg)






- Slides: 42
Written Description Prof. Merges 9. 13. 2011
Gentry Gallery & Ariad • Written description: re-emergence, growth in 1990 s • Challenges • Resolution: Ariad, 2010
Gentry Gallery • Facts: Invention • Doctrine – How does written description differ from enablement?
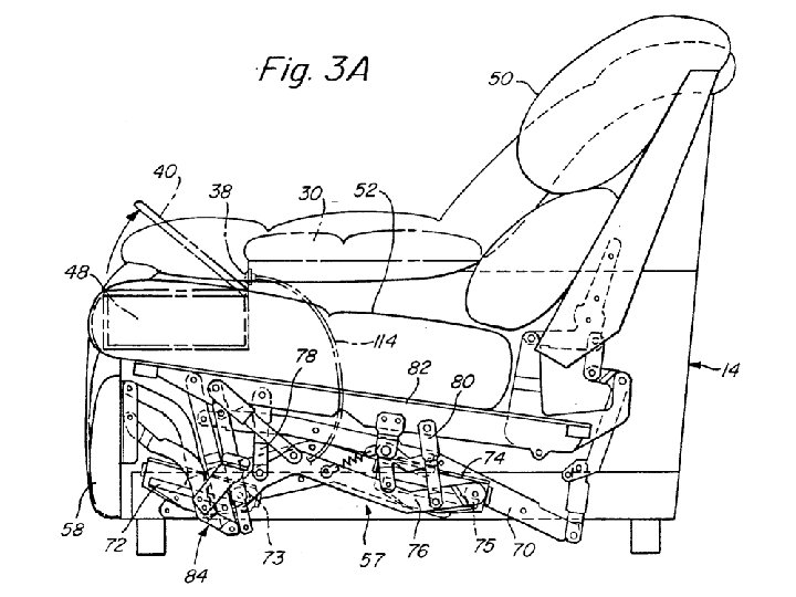
The Written Description Requirement Gentry Gallery, Inc. v. Berkline Corp. , 134 F. 3 d 1473 (Fed. Cir. 1998). Gentry’s Patent: Gentry was granted a patent for a sectional sofa comprised of a pair of reclining seats that faced the same direction. Claim 1, the broadest claim, identifies a “fixed console” between the pair of seats. Claims 9, 10, 1215, and 19 -21 are directed to a sectional sofa in which the control means are specifically located on the console.
US Pat. No. 5, 064, 244
Claim 1 A sectional sofa comprising: a pair of reclining seats disposed in parallel relationship with one another in a double reclining seat sectional sofa section being without an arm at one end. . . , each of said reclining seats having a backrest and seat cushions and movable between upright and reclined positions. . . ,
a fixed console disposed in the double reclining seat sofa section between the pair of reclining seats and with the console and reclining seats together comprising a unitary structure, said console including an armrest portion for each of the reclining seats; said arm rests remaining fixed when the reclining seats move from one to another of their positions,
Claim 1 (cont’d) and a pair of control means, one for each reclining seat; mounted on the double reclining seat sofa section. .
“Object of the invention” language
From the specificiation
Casebook p. 177 “In this case, the original disclosure clearly identifies the console as the only possible location for the controls. It provides for only the most minor variation in the location of the controls, noting that the control “may be mounted on top or side surfaces of the console rather than on the front wall. . . Without departing from this invention. ”
“[T]he only discernible purpose for the console is to house the controls. As the disclosure states, identifying the only purpose relevant to the console, “[a]nother object of the present invention is to provide. . . a console positioned between [the reclining seats] that accommodates the controls for both of the reclining seats. ”
Casebook, p. 177 Thus, locating the controls anywhere but on the console is outside the stated purpose of the invention.
“[A]lthough not dispositive, because one can add claims to a pending application directed to adequately described subject matter, Sproule [the inventor] admitted at trial that he did not consider placing the controls outside the console until he became aware that some of Gentry’s competitors were so locating the recliner controls. ”
“Misappropriation by claim amendment” Merges, Software and Patent Scope: A Report from the Middle Innings, 85 Tex. L. Rev. 1528 (2007).
Enabled?
See discussion n. 1 p. 178 • What is the relationship between enablement and written description?
Patent Specification Enabled subject matter: everything the inventor teaches to one of skill in the art. Described embodiments of the invention: everything the inventor “adequately describes” to one in the art; everything the inventor shows she is in “possession of” or contemplates as embraced by her invention Specification Enabled Described Claim 1 Original Application Claim 2 Claimed in C-I-P or amended application
Specification Re-filed If the inventor re-files the specification at a later date, she cannot claim what the first filing enabled but failed to describe. Enabled Described Claim 1 Original Application Claim 2
What’s claimable? Dedicated to the Public Competitor Taught by Patent Original Description Competitor Claimable by original inventor
Gentry Gallery v. Berkline Corp. Enabled: 2 reclining seats in a sectional sofa; controls not located on arms of chair Specification for Gentry patent Enabled Described Claim 1 Described: pair of reclining seats in a sectional sofa with a fixed console that houses the control means Claimed: pair of reclining seats in a sectional sofa, a fixed console, and a pair of controls.
Signs of Resistance I • Rader, J. , in Moba v. Diamond Automation, 325 F. 3 d 1306, 1322 (Fed. Cir. 2003): – “By making written description a free-standing disclosure doctrine, this court produces numerous unintended and deleterious consequences. ”
Signs of Resistance II Follows a similar criticism in Enzo Biochem, Inc. v. Gen-Probe, Inc. , 323 F. 3 d 956, 976 (Fed. Cir. 2002) (Rader, J. , dissenting from denial of rehearing en banc)
Who is Judge Rader’s Audience? • The Supreme Court? • Signs of re-engagement with patent law, 1995 (Markman) -2003 (Festo) • But of course, only a limited patent diet – Disappointment over Madey v. Duke Univ.
A Normative Interlude • What’s wrong with the Written Description requirement? – Diversion of R&D resources. . .
Calling the question: Ariad • Chosen as the vehicle to test Federal Circuit commitment to a separate written description doctrine
Ariad: background • NF-k. B: gene expression stimulator • Researchers discovered its structure and how to block its effects
80. [A method for modifying effects of external influences on a eukaryotic cell, which external influences induce NF-k. B-mediated intracellular signaling, the method comprising altering NF-k. B activity in the cells such that NF-k. B-mediated effects of external influences are modified, wherein NF-êB activity in the cell is reduced] wherein reducing NF-k. B activity comprises reducing binding of NF-k. B to NF-k. B recognition sites on genes which are transcriptionally regulated by NF-k. B.
The claims are thus genus claims, encompassing the use of all substances that achieve the desired result of reducing the binding of NF-k. B to NF-k. B recognition sites. Furthermore, the claims, although amended during prosecution, use language that corresponds to language present in the priority application. . The specification also hypothesizes three types of molecules with the potential to reduce NF-k. B activity in cells: decoy, dominantly interfering, and specific inhibitor molecules. -- Book supp. P. 61
Ariad’s reading of 112: The specification shall contain [A] a written description [i] of the invention, and [ii] of the manner and process of making and using it, • [B] in such full, clear, concise, and exact terms as to enable any person skilled in the art to which it pertains, or with which it is most nearly connected, to make and use the same. . . • •
Lilly’s reading (1) “The specification shall contain a written description of the invention, and ” (2) “The specification shall contain a written description. . . of the manner and process of making and using it, in such full, clear, concise, and exact terms as to enable any person skilled in the art to which it pertains, or with which it is most nearly connected, to make and use the same, and ”. .
We agree with Lilly and read the statute to give effect to its language that the specification “shall contain a written description of the invention” and hold that § 112, first paragraph, contains two separate description requirements: a “written description [i] of the invention, and [ii] of the manner and process of making and using [the invention”]. 35 U. S. C. § 112, ¶ 1 … -- Casebook supp at 64
What is the requirement? “possession as shown in the disclosure” is a more complete formulation. Yet whatever the specific articulation, the test requires an objective inquiry into the four corners of the specification from the perspective of a person of ordinary skill in the art. Based on that inquiry, the specification must describe an invention understandable to that skilled artisan and show that the inventor actually invented the invention claimed.
For example, a generic claim may define the boundaries of a vast genus of chemical compounds, and yet the question may still remain whether the specification, including original claim language, demonstrates that the applicant has invented species sufficient to support a claim to a genus.
although written description and enablement often rise and fall together, requiring a written description of the invention plays a vital role in curtailing claims that do not require undue experimentation to make and use, and thus satisfy enablement, but that have not been invented, and thus cannot be described. For example, a propyl or butyl compound may be made by a process analogous to a disclosed methyl compound, but, in the absence of a statement that the inventor invented propyl and butyl compounds, such compounds have not been described and are not entitled to a patent.
See In re Di. Leone, 58 C. C. P. A. 925, 436 F. 2 d 1404, 1405 n. 1 (1971) (“[C]onsider the case where the specification discusses only compound A and contains no broadening language of any kind. This might very well enable one skilled in the art to make and use compounds B and C; yet the class consisting of A, B and C has not been described. ”).