Mixing in Cold water Domes and at Sills

























- Slides: 25
Mixing in Cold water Domes and at Sills Alan M. Davies and Jiuxing Xing Proudman Oceanographic Laboratory, Liverpool, UK
Dome Problem • Wind forced internal waves in cold water bottom dome. • Mixing within thermocline. Internal mixing. • Role of Vorticity at dome front in producing internal wave • Role of wind forcing frequency. Super and Sub- inertial features
Non-Linear effects on Inertial Oscillations • Unbounded Ocean Eqts • Effect of external shear is to change Amp. + Freq. of I. O. • Frontal Shear Changes I. O. amp. /Freq at depth so conv/divg. Gives internal wave at level of thermocline. • Freq. int. wave above inertial propogates away , if below trapped
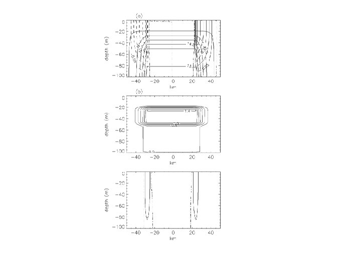
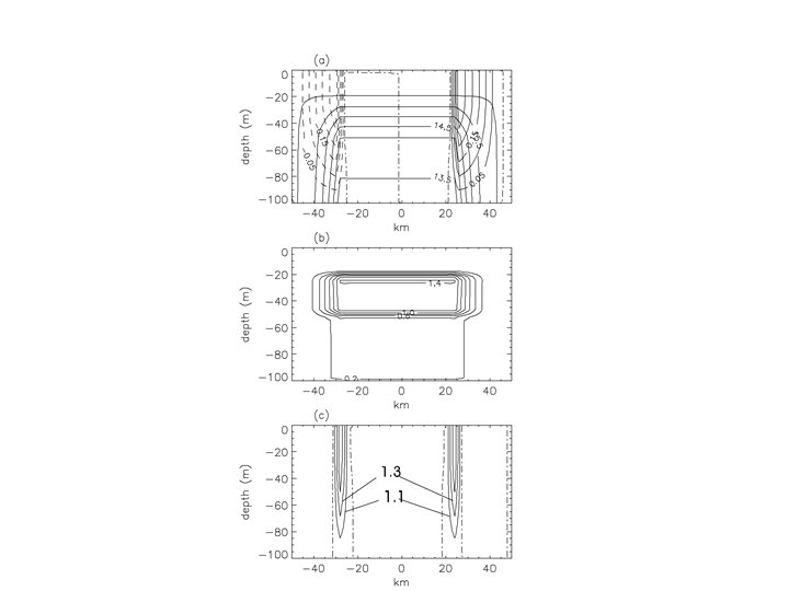
Super-inertial wind forcing
• Wavelength λf from Dispersion Relation • ωf = forcing frequency • So λf/Leff gives nodal structure where Leff is “effective length” of dome
Sub-inertial wind forcing
CONCLUSIONS • 1. Non-linear effects associated with along frontal flows produce near-inertial internal waves in presence of wind forcing • 2. Super-inertial internal waves propagate away from generation region (front) • 3. Sub-inertial are trapped and enhance mixing in frontal region • 4. In a cold water bottom dome, super-inertial internal waves are trapped as standing waves, can modify GM spectrum • 5. Response in centre of dome different from 1 D model, must account for internal wave • 6. Sub-inertial wave confined to front, and response in centre of dome as in 1 D model
TIDAL MIXING AT SILLS • • • Idealized Loch Etive Recent measurements Inall et al Non-hydrostatic model High resolution Idealized M 2 forcing + idealized T profile Example of internal mixing of tidal origin
Initial Conditions
Influence of small scale topog. • Lee wave characteristics influenced by • Buoyancy frequency • Velocity over sill…. . Froude Number • Fourier transform of topog. • So How small scale effect mixing ? ? ?
CONCLUSIONS…. . Sill • • Internal tide little mixing Lee Wave not advected back over sill Lee Wave major source of mixing Lee wave distribution influenced by nonhydro. nature of model • Lee wave spectrum/mixing influenced by small scale topog. + Horizontal Visc. • Assumptions in b. b. l. also infulence lee wave hence mixing
Future • Role surface stratification / fresh water , wind mixing • Detailed distribution of Topog. • Sill b. b. l effects • Lateral + across sill form drag • Horizontal + Vertical tke schemes (LES) • Role non-linearity (u du/dx ) Internal tides vz. Lee waves control on mixing
Model Skill Assessment • Model Validation in highly variable undersampled domain. • Spectral Decompostion. . Hans van Haren • Detailed measurement critical small scale topog. and stratification. • Tidal corrected dissipation rates and mixing + filtered lee wave advection effects • Role of lab. Expts + upscale.