10 Superconductivity Experimental Survey Theoretical Survey Occurrence of








































- Slides: 40
10. Superconductivity • Experimental Survey – – – – • Theoretical Survey – – – – • Occurrence of Superconductivity Destruction of Superconductivity by Magnetic Fields Meisner Effect Heat Capacity Energy Gap Microwave and Infrared Properties Isotope Effect Thermodynamics of the Superconducting Transition London Equation Coherence Length BCS Theory of Superconductivity BCS Ground State Flux Quantization in a Superconducting Ring Duration of Persistent Currents Type II Superconductors Vortex State Elimination of Hc 1 and Hc 2 Single Particle Tunneling Josephson Superconductor Tunneling DC Josephson Effect AC Josephon Effect Macroscopic Quantum Interference High-Temperature Superconductors
K. Onnes (1911) : ρ → 0 as T → TC
Experimental Survey 1. ρ → 0 for T < TC. Persistent current in ring lasts > 1 yr. 2. NMR: supercurrent decay time > 105 yrs. 3. Meissner effect: superconductor = perfect diamagnet. Normal state Super. C state 4. BCS theory: Cooper pairs (k , –k ). See App. H & I.
Occurrence of Superconductivity Occurrence: Metallic elements, alloys, intermetallic compounds, doped semiconductors, organic metals, … Range of TC : 90 K for YBa 2 Cu 3 O 7. . 001 K for Rh. Si: TC = 8. 3 K at P = 165 Kbar
Destruction of Superconductivity by Magnetic Fields Magnetic field destroys superconductivity. in CGS units Magnetic impurities lower TC : 10– 4 Fe destroys super. C of Mo (TC = 0. 92 K ). 1% Gd lowers TC of La from 5. 6 K to 0. 6 K. Non-magnetic impurities do not affect TC.
Meissner Effect B = 0 inside super. C Normal state Super. C state For a long thin specimen with long axis // Ha, H is the same inside & outside the specimen (depolarizing field ~ 0) → Caution: A perfect conductor (ρ = 0) may not exhibit Meissner effect. Ohm’s law → → (B is frozen, not expelled. ) Also, a perfect conductor cannot maintain a permanent eddy current screen → B penetrates ~1 cm/hr.
Most elements Alloys / Transition metals with high ρ. ρ = 0 but B 0 in vortex state.
HC 2 ~ 41 T for Nb 3(Al 0. 7 Ge 0. 3). HC 2 ~ 54 T for Pb. Mo 6 S 8. Commercial superconducting magnets of ~1 T are readily available.
Heat Capacity → super. C state is more ordered ΔS ~ 10– 4 k. B per atom → only 10– 4 e’s participate in transition. Al →
→ energy gap
Energy Gap Comparison with optical & tunneling measurements → not For Ha = 0, n-s transition is 2 nd order ( no latent heat, discontinuity in Ce , Eg → 0 at TC ).
Microwave and Infrared Properties EM waves are mostly reflected due to impedance mismatch at metal-vacuum boundary. They can penetrate about ~20 A into the metal. Photons with ω < Eg are not absorbed → surface penetration is greater in super. C than in normal state. For T << TC , ρs = 0 for ω < Eg. ρs ρn for ω > Eg. (sharp threshold at Eg) For T TC , ρs 0 for all ω 0 ( screening of E incomplete due to finite inertia of e )
Isotope Effect Isotope effect: → e-phonon interaction involved in super. C. Original BCS: → Deviation from α = ½ can be caused by coulomb interaction between e’s. Absence of isotope effect due to band structure.
Theoretical Survey l l l l Thermodynamics of the Superconducting Transition London Equation Coherence Length BCS Theory of Superconductivity BCS Ground State Flux Quantization in a Superconducting Ring Duration of Persistent Currents Type II Superconductors Vortex State Estimation of Hc 1 and Hc 2 Single Particle Tunneling Josephson Superconductor Tunneling DC Josephson Effect AC Josephon Effect Macroscopic Quantum Interference Thermodynamics Considerations • Phenomenological Models • Quantum Theory •
Thermodynamics of the Superconducting Type I super. C: → no latent heat ( 2 nd order transition) (continuous transition)
London Equation London model: in London gauge: → → → London equation λL = London penetration length see flux quantization • Meissner effect not complete in thin enough films. • HC of thin films in parallel fields can be very high.
Coherence Length Coherence length ξ ~ distance over which n. S remains relatively uniform. See Landau-Ginzburg theory, App I. , for exact definition. Local properties = Average of non-local properties over regions ~ ξ. Minimum thickness of normal-super. C interface ~ ξ. Spatial variation of ψ increases K. E. → High spatial variation of ψS can destroy super. C. Let → for q << k
→ Critical modulation for destroying super. C is Intrinsic coherence length: see Table 5 ξ in impure material is smaller than ξ 0. (built-in modulation) see Tinkham, p. 7 & 113. ξ & λ depend on normal state mfp l. Pure sample: → Dirty sample: → ξ 0 = 10 λL Type II
BCS Theory of Superconductivity BCS = Bardeen, Cooper, Schrieffer BCS wavefunction = Cooper pairs of electrons k and –k (s-wave pairing) Features & accomplishments of BCS theory : • Attractive e-e interaction –U → Eg between ground & excited states. • Eg dictates HC , thermal & EM properties. • –U is due to effective e-ph-e interaction. • λ , ξ , London eq. (for slowly varying B ), Meissner effect, … • Quantization of magnetic flux involves unit of charge 2 e. U D(εF) << 1 : θ = Debye temperature Higher ρ → Higher TC (worse conductor → better super. C)
BCS Ground State T=0 Cooper pair: 1 -e occupancy with Teff = TC Super state: Normal state Cooper pair mixes e’s from below & above εF but Cooper pair: ( k , –k ) → spin = 0 (boson) due to –U. see App. H
Flux Quantization in a Superconducting Ring Energy intensity for large number of photons: → Let ψ(r) be the super state wave function. Particle density n = ψ*ψ n = constant → Velocity operator: Particle flux: Electric current density: London eq. with
Meissner effect: B = j = 0 inside super. C → ψ measurable → ψ single-valued → Δ=2πs s Z Flux quantization q = – 2 e → = fluxoid or fluxon Flux through ring : Φext not quantized → Φsc must adjust see Tinkham, p. 121, for a derivation via Sommerfeld quantization rule
Duration of Persistent Currents Thermal fluctuation : super. C → normal : fluxoid escapes from ring Transition rate W = ( attempt freq ) ( Boltzmann factor for activation barrier ) Boltzmann factor for activation barrier = exp( −β ΔF ) Free energy of barrier = ΔF = (minimum volume) (excess free energy density of normal state) minimum volume R ξ 2. R = wire thickness excess free energy density of normal state = HC 2 / 8 π. R = 10− 4 cm, ξ = 10− 4 cm, HC = 103 G, gives ΔF 10− 7 erg. Note: estimate is good for T = 0 to 0. 8 TC while ΔF → 0 as T → TC− β 10− 15 erg at T = 10 K → Attempt freq Eg / 10− 15 / 10− 27 1012 s− 1 Age of universe ~ 1018 s Exceptions: Near TC or in Type II materials.
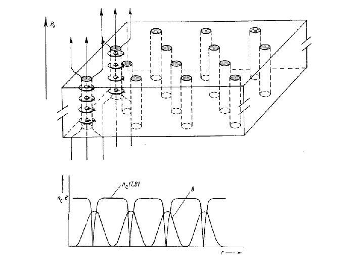
Type II Superconductors Ha < HC 1 B=0 HC 1 < Ha < HC 2 B 0 fluxoid penetration HC 2 < Ha M=0 Type II ξ > λ 2 ξ < λ 2 Electronic structure not much affected
Normal-Super Conductor Interface Lowering of energy due to field penetration Increase of energy due to destruction of Cooper pairs: Normal: Bulk super. C: Interface energy at H = HC Ref: W. Buckel, “Superconductivity ”
HC 2 for Nb 3 Sn ~ 100 k. G. Type II surface energy > 0 surface energy < 0 Thin films with H normal to surface Type I: Intermediate state Type II: Vortex state Fluxoid penetration reduces increase of energy due to flux repulsion.
Vortex State Meissner effect starts breaking down when a normal core can be substained. Normal core radius is always ξ ; otherwise it’ll be bridged by surrounding ψS. Fluxoids well separated: fluxoid radius λ = Field for nucleation of single fluxoid Closed-packed fluxoids: fluxoid radius ξ Type II: κ > 1 → λ > ξ → HC 1 < HC 2 Vortex state allowed. Type I: κ < 1 → λ < ξ → HC 1 > HC 2 Super. C destroyed before fluxoid allowable → no vortex state.
Flux lattice in Nb. Se 2 at 1000 G & 0. 2 K. STM showing DOS at εF. EN – ES = Stabilization energy → Decrease of E for allowing H penetration: Total core energy wrt super-state Threshold for stable fluxoid: f = 0 at Ba = HC 1. → →
Single Particle Tunneling 2 metals I and II separated by insulator C. TC Glass + In contact + Al strip 1 mm wide 2000 A thick + Al 2 O 3 20 -30 A: S. P. T. 10 A: J. T. Al 1. 14 K Sn 3. 72 K + Sn strip Direct measurement of J. T. requires double junctions. See W. Buckel, “Superconductivity”, p. 85.
I, II both normal: line 1
T 0 I normal, II super: T = 0, line 2 T 0, line 3
I , II both super: T 0
Josephson Superconductor Tunneling • DC Josephson effect: DC current when E = B = 0 • AC Josephson effect: rf oscillation for DC V. • Macroscopic long-range quantum interference: B across 2 junctions → interference effects on IS
DC Josephson Effect T = transfer frequency → Real parts: → Imaginary parts: → n 1 n 2 → DC current up to i. C while V = 0.
AC Josephson Effect V across junction: Real parts: Imaginary parts: → AC current with for V = 1 μV Precision measure of e/
Macroscopic Quantum Interference Around closed loop enclosing flux Φ: For B = 0, For B 0, or periodicity = 39. 5 m. G Imax = 1 m. A zero offset due to background B Junction area = 3 mm 0. 5 mm periodicity = 16 m. G Imax = 0. 5 m. A Prob 6
High-Temperature Superconductors TC ceiling for intermetallic compounds = 23 K.