Gestin de los recursos informticos Unidad N 1













































- Slides: 45
Gestión de los recursos informáticos Unidad Nº 1: Introducción y proceso de la administración estratégica
Planificación de acción o funcional
¿Qué es la planificación de acción? • Es el proceso que guía las actividades diarias de una organización o proyecto y determina sus necesidades, cuándo deben realizarse, quién debe hacerlas y qué recursos o aportaciones se necesitan.
• Corresponde al proceso de poner en práctica los objetivos estratégicos; por eso, también se llama planificación funcional. Cuando se presenta un plan de acción o un plan funcional como la base para una propuesta de recaudación de fondos o para la petición de un préstamo o para que otros compren, en un proceso o proyecto se suele hablar de «planes de negocios»
La mayoría de los planes de acción consisten en los siguientes elementos: • Una declaración de lo que se debe lograr (la producción o los resultados que surgen del proceso de planificación estratégica). • Una explicación detallada de los pasos a seguir para lograr este objetivo. • Algún tipo de horario para fijar cuándo se tiene que realizar y cuánto tiempo es necesario (cuándo). • Una aclaración de quién será el responsable de asegurarse de que se complete correctamente cada paso (quién); • Una aclaración de las aportaciones/recursos necesarios.
• Planificar significa que los ejecutivos estudian anticipadamente sus objetivos y acciones, y sustentan sus actos no en corazonadas sino con algún método, plan o lógica.
• Los planes establecen los objetivos de la organización y definen los procedimientos adecuados para alcanzarlos. Además los planes son la guía para que (1) la organización obtenga y aplique los recursos para lograr los objetivos; (2) los miembros de la organización desempeñen actividades y tomen decisiones congruentes con los objetivos y procedimientos escogidos, ya que enfoca la atención de los empleados sobre los objetivos que generan resultados (3) pueda controlarse el logro de los objetivos organizacionales. Asimismo, ayuda a fijar prioridades, permite concentrarse en las fortalezas de la organización, ayuda a tratar los problemas de cambios en el entorno externo, entre otros aspectos.
• Por otro lado, existen varias fuerzas que pueden afectar a la planificación: los eventos inesperados, la resistencia psicológica al cambio ya que ésta acelera el cambio y la inquietud, la existencia de insuficiente información, la falta de habilidad en la utilización de los métodos de planificación, los elevados gastos que implica, entre otros.
• Se necesita realizar una planificación de acción como una extensión del proceso de planificación estratégica. Pero también se necesita hacerlo de forma regular entre los procesos de planificación estratégica y los resúmenes. • La planificación de acción es algo que se hace cuando “se sabe lo que se quiere conseguir” y, en consecuencia, se necesita un plan para explicar detalladamente las actividades necesarias para conseguirlo.
• Puede que sea necesario realizar un plan para un taller en particular o planificar el trabajo de un departamento para los próximos tres meses; o bien, elaborar un plan de acción global de un proyecto y organización para un año. • Normalmente no es una buena idea realizar una planificación de acción detallada para más de un año. Los cambios en contexto, estrategia o razonamientos deben necesitar cambios a largo plazo.
Grupos Estratégicos
• El concepto de grupo estratégico, puede ser definido como el de subconjunto de firmas dentro de una industria que persiguen similar orientación estratégica. Dicha orientación estratégica se implementa sobre la base de un conjunto de características comunes y propias a las firmas dentro de cada grupo. En consecuencia, debiese existir cierta homogeneidad entre las firmas de un mismo grupo, y por el contrario, heterogeneidad entre las firmas de distintos grupos.
• Los grupos estratégicos se producen por varias razones: diferentes fuerzas y debilidades de las empresas al inicio de las operaciones, distintas fechas de ingreso en el negocio (y, por tanto, dispar sensibilidad a las barreras de entrada, configuración de la competencia distinta, etc. ) y accidentes históricos varios. • El hecho es que, una vez se han constituido aquéllos, entre las empresas que forman el mismo grupo se percibe un notable parecido, y no sólo en aspectos estratégicos generales: tienden a poseer participaciones similares en el mercado, a ser afectadas y responder de igual manera a los acontecimientos exteriores, etc.
• Una importante consecuencia a extraer de lo anterior será, entonces, que la rentabilidad de una empresa y, por tanto, su nivel de Resultados, está en relación directa con el grupo competitivo en el que se encuentre
• Porter define el grupo estratégico de la siguiente manera: “conjunto de empresas en un sector industrial que siguen una misma o similar estrategia a lo largo de las dimensiones estratégicas” Porter (1987). Sus dimensiones estratégicas son, entre otras: especialización, identificación de marca, selección del canal, calidad del producto, liderazgo tecnológico, política de precios, relaciones con la casa matriz, etc. Entre las distintas dimensiones estratégicas Porter destaca las “relaciones con la casa matriz”, es decir, el efecto que sobre la empresa tiene su pertenencia a un Grupo de Empresas.
Ventajas competitivas Una compañía tiene ventaja competitiva cuando cuenta con una mejor posición que los rivales para asegurar a los clientes y defenderse contra las fuerzas Competitivas. Fuentes de ventajas competitivas: • • • elaboración del producto con la más alta calidad. proporcionar un servicio superior a os clientes. lograr menores costos en los rivales. tener una mejor ubicación geográfica. diseñar un producto que tenga un mejor rendimiento que las marcas de la competencia.
¿Qué hacen las empresas cuando carecen de ventajas comparativas para poder competir?
• ¡Desarrollan ventajas competitivas! Estas, a diferencias de las comparativas, se basan en capacidades creadas, en formas innovadoras de explotar tecnologías, conocimientos, información, espíritu innovador, materiales modernos.
La competitividad implica tres aspectos claves: • La racionalidad económica para que los recursos de la empresa se gestionen bajo criterios económicos, para alcanzar una gran productividad. • Capacidad de coordinación y adecuación con el entorno ya que la empresa tiene que responder de manera rápida y flexible a sus mercados, sino puede ser desplazada por otros competidores. • Capacidad de dirección y organización para conseguir elevar la eficiencia de la empresa.
• Una ventaja competitiva nos facilitará la penetración en el mercado y nos colocará en una posición privilegiada en el mercado, por lo tanto estaremos en la mirada de todos los consumidores.
• Para que una ventaja competitiva tenga un mayor grado de efectividad y un mayor grado de éxito se necesitará que la ventaja competitiva sea también sostenible, es decir, que la empresa la mantenga durante un cierto tiempo. Además cuando una empresa consigue una ventaja competitiva no se puede confiar, ya que hay que estar constantemente en estado de alerta ya que pueden surgir nuevos cambios sobre todo con la implantación de las nuevas tecnologías, hay que estar en constante renovación.
• Así, Para que una empresa consiga obtener una ventaja competitiva debe de realizar un esfuerzo constante y durante mucho tiempo, debe de tener una gran planificación a medio y a largo plazo, y esta búsqueda debe de integrar a todos los trabajadores de una empresa, esto facilitará encontrar una ventaja competitiva.
Las cinco fuerzas competitivas de Porter y la cadena del valor
• Conceptos introducidos por el profesor de Harvard Michael Porter en 1985. La cadena de valor es la herramienta básica y sistemática de examinar todas las actividades que una empresa desempeña y cómo interactúan. , para analizar las fuentes de su ventaja competitiva.
• La cadena de valor disgrega a la empresa en sus actividades estratégicas relevantes para comprender el comportamiento de los costos y las fuentes de diferenciación existentes y potenciales. • Cualquier empresa, desde que diseña el producto hasta que lo vende va pasando por fases, —diseño, fabricación, marketing, etc. — en las que el producto adquiere un nuevo valor que justifica que un usuario esté dispuesto a pagar un precio, producto de esas fases.
• La cadena de valor de una empresa está incrustada en un campo más grande de actividades llamado sistema de valor. El obtener y el mantener la ventaja competitiva depende de no solo comprender la cadena de valor de una empresa, sino cómo encaja la empresa en el sistema de valor general.
• La cadena de valor refleja una serie de actividades estratégicas de la empresa que denominamos procesos de negocio y es donde podemos diferenciarnos de la competencia creando una serie de valores que nos hagan destacar. Lógicamente estos procesos de negocio se asientan sobre unos procesos de soporte y mapas de actividades que serán sobre los que debemos actuar para diferenciarnos y crear valor. A continuación, y a modo de ejemplo, indicamos la operativa de una cadena de valor de una empresa comparándola con la del sector.
CADENA DE VALOR DEL SECTOR
CADENA DE VALOR DE UNA EMPRESA TIPO
• El análisis de la cadena de valor se emplea como un criterio identificar las capacidades de una empresa a partir de la desagregación de sus actividades. Se trata de ver paso a paso todo el proceso desde que surge un producto hasta que llega a las manos del consumidor, incluyendo todos los servicios que puedan darse (distribución, servicio postventa, …).
• Y para explicar el análisis de la cadena de valor nos basamos en el análisis de Porter, que fue quien propusiera este concepto de cadena de valor, y que vemos en el siguiente gráfico.
• Porter distingue entre actividades primarias y actividades de apoyo. Las actividades primarias a las que se refiere Porter son aquellas relacionadas con la transformación de los inputs y la relación con el cliente. Las actividades de apoyo están más relacionadas con las estructura de la empresa para poder desarrollar todo el proceso productivo.
Casos de estudio
• Veremos casos representativos en la industria TI, relativos a decisiones estratégicas que marcaron el devenir de estas empresas • El proceso de toma de decisiones estratégicas cotidiano se caracteriza usualmente por la urgencia, la falta de informaciones completas sobre el desarrollo en el propio mercado y en los mercados nuevos/conexos.
• Ninguna ventaja competitiva dura en la actualidad mucho tiempo en el turbulento mercado de las telecomunicaciones. Por consiguiente, la aptitud para tomar decisiones estratégicas es un requisito indispensable, hoy en día, en los altos directivos de los operadores de redes públicas; esto les permite identificar las nuevas actividades que tienen un potencial suficiente para añadir valor. Y hoy en día se trata precisamente de eso: de la posibilidad de añadir valor. Sin embargo, es imposible aprender a tomar decisiones estratégicas únicamente leyendo libros.
• En este caso cobra plena validez la máxima según la cual "nada sustituye a la experiencia". El único problema que tiene el aprender a tomar decisiones estratégicas, en la realidad de una empresa, es que puede resultar demasiado costoso.
• Para situar mejor nuestra investigación, necesitamos una visión de conjunto de la industria TI. Los siguientes son atributos esenciales de los productos ofrecidos por la industria: hardware, sistemas, datos, voz y vídeo entregados a través de la red, disminución del valor de la información al pasar el tiempo, necesidades de comunicación, recuperación de la información, almacenamiento, procesamiento, comunicación interactiva y no interactiva.
• Identificaremos las actividades discretas de adición (las funciones) que puedan identificarse en un futuro mercado de la información. • Esta podría ser la cadena de valor de la industria TI:
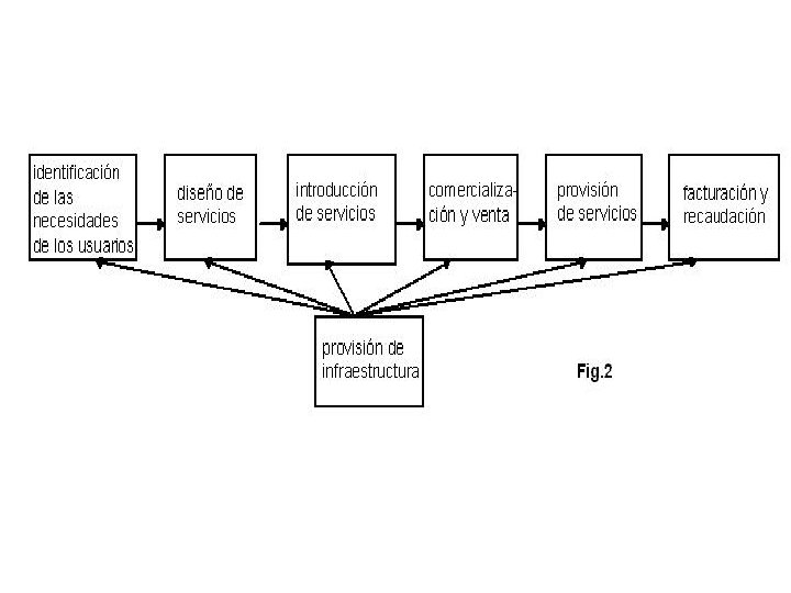
En la figura siguiente podemos identificaremos las posibles funciones estructurales e infraestructurales.
Existen las siguientes funciones estructurales posibles en la cadena de valor primaria de la industria de la información: • propiedad de los recursos de información, producción de productos de información, suministro de información, gestión del suministro de información, intermediación de información, gestión del suministro de servicios de información, intermediación de servicios de información, función del usuario final, función de la autoridad política, función de armonización.
Las funciones de infraestructura son: • suministro de equipos terminales, comunicación de información, puesta en red de la información, soporte para creación de aplicaciones, soporte para creación de información. Las funciones de suministro de servicio telefónico tradicional, procesamiento de información y almacenamiento de información están estrechamente vinculadas con las funciones infraestructurales de comunicación de información y puesta en red de la