1 Mix Design References IS 10262 2019 CONCRETE



































































- Slides: 67
1
Mix Design References • IS 10262 : 2019 – CONCRETE MIX PROPORTIONING – GUIDELINES (Second revision) First published in 1982 (Recommended guidelines for concrete mix design), First revision in 2009 (Concrete mix proportioning – guidelines). • IS 456 : 2000 – Plain & reinforced cement concrete- code of practice (forth revision) Amendments up to 4 (May 2013) • CBC : 2014 (Up to CS no. 8) – Code of practice for plain, reinforced & prestressed concrete for general bridge construction • IS 269: 2015 - Specification for ordinary Portland cement 2
References • IS 1489: 2015 - Specification for Portland Pozzolana cement Part 1 and 2 • IS 16714: 2018 - Specification for Ground Granulated Blast Furnace Slag cement • IS 9103: 1999 - Specification for admixtures for concrete (first revision) • IS 15388 -2003 - Specification for silica fumes • IS 383: 2016 ( Third Revision) - Specification for coarse and fine aggregates from natural sources for concrete (second revisions) • IS 2386 (Part 3) : 1963 – Method of test for aggregates for concrete : part 3 specific gravity, density, voids, absorption and bulking. 3
IS-10262 : 2019 (Second Revision) CONCRETE MIX PROPORTIONING - GUIDELINES Major modifications made in second revision : 1. The standard has been divided into five sections, as follows: a) Section 1 General b) Section 2 Ordinary and standard grades of concrete c) Section 3 High strength grades of concrete d) Section 4 Self compacting concrete e) Section 5 Mass concrete 2. This standard is applicable for ordinary, standard and high strength concrete grades. 4
IS-10262 : 2019 (Second Revision) CONCRETE MIX PROPORTIONING - GUIDELINES 3. Mix proportioning procedure for high strength concrete for M 65 or above (up to target strength of M 100) has been included. 4. The standard also covers provisions for the mix proportioning of self compacting concrete and mass concrete. 5. The target mean strength for mix proportioning formula has been refined to include a new factor based on the grade of concrete. This has been done to ensure a minimum margin between the characteristic compressive strength and the target mean compressive strength. 5
IS-10262 : 2019 (Second Revision) CONCRETE MIX PROPORTIONING - GUIDELINES 6. The calculations for standard deviation have been detailed. 7. Illustrative annexes for concrete mix proportioning for PPC, OPC with fly ash, OPC with GGBS, high strength concrete, self compacting concrete and mass concrete have been provided. 8. A graph of water-cement ratio versus 28 days strength of concrete has been introduced for different grades and types of cement, as an alternate method for assuming the initial water-cement ratio. 6
7
IS-10262 : 2019 (Second Revision) CONCRETE MIX PROPORTIONING - GUIDELINES 9. Guidelines on using/selecting water reducing admixtures have been introduced as an informatory annex (see Annex G). 10. The consideration of air content in design of normal (non-air entrained) concrete mix proportion, has been reintroduced. 11. It is suggested that the concrete mix proportioning in the laboratory may be carried out at a temperature of 27± 2°C, relative humidity of minimum 60 percent, and the temperature of concrete may be 27 ± 3°C. 8
Types Of Mix 1. Nominal Mix: a. Used for relatively unimportant and simpler works. b. No scope for any deviation by the designer since ingredients are prescribed and their proportions specified. c. May be used for M-20 or lower. Table 9 - IS 456 Kg 9
Types Of Mix 2. Design Mix: a. Performance based mix. b. Choice of ingredients and proportioning are left to designer. c. User has to specify requirements of concrete in fresh as well as in hardened state only. Fresh concrete – Workability, Bleeding & Segregation. Hardened concrete – Compressive strength, durability, Impermeability & surface finish. 10
Defination DESIGN MIX • It is a process of selecting suitable ingredients and determining their relative proportions with the objective of producing concrete of having certain minimum workability, strength and durability as economically as possible. Objective as per IS-10262 : 2009 • The objective of proportioning concrete mixes is to arrive at the most economical and practical combinations of different ingredients to produce concrete that will satisfy the performance requirements under specified conditions of use. 11
Sampling 1. One sample comprising of 3 cubes shall be taken from each shift. Quantity of concrete in work Number of samples (Min) 2. Samples should be taken at random and should be representative 1 -5 cumof actual concrete. 1 6 -15 2 16 -30 3 31 -50 4 51 and above 4 + 1 additional sample for each additional 50 cum or part thereof. 12
Sampling • Three test specimens (cubes) shall be made for each sample for testing at 28 days. • Additional samples may be required for various purposes such as to determine the strength of concrete at 3 days/ 7 days or at the time of striking the formwork, or to determine the duration of curing or to check the testing error. • Additional samples may also be required for testing samples cured by accelerated methods as described in IS 9103. • The specimen shall be tested as described in IS 516. 13
Cube Casting (IS 516) 1. Concrete is filled in mould in 3 equal layers. 2. Manual compaction - Each layer is tamped 35 times by bullet headed tamping rod of 16 mm dia and 600 mm long. 3. Needle/plate vibrator can also be used. 4. The cube in mould is covered with glass/metal plate. 5. Stripped after 16 -24 hrs and then submerged in pond till testing. 6. Light marking of date and number for identification is done. 7. Cube should not be allowed to dry till testing. 14
Cube Testing 1. 3 cubes constitute one sample. 2. Smooth faces should face top and bottom during testing. 3. The rate of loading should not be more than 14 N/mm 2 per minute. 4. Individual variation of Cube strength should not be more than +15% of average strength. If more, the test results are invalid. e. g. grade of concrete-M 30 C 1=24, C 2=32, C 3=37 Average=93/3=31 +15% of 31 = 31+31 x 0. 15 = 31+4. 65 = 35. 65 - 15% of 31 = 31 -31 x 0. 15 = 31 -4. 65 = 25. 65 - Invalid 15
Importance Of Cube Test 1. Cube strength represents the strength of the structure 2. It indicates potential strength of the mix. 3. It detects variation in quality control at site. 4. It helps in determining the rate of gain of strength. 5. It helps in determining the time of removal of form work. 16
Statistical Interpretation Of Cube Results • Cube test result is influenced by number of factors like material, their proportions, various processes like mixing, compaction, curing and finally the testing procedure of cubes. • Even the results of different cubes, cast from the same concrete at the same time, cured and tested in similar way may also show different results. • Therefore for evaluation of the test results, the help of statistical approach is required. 17
Statistical Interpretation Of Cube Results (Histogram/Normal distribution curve) 18
Understanding Of Normal Distribution Curve Ø Shows the probability of concentration of test results at this strength. Ø Concentration at mean value depends upon ‘Quality control’ & S. D. Ø If S. D. is less, probability of concentration of test results will be higher at the mean value. 19
Target Mean Strength 20
NUMBER OF SPECIMENS IN INTERVAL 80 70 70 60 60 55 50 50 40 52 35 30 30 30 20 15 10 10 0 35 7 0 1 1 2 3 3 4 10 5 3 2 1 40 41 42 45 46 47 48 49 50 51 52 53 54 55 56 57 58 59 60 61 62 63 64 65 COMPRESSIVE STRENGTH IN MPa 21
Standard deviation (S. D. ) : S. D. (S) = ∑ (x- µ)² n-1 Where S = Standard deviation of the group x = Individual test result n = no. of test results considered µ = Average of n test results considered S. D. will be less if the quality control at site is better. 22
Target Mean Strength • From the experiments it is found that the area under the ‘Normal distribution curve’ follows certain behavior such that area covered within a distance equal to one S. D. on either side from mean will be equal to 34. 1% of total area. Similarly 2 nd & 3 rd S. D. will cover additional area of 13. 6% & 2. 2% respectively. Approximately 99. 9% area will be covered within distance equal to (3 x S. D) on each side from mean value. • From this it is clear that if we require the strength equal to mean value, probability is that only 50% cubes will have strength equal to or more than the required strength. • If we want to increase the % of cubes having strength equal or more than the required strength, we will have to target for higher strength. 23
Target Mean Strength 24
Target Mean Strength • So instead of placing the desired strength (fck) at mean value, it is placed on left side of mean value by a distance equal to (k x S. D), where k will depend upon the % of cubes we want to have strength equal or more than the desired strength. As per IS 456 -2000, this % is 95% and therefore desired strength has to be placed at 1. 65 times S. D. left of mean. f’ck = fck + 1. 65 S OR f’ck = fck + X Whichever is higher Here, fck - Characteristic compressive strength at 28 days in N/mm² f’ck - Target mean compressive strength at 28 days in N/mm² S - Standard Deviation in N/mm² X - Factor based on the grade of concrete, as per Table 1. The value of 1. 65 is based upon the provision that 5% of the test results can be accepted having lower than the required strength. 25
Value of X Table 1 of IS-10262 Grade Of Concrete Value of X i) M-10, M-15 5. 0 ii) M-20, M-25 5. 5 iii) M-30, M-35, M-40, M-45, M-50, M-55, M-60 6. 5 iv) M-65 and above 8. 0 NOTES 1. The above values correspond to good degree of site control having proper storage of cement; weigh batching of all materials; controlled addition of water; regular checking of all materials; aggregate grading and moisture content; and regular checking of workability and strength. Where there are deviations from the above, the site control shall be designated as fair and the values given in the above table shall be increased by 1 N/mm 2. 2. For grades M 65 and above, the standard deviation may also be established by actual trials based on assumed proportions, before finalizing the mix. 26
Target mean strength • While designing the mix, it should be targeted for higher strength called ‘Target mean strength’ (f’ck) so that not more than 5% test results fall below a desired strength ‘fck’ i. e. characteristics strength (CS). • Few cube test results may show less strength below CS value. This is in accordance with the design criteria of mix and acceptable. Therefore manipulation of results shall not be attempted. • The mix shall be designed to produce the grade of concrete having the required workability and a characteristic strength not less than appropriate values given in Table 2 of IS: 456 -2000. 27
Target mean strength • Proportion/grading of aggregate shall be made by trial in such a way as to make densest possible concrete. 28
Acceptance Criteria (As per IS-456: 2000 Amend 4 of May 2013) a. Compressive strength. Specified Grade Mean of the group of 4 non overlapping consecutive test results in N/mm 2 M-15 and ≥ above fck +0. 825 x established S. D. or fck + 3 N/mm 2, whichever is greater. Individual test results in N/mm 2 ≥ fck - 3 N/mm 2 NOTE 1. In the absence of established value of standard deviation, the values given in Table 8 may be assumed and attempt should be made to obtain results of 30 samples as early as possible to establish the value of standard deviation. 2. For concrete of quantity up to 30 m 3 (where the no. of samples to be taken is less than four as per frequency of sampling) the mean of test results of all such samples shall be fck + 4 N/mm 2 minimum and the requirement of minimum Individual test results shall be fck - 2 N/mm 2 minimum. However when no. of sample is only one as per 15. 2. 2, the requirement shall be fck + 4 N/mm 2 minimum 29
Acceptance criteria Qty of concrete cum No. of Samples 31 -40 Acceptance Criteria-Compressive strength Mean of the samples in N/mm 2 M 30 Individual test results in N/mm 2 M 30 4 ≥ fck + 0. 825 x established S. D. or fck + 3 N/mm 2 whichever is greater 33 ≥ fck – 3 27 16 -30 3 ≥ fck + 4 N/mm 2 34 ≥ fck - 2 28 6 -15 2 ≥ fck + 4 N/mm 2 34 ≥ fck – 2 28 1 -5 1 ≥ fck + 4 34 30
Acceptance Criteria (As per CBC) 1. Compressive strength(For M-20 & above grades only) a. The mean of 4 consecutive test results should exceed fck by 3 N/mm 2 i. e. fck+3 N/mm 2 and b. Any individual test result ≥ fck – 3 N/mm 2. 32
Data for Mix proportioning (IS: 10262 -2019) 1. 2. 3. 4. 5. 6. 7. 8. 9. Grade designation, Type of cement, grade of cement, Maximum nominal size of aggregate, Maximum water cement ratio, Workability required at the time of placement, Exposure conditions as per table 4 and 5 of IS-456, Maximum temperature of concrete at the time of placing, Method of placing, Transportation time, Degree of site control (good/fair) or value of established standard deviation, if any; 10. Type of coarse aggregate & fine aggregate, 11. Maximum & Minimum cement content, 12. Whether chemical & mineral admixture shall or shall not be used and the type of admixture and the condition of use. 33
Procedure 1. 2. 3. 4. 5. 6. 7. 8. Calculation of Target mean strength Approximate Air Content Selection Of Water-Cement Ratio Selection Of Water Content Calculation of cementitious material content Estimation of coarse aggregate proportion Estimation of fine aggregate proportion Mix calculations 34
DESIGN MIX STEPS For Ordinary & Standard Grades concrete 1. Calculation of Target mean strength f’ck = fck + 1. 65 S OR f’ck = fck + X Whichever is higher 2. Approximate Air content Table 3 gives the approximate amount of entrapped air to be expected in normal (non-air-entrained) concrete. 35
Assumed Standard Deviation S & Value of X (Table 1&2 of IS-10262) Grade Of Concrete Assumed standard deviation ‘S’ (N/mm²) Value of ‘X’ M-10, M-15 3. 50 5. 0 M-20, M-25 4. 00 5. 5 M-30, M-35, M-40, M-45 M-50, M-55, M-60 5. 00 6. 5 M-65, M-70, M-75, M-80 6. 00 8. 0 NOTES 1 The above values correspond to good degree of site control having proper storage of cement; weigh batching of all materials; controlled addition of water; regular checking of all materials; aggregate grading and moisture content; and regular checking of workability and strength. Where there are deviations from the above, the site control shall be designated as fair and the values given in the above table shall be increased by 1 N/mm 2. 2 For grades M 65 and above, the standard deviation may also be established by actual trials based on assumed proportions, before finalizing the mix. 36
Approximate Air Content (Table 3 of IS 10262) Sr. No. Nominal Maximum Size of Aggregate (mm) 1 10 Entrapped Air (as % of Volume of concrete) 1. 5 2 20 1. 0 3 40 0. 8 37
3. Selection Of Water-Cement Ratio 1. Table-5 of IS-456 Min cement content, max W/C ratio and min grade of concrete for different exposures with normal weight aggregates of 20 mm nominal maximum size. 2. Fig-1 of IS 10262 gives Free W/C ratio corresponding to expected compressive strength of concrete for various grade of cement. SN Exposure RCC (Table 5) Minimum cement content (Kg/m 3) Maximum free water cement ratio Minimum grade of concrete 1 Mild 300 0. 55 M-20 2 Moderate 300 0. 50 M-25 3 Severe 320 0. 45 M-30 4 Very Severe 340 0. 45 M-35 5 Extreme 360 0. 40 M-40 38
39
Procedure (IS-10262, 2019) 1. The supplementary cementitious materials i. e. Mineral admixtures shall also be considered in water cement ratio calculations. 2. The free water-cement ratio selected should be checked against the limiting water cement ratio for the requirement of durability and lower of the 2 values adopted. (From CBC) 40
TABLE 4 (a) : MAXIMUM WATER CEMENT RATIO (Clause 5. 4. 3 of CBC) Exposure condition Max. W/C Ratio PCC RCC PSC MODERATE 0. 50 0. 45 0. 40 SEVERE 0. 45 0. 40 EXTREME 0. 40 0. 35 41
4. Selection Of Water Content Table-4 of IS-10262 Water content per cubic meter of concrete for nominal maximum size of aggregate. SN Nominal maximum size of aggregate (mm) Maximum water content (Kg) 1 10 208 2 20 186 3 40 165 Note: 1. These quantities of mixing water are for use in computing cementitious material contents for trial batches. 2. Water content corresponds to SSD aggregate. (saturated surface dry condition) 3. The water content is for angular CA and for 50 mm slump range. 4. For other than 50 mm slump range, the water content can be established by trial or an increase by about 3% for every additional 25 mm slump or alternatively by use of chemical admixtures. 5. Water reducing admixtures usually decrease water content by 5 -10% and superplasticizers by 20% and above. 42
5. Calculation of cement/cementitious materials content. 1. The cement and supplementary cementitious materials content per cubic meter can be calculated from free water cement ratio and the quantity of water per cubic meter. 2. The cementitious material should be checked against minimum content for the requirement of durability and greater of the two should be adopted. 43
MIN. CEMENTITIOUS MATERIAL CONTENT (As per CBC Table 4(c) Clause 5. 4. 5) Minimum Cementitious material content in Kg/m 3 PCC RCC PSC MODERATE 240 300 400 Exposure condition SEVERE EXTREME 250 300 350 400 430 440 Maximum cement content As per IS-456 -2000 (Para 8. 2. 4. 2) - Not to exceed 450 kg/m 3 when OPC is used As per CBC – 2014 (Clause 5. 4. 5) - Shall be limited to 500 kg/m 3. 44
6. Estimation of coarse aggregate proportion Table-5 of IS-10262 Volume of CA per unit volume of total aggregate for different zones of FA. SN Nominal maximum size of aggregate (mm) Volume of CA per unit volume of total aggregate for different zones of fine aggregate Zone IV Zone III Zone I 1 10 0. 54 0. 52 0. 50 0. 48 2 20 0. 66 0. 64 0. 62 0. 60 3 40 0. 73 0. 72 0. 71 0. 69 Note: 1. The approximate values of aggregate volume are for a water cement ratio of 0. 50 which may be suitably adjusted for other water cement ratios. The proportion of volume of coarse aggregate is changed at the rate of -/+ 0. 01 for every ± 0. 05 change in w/c ratio. 2. For Pumpable concrete or when the concrete is required to be worked around congested steel, it may be desirable to reduce the CA upto 10%. 45
7. Estimation of Volume of CA+FA Volumea. Volume of entrapped air b. Cement = Mass x 1 SG 1000 c. Water = Mass x 1 SG 1000 d. Chemical Adm. = Mass x 1 SG 1000 Volume of CA+FA = (1 -a) - (b+c+d) m³ 46
8. Estimation of mass of CA & FA proportion e. The value so obtained is divided into CA and FA fractions by volume in accordance with CA proportion already determined. f. Mass of CA = Volume x SG x 1000 g. Mass of FA = Volume x SG x 1000 47
Quantities per 1 m³ of concrete: 1. 2. 3. 4. 5. 6. Cement Water CA FA Chemical admixture Water cement ratio - kg/m 3 Kg/m 3 This is first trial mix, TM – 0 Note 1. 2. Aggregate should be used in SSD condition. If otherwise, allowance shall be made for free(surface) moisture contributed by the CA and FA. 3. On the other hand, if the aggregates are dry, the amount of mixing water should be increased equal to the moisture likely to be absorbed. 4. Necessary adjustments are also required in mass of aggregates. 5. The surface water and percentage water absorption of aggregates shall be determined according to IS 2386. 48
9. Trial Mixes – 1. Workability of TM-0 will be measured. 2. The mix will be carefully observed for freedom from segregation, bleeding and finishing properties. 2. If the workability of TM-0 is same to that of stipulated value, then TM-0 will be TM-01. 3. If the workability of TM-0 is different from the stipulated value, the water and/or admixture content shall be adjusted suitably. 4. With this adjustment, the mix proportions will be calculated again keeping same W/C ratio. This will be TM-01. 49
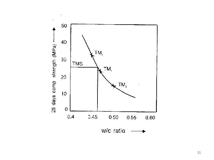
5. In addition, 2 more TM no. 2 and TM no. 3 will be made with same water content and varying the W/C ratio by +10%. 6. A graph between 3 W/C ratios and their corresponding strengths at 28 days will be plotted to work out the mix proportions for the given Targeted mean strength TMS. 7. However, durability requirement shall be met. 50
51
Example - M 40 grade STIPULATIONS FOR PROPORTIONING a) Grade designation - M 40 b) Type of cement - PPC 43 grade conforming to IS 1489(Part-I) c) Maximum nominal size of aggregate - 20 mm d) Minimum cement content as per table 3 & Maximum watercement ratio as per table 5 of IS 456 to be adopted. (320 kg/m 3 & 0. 45) f) Workability - 75 mm (slump) g) Exposure condition - Severe (for reinforced concrete) h) Method of concrete placing – Chute (Non pumpable) j) Degree of supervision - Good k) Type of aggregate - Crushed angular aggregate m) Maximum cement content - 450 kg/m 3 52 n) Chemical admixture type - Superplasticizer
TEST DATA FOR MATERIALS a) Cement used - PPC 43 grade conforming to IS 1489(Part-I) b) Specific gravity of cement – 2. 88 c) Chemical admixture - Superplasticizer conforming to IS 9103 d) Specific gravity of: 1) Coarse aggregate (at SSD condition) – 2. 74 2) Fine aggregate (at SSD condition) – 2. 65 3) Chemical Admixture – 1. 145 e) Water absorption: 1) Coarse aggregate - 0. 5% 2) Fine aggregate – 1. 0% 53
f) Moisture content of aggregate (As per IS 2386 (Part-3)): 1) Coarse aggregate - Nil 2) Fine aggregate - Nil g) Sieve analysis: 1) Coarse aggregate - Conforming to Table 7 of IS 383 2) Fine aggregate - Conforming to grading Zone II of Table 9 of IS 383 54
CALCULATIONS FOR MIX PROPORTIONING 1. TARGET STRENGTH FOR MIX PROPORTIONING f'ck = fck + 1. 65 S OR fck + X whichever is higher Where, f'ck = target average compressive strength at 28 days, fck = characteristic compressive strength at 28 days, and S = standard deviation. X = factor based on grade of concrete From Table 2 of IS 10262 standard deviation, S = 5 N/mm 2 Table 1 of IS 10262, X = 6. 5 Therefore, target strength a) f'ck = 40 + 1. 65 x 5 = 48. 25 N/mm 2 b) f'ck = 40 + 6. 5 = 46. 5 N/mm 2 Higher of the above - 48. 25 N/mm 2 55
2. Approximate Air content From Table 3, the approximate amount of entrapped air to be expected in normal (non-air-entrained) concrete is 1. 0 percent for 20 mm nominal maximum size of aggregate. 3. Selection of water-cement ratio From Fig. 1, free w/c required for the target strength of 48. 25 N/mm 2 is 0. 36 for OPC 43 grade curve. (For PPC, the strength corresponding to OPC 43 grade curve is assumed for the trial). From Table 5 of IS 456, maximum water-cement ratio = 0. 45. prescribed for ‘severe’ exposure for reinforced concrete. 0. 36 < 0. 45, hence O. K. 56
4. SELECTION OF WATER CONTENT From Table 4, maximum water content = 186 kg for 20 mm aggregate, (for 50 mm slump) Estimated water content for 75 mm slump = 186 + (3/100 X 186) = 191. 58 kg As superplasticizer is used, the water content may be reduced. Based on trial data, the water content reduction of 23 percent is considered while using super plasticizer at the rate 1. 0 percent by weight of cement. Hence the water content = 191. 58 × 0. 77 = 147. 52 kg ≈ 148 kg 57
5. CALCULATION OF CEMENT CONTENT Water-cement ratio = 0. 36 Cement content = 148/0. 36 = 411. 11 kg/m 3 ≈ 412 kg/m 3 From Table 5 of IS 456, minimum cement content for 'severe' exposure condition = 320 kg/m 3 412 kg/m 3 > 320 kg/m 3, hence, O. K. From Table 4(c) of CBC, minimum cement content for 'severe' exposure condition = 350 kg/m 3, hence, O. K. 58
6. PROPORTION OF VOLUME OF COARSE AGGREGATE AND FINE AGGREGATE CONTENT From Table 5 of IS-10262, the proportionate volume of coarse aggregate corresponding to 20 mm size aggregate and fine aggregate (Zone II) for water-cement ratio of 0. 50 = 0. 62 In the present case, water-cement ratio is 0. 36 Therefore volume of coarse aggregate is required to be increased to decrease the fine aggregate content. As the water-cement ratio is lower by 0. 14, the proportion of volume of coarse aggregate is increased by 0. 028 (at the rate of -/+ 0. 01 for every ± 0. 05 change in water-cement ratio). Therefore corrected proportion of volume of coarse aggregate for the water-cement ratio of 0. 36 = 0. 62 + 0. 028 = 0. 648 59
Volume of fine aggregate content = 1 – 0. 648 = 0. 352 7. MIX CALCULATIONS The mix calculations per unit volume of concrete shall be as follows: a) Volume of concrete = 1 m 3 b) Volume of entrapped air in wet concrete = 0. 01 m 3 c) Volume of cement = Mass of cement x 1 Specific gravity of cement 1000 = 412/2. 88 x 1/1000 = 0. 143 m 3 d) Volume of water = Mass of water x 1 Specific gravity of cement 1000 = 148/1 x 1/1000 = 0. 148 m 3 60
e) Volume of chemical admixture (superplasticizer@ 1. 0 percent by mass of cementitious material) = Mass of chemical admixture x 1 Specific gravity of admixture 1000 = 4. 12/1. 145 x 1/1000 = 0. 0036 m 3 g) Volume of all in aggregate = [(a-b) - (c +d+e)} = (1 -0. 01) - (0. 143 + 0. 148 + 0. 0036) = 0. 695 m 3 h) Mass of coarse aggregate = g x Volume of coarse aggregate x Specific gravity of coarse aggregate x 1000 = 0. 695 x 0. 648 x 2. 74 x 1000 = 1233. 98 kg ≈ 1234 kg 61
j) Mass of fine aggregate = g x volume of fine aggregate x Specific gravity of fine aggregate x 1000 = 0. 695 x 0. 352 x 2. 65 x 1000 = 648. 29 kg ≈ 648 kg 7. MIX PROPORTIONS FOR TRIAL NUMBER 0 (TM-0) Cement Water Fine aggregate Coarse aggregate Chemical admixture Free Water-cement ratio = 412 kg/m 3 = 148 kg/m 3 = 648 kg/m 3 = 1234 kg/m 3 = 4. 12 kg/m 3 = 0. 36 62
ADJUSTMENT ON WATER, FINE AND COARSE AGGREGATE (IF THE COARSE AND FINE AGGREGATE IS IN DRY CONDITION) a) Fine Aggregate (Dry) = Mass of fine aggregate in SSD condition 1 + water absorption /100 = 648 1+ 1/100 = 641. 58 kg/m 3 ≈ 642 kg/m 3 b) Coarse Aggregate (Dry) = Mass of coarse aggregate in SSD condition 1 + water absorption /100 = 1234 1+ 0. 5/100 = 1 227. 86 kg/m 3 ≈ 1 228 kg/m 3 63
The extra water to be added for absorption by coarse and fine aggregate, 1) For coarse aggregate = Mass of coarse aggregate in SSD condition – mass of coarse aggregate in dry condition = 1 234 – 1 228 = 6 kg 2) For fine aggregate = Mass of fine aggregate in SSD condition – mass of fine aggregate in dry condition = 648 – 642 = 6 kg The estimated requirement for added water, therefore, becomes = 148 + 6 = 160 kg/m 3 64
MIX PROPORTIONS AFTER ADUSTMENT FOR DRY AGGREGATES Cement Water (to be added) Fine aggregate (Dry) Coarse aggregate (Dry) Chemical admixture Free water-cement ratio = 412 kg/m 3 = 160 kg/m 3 = 642 kg/m 3 = 1 228 kg/m 3 = 4. 12 kg/m 3 = 0. 36 65
• Prepare the concrete mix with the above proportion of ingredients. (Trial mix TM-0) • Find out workability. • If workability is exactly same as required, i. e. 75 mm slump, then no further adjustment is made. • If measured workability is different from initially assumed, then water content adjustment will again be made keeping w/c ratio same. Final qty. of materials will again be calculated. (Trial mix TM-1) • Two more trial mixes TM-2 & TM-3 will be made, one with 10% less w/c and other with 10% more w/c but keeping water content same. 66
• Now one sample (three cubes) with each trial mix is casted. • 28 days compressive strength is found out. • This strength is plotted against w/c ratio and a curve will be obtained. • From this curve, w/c ratio for the required TMS is found out for our design mix. • This w/c ratio is used to calculate again the ingredient quantities so that the mix prepared with these quantities will satisfy the requirements of not only strength but workability also. • The entire process is a DESIGN MIX. 67
THANKS 68