Residual Stresses and Distortion Residual Stresses and Distortion















- Slides: 15
Residual Stresses and Distortion
Residual Stresses and Distortion Lesson Objectives When you finish this lesson you will understand: • the generation of residual stress and distortion in welds • mechanisms to reduce residual stress Learning Activities 1. Read Handbook pp 218 -229 2. View Slides; 3. Read Notes, 4. Listen to lecture 5. Do on-line workbook Keywords Thermal Expansion Coefficient, Residual Stress, Distortion, Stress. Relief
Welding Design Welding design involves consideration of strength requirements, cost, and service conditions – Mechanical & Physical properties – Joint Design – Welding stress and distortion Covered Earlier 0. 1. 1. 3. 0. T 1. 95. 12
Residual Stress and Distortion Residual Stress & Distortion in Welds • Heat flows from the weld area and causing the joint area to expand (See Previous Module) • Thermal expansion and contraction due to welding can leave behind permanent stress and distortion • Higher heat input welds are more prone to residual stress and distortion • Increased restraint can decrease distortion but can result in higher residual stress 0. 1. 1. 3. 3. T 18. 95. 12
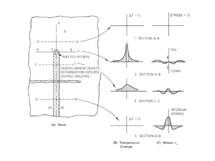
Residual Stress and Distortion Residual Stress Pattern Tension Compression • Residual stress is present across an unrestrained butt weld after cooling • Tension near weld bead • Compression away from the weld bead • Restraint can affect this stress state
Turn to the person sitting next to you and discuss (1 min. ): • We have seen from the metallurgy module that dislocation tangles and pile-ups occurring above the yield strength of materials cause the higher stresses. We have seen here that by a temperature cycle that varies across the plate we have regions that yield and residual stresses occur. We have seen that imposing operating stresses above yield cause changes in the residual stress distribution by movement of the dislocations. How else then might we get rid of some of these dislocations to remove these residual stresses?
Residual Stress and Distortion Types of Distortion 0. 1. 1. 3. 3. T 19. 95. 12
Residual Stress and Distortion Transverse Shrinkage Longitudinal Shrinkage Rotational Distortion Longitudinal Bending Angular Change Buckling
Residual Stress and Distortion Eliminating Distortion Angular distortion after welding • Preset members to counteract distortion • Fixtures to clamp workpiece in place – Restraint reduces distortion but increases residual stress Preset members before welding • Stress-relief heat treatment