UCK 474 UAK MOTOR TASARIMI PERFORMANS EVRM ANALZ
























- Slides: 24
UCK 474 UÇAK MOTOR TASARIMI PERFORMANS ÇEVRİMİ ANALİZİ Doç. Dr. Onur Tunçer İstanbul Teknik Üniversitesi
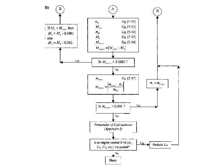
ØParametrik çevrim analizi motorun tasarım noktasındaki (on-design-point) performansını belirlemek için yapılır. ØPerformans çevirimi analizi ise motorun tasarım noktası haricindeki tüm çalışma koşullarındaki (off-design-point) performansını belirlemek için kullanılır. ØMotor boyutlandırıldıktan ve hava debisi seçildikten sonra motorun uçuş zarfı içerisindeki başarımını belirlemek için kullanılır. ØPerformans analizi aynı zamanda görev analizi sırasında kullanılan itki azalması (thrust lapse) ve yakıt sarfiyatı modellerinde kullanılan parametrelerin doğruluğunu da test etmek için kullanılır. ØPerformans çevrimi analizinde bağımsız değişkenler; uçuş koşulları, itki kolunun konumu (throttle setting) ile değişken geometrili lülesi olan uçaklarda lüle açıklığı ayarıdır.
Performans çevrimi analizi için komponent başarımları aşağıdaki iki yoldan birisi ile belirlenmelidir. i. Komponent performansı çalışma koşullarının bir fonksyonu olarak yazılabilir. ii. Komoponent performansı deneysel ölçümler ile elde edilebilir. Bunlardan ikincisi en güvenilir, fakat en zahmetli (aynı zamanda pahalı) çözümdür. Genelde tasarım kağıt üzerindeyken birinci yol, tasarım olgunlaşıp imalat aşamasına yaklaşınca daha kesin veri elde etmek için ikinci yol takip edilir.
Komponent Bağımsız Değişken Sabit yahut Bilinen Değer Bağımlı Değişken Motor Hava Alığı Fan Düşük Basınçlı Kompresör Yüksek Basınçlı Kompresör Yanma Odası Soğutma havası mikseri 1 Yüksek Basınçlı Türbin Soğutma havası mikseri 2 Düşük Basınçlı Türbin Mikser Art yakıcı Eksoz Lülesi Toplam Sayı 6 24
Varsayımlar 1. 4, 4. 5, 6, 16, 6 A ve 8 numaralı istasyonlarda akım kesit alanı sabittir. 2. Yüksek basınç türbin girişinde, düşük basınçlı türbin girişinde ve eksoz lülesi boğazında akım boğulması vardır. Düşük “throttle setting” değerleri için eksoz lülesi boğazında akım boğulması ortadan kalkacağı ve bu fan performansını etkileyeceği için, bu durumun göz önüne alınması gereklidir. 3. Komponent verimleri ve toplam basınç oranları tasarım değerlerine göre fazla değişiklik göstermezler. 4. Tahliye havası ve soğutma akımı oranları sabittir. Uçaktaki ekipmanın motordan çektiği güç te sabittir. 5. Hava ve yanma gazları termodinamik denge halinde ideal gaz olarak kabul edilmişlerdir. 7. Lüle çıkış alanının istenilen P 0/P 9 değerini yakalayabilecek şekilde değiştiği varsayılmıştır. 8. Her istasyonda akım kesit alanı sabittir. Ne var ki lüle boğazı artyakıcı açıldığında mikser çıkışı ve lüle girişinde sabit basıncı sağlamak için alan değiştirir. 9. Difüzördeki toplam basınç oranı ayrı bir denklemden hesaplanır.
Gaz Türbin Motorları İçin İstasyon Numaralaması (ARP 755 A’ya göre)
Güç Dağıtımı ile Tahliye ve Türbin Soğutma Akımları Şeması
Referanslama, Kütle Akım Parametresi,
KOMPONENT PERFORMANS HARİTALARI
BOYUTSUZ VE DÜZELTİLMİŞ PERFORMANS PARAMETRELERİ Boyutsuz basınç ve sıcaklık, Düzeltilmiş kütle debisi, Düzeltilmiş motor devri,
PEROFRMANS ÇEVİRİMİ ANALİZİ SONUCU NİHAİ MOTOR SEÇİMİ