The Economy in the Environment basic concepts The
The Economy in the Environment – basic concepts The Holistic View
The Cowboy Economy • Circular flow between firms and consumers • Seemingly perpetual • Success measured by the amount of stuff moving through • Reckless, romantic, not realistic
The Spaceship Economy • Expanding system boundaries • Limited reservoir of materials on earth • Economy uses inputs from the environment and emits waste • Must limit throughput • Limits to growth?
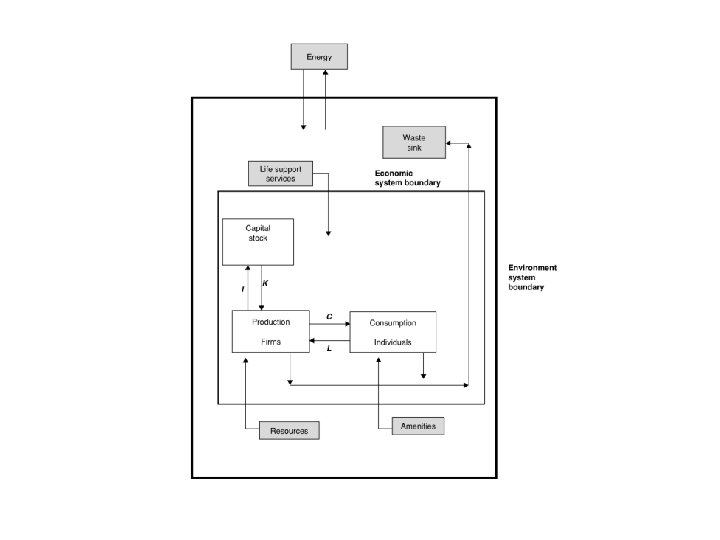
The Big Picture Input from the environment • • Resources Life support services Amenities Waste-sink • Last time established the economic importance of environmental input
The Big Picture • Continually trying: – Not to overwhelm regenerative capacity of the environment – Not to overwhelm the waste-assimilative capacity of the environment
First - a few concepts • • Thermodynamics Matter = energy and materials Energy = ability to do work Entropy = unavailable bound energy represents level of chaos or disarray. Can also measure the quality of energy.
First - a few concepts • Systems: Two or more entities that interact • Open system: Exchanges energy and materials with its surroundings • Closed system: Exchanges only energy with its surroundings.
Is the earth open or closed?
Is the economic system open or closed?
Laws of Thermodynamics The first law: • Matter (energy or materials) can neither be created nor destroyed Implications: • Whatever comes in will come out (implies waste) • Economic processes simply rearrange things
Laws of Thermodynamics Second law: The entropy law • All processes require energy - and as they do they reduce the quality of the energy used - increasing entropy in the universe • The arrow of time: over time we always will see an increase in entropy • Energy cannot be recycled - continually goes from a high quality state to a low quality state
Laws of thermodynamics • Implications for the earth as a whole – A closed system, and thus quantity of materials is constant – Constant flux of energy into the system – Energy cannot be recycled but materials can – No process is 100% efficient – Implications for economic systems?
Natural Capital • Capital: A stock that yields a flow of goods and services into the future • Natural capital: Those stocks in nature that provide goods and services into the future • Example: A fish stock (capital) yields a flow of goods (harvested fish) into the future
Natural Capital • Two types: – Renewable or active capital • Providing extractable renewable resources, and provide services without being extracted (ex. Waste assimilation). – Nonrenewable or passive capital • Inactive (passive). Provide no services until extracted. Ex. Fossil fuels – Perpetual resources - only provide flow services and have no stock counterpart
Stocks and flows
The Big Picture • Resources: – Flow resources – Stock resources • Nonrenewable • Renewable
Stock resources • Non-renewable • Depletable, scarce (if used) • Resources vs. reserves – Economic feasibility • Provide services only if extracted
Non-Renewable Resources
Non-Renewable Resources • Rate of regeneration is slower than extraction • St = St-1 + Gt - Et Where: Gt = 0 • Example: Fossil fuels - Others?
Economic theory of nonrenewable resources • Describes the optimal extraction path for non-renewable resources – Hotelling principle • By definition scarcity increases as extracted which should increase price – Has it?
Economics of non-renewable resources • Optimal extraction rule: Extract such that rent rises at the rate of interest • What happens if interest rates increase? Extract more? Less?
Economic theory of nonrenewable resources – Prices increase over time – Extracted quantity declines over time – Total size of the resource declines over time – All true in reality?
Economic theory of nonrenewable resources • More realistic picture • U-shaped price path – Technology – Scarcity – Shown by Slade 1982
Economic theory of nonrenewable resources • Is it possible to use non-renewable resources and be sustainable? • Why/why not? • If yes, how?
Renewable Resources • Rate of regeneration faster than rate of extraction • Are all active • Provide services when extracted and also when left in place • St = St-1 + Gt - Et Where: Gt >0 Example: fish stocks
Renewable resources Population dynamics • Population: a group of individuals belonging to the same species • Population dynamics: The dynamics of population growth and how populations interact • Crucial for the management of renewable resources
Renewable Resources Population growth • Focus on G • Exponential growth • Characterizes anything that can grow without limit • Pt = Pt-1*(1+r) • Doubling time: Log. N 2 =r*DT 0. 693 = r*DT DT = 70/r
Renewable Resources Population growth • Logistic or density dependent growth • Upper limit to the ultimate size • Determined by carrying capacity – What defines CC? • Growth curve u-shaped Growth determined by: Pt = Pt-1 + r*(CC - Pt-1)/CC
Renewable resources Original Equation • St = St-1 + Gt - Et • Extraction affects stock size. • Sustainable yield: extraction equal to growth • G=E
Renewable resources • Maximum sustainable yield (MSY) • Complex dynamics stock possibly grows drastically with decreased harvest
Renewable Resources Equilibrium and stability • Do populations ever reach an equilibrium? • Are growth curves ever smooth? • Can populations be stable without an equilibrium?
Renewable Resources • A) Dampened oscillations - falling amplitude • B) Constant oscillations constant amplitude • C) Exploding oscillations increasing amplitude collapse
Renewable resources Population interactions • No species lives in isolation • Predator prey (Lotka Volterra) • Competition • Symbiosis
Renewable resources • Resiliency - ability of a system to bounch back after a disturbance • What determines resiliency? – Diversity? – Keystone species? • The rivets analogy
The Big Picture • Waste: definition “Unwanted” byproducts of economic activity • Conservation of matter - always waste into the environment
Waste • Accumulation of waste • St = St-1 + W - D – W: inflow – D: assimilation • Function of S • D = d*S • With d from 0 -1 • Recycling or reuse possible, intercepts flow • Industrial symbiosis
Waste Damage relationships • Biomagnification – Increasing concentration as going up food-chain – DDT • Synergy: Two pollutants interact and create something worse - e. g. smog
Waste Damage relationships • Dose response curves – Relationship between exposure and damage • Thresholds • Lagged response
Amenity services • Pleasure of going to a park • Pleasure to run in a forest • Simply knowing that nature exists
Amenity services • Sustainable amenity service • Relationship between the quality of the service and the number of visitors
Life Support Services • Services that make human life possible – Purification of air and water – Stabilization and moderation of climate – Nutrient cycling – Pollination of plants
Interactions • Various services interact e. g. – Inflow of fossil fuels creates an outflow of carbon – Increasing temperatures, affecting other services
Summary • Various services received from nature • Valuable (33 trillion $) • Very complex dynamics – Non-linear movements – Lags – Thresholds – Interactions • Creates massive Uncertainty
Threats to Sustainability • Resource depletion • Waste accumulation • Loss of resiliency • What to do? • Why those threats?
Classical causes of Environmental degradation!
Markets and efficiency • Market: • Is a system in which buyers and sellers of something interact. • Something is exchanged in return for money • Illustrates individual preferences
Demand Supply Demand function: • Describes the relationship between the quantity the buyers buy and price of the product • Inverse relationship • Qd = 30 - 6 P • Maximum price – choke price • Usually not linear
Elasticity • Describes how quantity changes as price changes. 1=elastic 0=inelastic
Elasticity • • Elasticity of demand (Ed) Elasticity of supply Cross elasticity of demand or supply Income elasticity (IE) • Inferior goods (IE negative, Ed negative) • Normal goods (IE positive, Ed negative) • Luxury goods (IE positive, Ed positive)
Supply function • Describes the relationship between the quantity that sellers are ready to sell and price • Upward sloping
Market equilibrium • Bringing together buyers and sellers • At the market equilibrium D=S, and giving the market price • Illustrates efficient allocation of resources
Markets and Efficiency • Economics: Allocation by economic agents of scarce resources among alternative competing ends. • Three questions: – What ends to economic agents desire • (what to produce and how much) – What limited scarce resources do economic agents need to attain those ends • How to produce this? – What ends do get priority and how to share this among society
Welfare economics Answer: Maximize utility Utility • What people want, and the benefit from getting it, expressed via preferences • Increases via ever increasing provision of goods and services Maximum utility = maximum social welfare
Preferences • Expressed through the market by what goods and services people are willing to give up (read money) to get sth else • Willingness to pay
Allocative Efficiency • Adam Smith – Invisible hand • First theorem of welfare economics – Pareto efficient allocation (optimality) • Efficient allocation when noone can be made better of at the cost of others • Noone can gain at the cost of others+ • Only holds under “perfect markets”
Conditions for efficient allocation (“perfect markets”) • Competitive market – Price takers • Rational behavior • Full information • Full inclusion • Marginal benefit (MB) = marginal cost (MC)
MC = MB, D = S
Market failure • When allocative efficiency is not achieved • Conditions for a perfect market: – Full (complete) inclusion of all goods and services (all traded in markets), nothing external – Full (complete) information – Rational behavior – Competitive markets (price takers) – Property rights allocated – consumer sovereignty
Public goods • Public vs private goods • Public goods: Used collectively by society • Pure PG are non-rivalrous and non-excludable (pure vs. impure) – Non-rivalrous: consumption by one does not affect consumption by another • Crowding – Non-excludable: agent cannot be prevented from consuming and using it – Market does not handle allocation of such goods
Management concepts • Open access • Private property – Exclusive – Functional ownership • Common property – “the commons”
Externalities • Externality – The unintended and uncompensated sideeffects of one agents activities on another – Beneficial, or harmful • Positive externality (beneficial) – Ex. Orchards and the bee farmer • Negative externality (harmful) – Ex. Pollution affects a surrounding community
Internalizing Externalities
How to intervene to ensure effective allocation? • Coase theorem – Private property rights – Issues • High transaction costs • Number of agents • Intervention – Piguvian taxes (e. g. ) – Subsidies
Application of the Coase Theorem
External costs in the Automobile industry
External costs with tax
Enter the Environment • Nature/natural services – Non-market good • Rarely enter welfare functions, often excluded from economic decision-making • Services received free of charge – External to the market • Provide positive externalities • Affected by negative externalities – Property rights hard to define • Many cases considered public goods
Classical Causes of Environmental Degradation • Exclusion of the environment indicates market failure – Markets cannot allocate the environment efficiently – Agents (that operate based on price), do not have the means to allocate this resource effectively • Result: We overuse natural capital, extract too much and emit too much waste
Tragedy of the Commons • A group of herdsmen that all have to use common grazing lands. That is the grazing lands are all used in common and are the resource in question. • The herdsmen must use the grazing-lands to fatten their cattle - and thus they want to keep as many cattle on the grazing lands as possible. • Grazing lands are a renewable resource = overuse means degradation.
Tragedy of the Commons • Assume: – Profit maximization • Based on weight of each cattle times N – Rational behavior • Maximize profits, (minimize cost)
Tragedy of the Commons • Profits = P*Q • Costs = C*Q/N • Profits private • Costs are shared by all => More cattle added until Commons are ruined
Tragedy of the Commons • Can “Commons” Management ever work? – Strength of norm • Technology • Prices • Outsiders
What to do? • Get the market to internalize the environment • When? – In the presence of market failure • How? – Property rights – Market intervention • Policy
Sustainability = efficient markets? • Correcting market failure does not guarantee sustainability • Intergenerational equity • Exclusion of “non-productive” natural capital • Neoclassical perspective vs. Sustainability perspective
The Economy and the Environment • Economic Planner – maximize economic utility, economic growth, income • Environment excluded from framework • Relationship between the environment and income e. g. the EKC (later) • But, what is economic growth? (next time)
Next time What is economic growth?
- Slides: 77