Sensor for Transducers A transducer is a device

  • Slides: 15
Download presentation

Sensor for Transducers • A transducer is a device that is used to convert

Sensor for Transducers • A transducer is a device that is used to convert a non-electrical signal into an electrical signal whereas the sensor is used to measure the physical changes that occur in the surroundings like temperature, light, etc, and convert it into a readable signal.

A potentiometer is a passive electronic component. Potentiometers work by varying the position of

A potentiometer is a passive electronic component. Potentiometers work by varying the position of a sliding contact across a uniform resistance. In a potentiometer, the entire input voltage is applied across the whole length of the resistor, and the output voltage is the voltage drop between the fixed and sliding contact as shown below.

 • Eo=(x/L)Ei Or x= (Eo/Ei). L

• Eo=(x/L)Ei Or x= (Eo/Ei). L

Differential transformer

Differential transformer

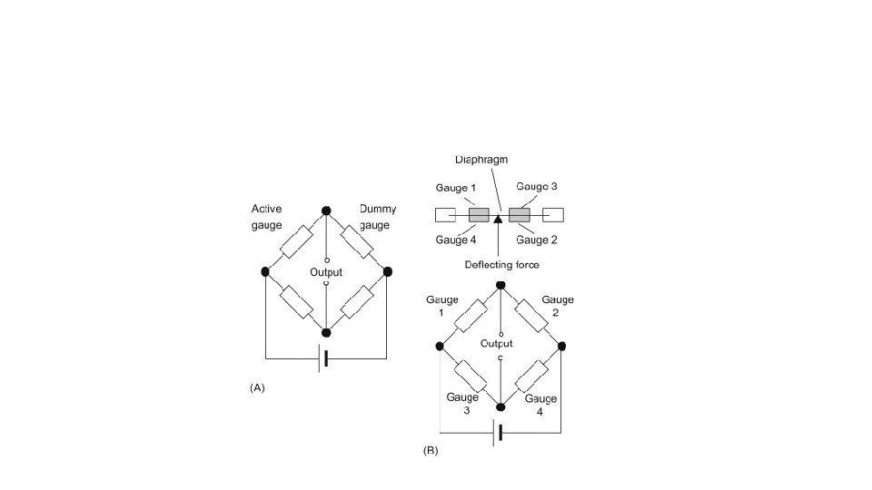
 • Strain gauges are often used with other sensors such as diaphragm pressure

• Strain gauges are often used with other sensors such as diaphragm pressure gauges or load cells. Temperature compensation is still required. While dummy gauges could be used, a better solution is to use four strain gauges with two of them attached so that the applied forces put them in tension and the other two in compression. The gauges that are in tension, gauges 1 and 3, will increase in resistance while those in compression, gauges 2 and 4, will decrease in resistance. The gauges are connected as the four arms of a Wheatstone bridge (Figure 2. 57(B)). As all the gauges and so all the arms of the bridge will be equally affected by any temperature changes the arrangement is temperature compensated. The arrangement also gives a much greater output voltage than would occur with just a single active gauge.