Routing Algorithms Lecture 29 30 Static Dynamic Direct

















- Slides: 17
Routing Algorithms Lecture -29 - 30 Static/ Dynamic, Direct/ Indirect, Shortest Path Routing, Flooding, Distance Vector Routing, Link State Routing, Hierarchical Routing, Broadcast Routing, Multicast Routing
• Routing Algorithm Basics - IIT Kharagpur Notes
What is Routing? • A famous quotation from RFC 791 “A name indicates what we seek. An address indicates where it is. A route indicates how we get there. ” -- Jon Postel 3
Forwarding vs. Routing • Forwarding: data plane – Directing a data packet to an outgoing link – Individual router using a forwarding table • Routing: control plane – Computing paths the packets will follow – Routers talking amongst themselves – Individual router creating a forwarding table 4
Why Does Routing Matter? • End-to-end performance – Quality of the path affects user performance – Propagation delay, throughput, and packet loss • Use of network resources – Balance of the traffic over the routers and links – Avoiding congestion by directing traffic to lightlyloaded links • Transient disruptions during changes – Failures, maintenance, and load balancing – Limiting packet loss and delay during changes 5
Static Vs. Dynamic routing • Routing can be classified as either static or dynamic. • In static routing, the network administrator sets up “turn by turn” directions for how traffic gets from one subnet to another, and from those subnets to other networks such as the Internet. For each destination network or subnet, the administrator adds a static route that specifies the next router on that network that should receive the packet, in order for it to get to its final destination. • When that next router receives the packet, it looks at its own static routes and determines the next “turn” the data must take on the way to its final destination. Eventually, a router along the path will look at the data packet and know, “You’re here! No more turns!” and deliver the packet to a host on a network to which it is directly connected. This provides a network admin with explicit control over the path of packets through the network.
• Dynamic routing works similarly, except instead of the network administrator having to manually specify how to get packets from one router to the next optimally, she can rely on the routers to figure out an efficient route on their own. Why would you want to do this? • In many large networks, maintaining an accurate set of static routing tables can be a very difficult task. Similarly, if a router goes down or if there is a cable break at some point along the route, it may be necessary to quickly revise the static routing tables to reflect new temporary routes between some subnets or networks. Again, this could be a time-consuming and errorprone task, made all the more difficult by impatient users calling to ask, “Why can’t I get to the Finance web site in Portland? ”. • With dynamic routing, a router communicates with other routers and when it discovers that a route isn’t working well (because it’s too slow, or packets aren’t getting through at all), it looks for and then selects an alternate route, much like you would when encountering congestion on the Interstate. This alternate route might not be as efficient or as reliable as the first one under ideal circumstances, but it is usually better than no route at all – with no extra work on the part of the network administrator. • most common dynamic routing protocols are OSPF, IGRP, BGP and RIP.
• • • Static Routing Static routing is not really a routing protocol. Static routing is simply the process of manually entering routes into a device's routing table via a configuration file that is loaded when the routing device starts up. As an alternative, these routes can be entered by a network administrator who configures the routes manually. Since these manually configured routes don't change after they are configured (unless a human changes them) they are called 'static' routes. Static routing is the simplest form of routing, but it is a manual process. Use static routing when you have very few devices to configure (<5) and when you know the routes will probably never change. Static routing also does not handle failures in external networks well because any route that is configured manually must be updated or reconfigured manually to fix or repair any lost connectivity. Dynamic Routing Dynamic routing protocols are supported by software applications running on the routing device (the router) which dynamically learn network destinations and how to get to them and also advertise those destinations to other routers. This advertisement function allows all the routers to learn about all the destination networks that exist and how to to those networks. A router using dynamic routing will 'learn' the routes to all networks that are directly connected to the device. Next, the router will learn routes from other routers that run the same routing protocol (RIP, RIP 2, EIGRP, OSPF, IS-IS, BGP etc). Each router will then sort through it's list of routes and select one or more 'best' routes for each network destination the router knows or has learned. Dynamic routing protocols will then distribute this 'best route' information to other routers running the same routing protocol, thereby extending the information on what networks exist and can be reached. This gives dynamic routing protocols the ability to adapt to logical network topology changes, equipment failures or network outages 'on the fly'.
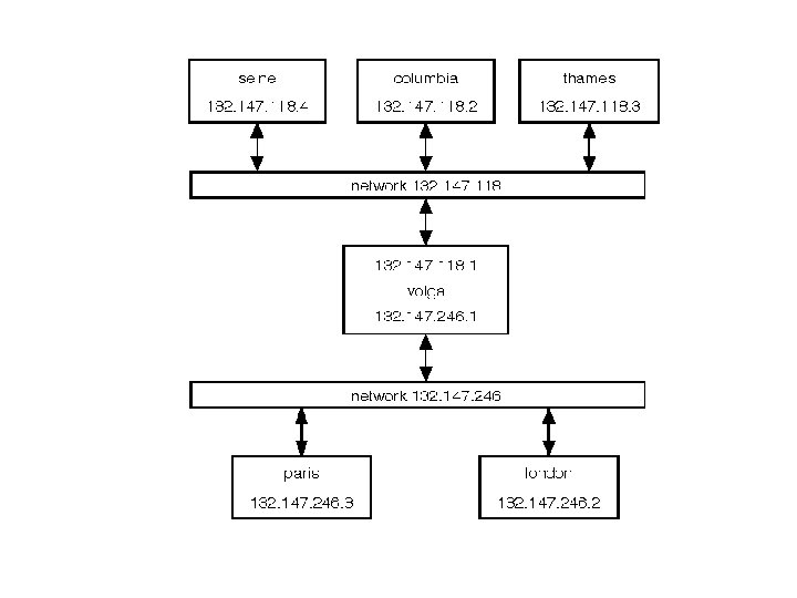
• Direct versus indirect routing • There are two types of routing: • direct When a machine can send an IP packet to another machine without going through a third machine, the route the packet will travel is said to be a ``direct route'' and the selection of that route is called ``direct routing''. In ``Example internetwork'', the machine columbia can trace a direct route to any of the machines on the 10. 0. 118 network (that is, seine, thames, and volga). The machine columbia cannot reach london or paris directly. • indirect When a machine wishing to send an IP packet to a second machine must send that packet through a third machine, the route the packet will travel is said to be an ``indirect route'' and the selection of the intermediary machine is called ``indirect routing''. The intermediary machine, a router, has connections to more than one network and is said to provide a gateway between the networks. Therefore, a router may also be called a ``network gateway''. In ``Example internetwork'', the machine volga is a network gateway between the 10. 0. 118 network and the 10. 0. 246 network. If the machine seine needs to send an IP packet to paris, it must send the packet to volga, which forwards the packet to paris. Sometimes the source and destination hosts are more than one network away from each other.
Shortest-Path Problem • Given: network topology with link costs – c(x, y): link cost from node x to node y – Infinity if x and y are not direct neighbors • Compute: least-cost paths to all nodes – From a given source u to all other nodes – p(v): predecessor node along path from source to v 2 3 u 2 p(v) 11 1 1 4 1 5 4 3 v
Dijkstra’s Shortest-Path Algorithm • Iterative algorithm – After k iterations, know least-cost path to k nodes • S: nodes whose least-cost path definitively known – Initially, S = {u} where u is the source node – Add one node to S in each iteration • D(v): current cost of path from source to node v – Initially, D(v) = c(u, v) for all nodes v adjacent to u – … and D(v) = ∞ for all other nodes v – Continually update D(v) as shorter paths are learned 12
Dijsktra’s Algorithm 1 Initialization: 2 S = {u} 3 for all nodes v 4 if v adjacent to u { 5 D(v) = c(u, v) 6 else D(v) = ∞ 7 8 Loop 9 find w not in S with the smallest D(w) 10 add w to S 11 update D(v) for all v adjacent to w and not in S: 12 D(v) = min{D(v), D(w) + c(w, v)} 13 until all nodes in S 13
Dijkstra’s Algorithm Example 2 3 2 1 1 4 1 14 4 4 5 3 1 1 4 1 5 4 1 1 1 2 3 2 2 3 5 4 3 2 3 2 1 1 1 4 4 5 3
Dijkstra’s Algorithm Example 2 3 2 1 1 4 15 4 5 3 1 1 4 1 5 4 1 1 1 2 3 2 2 3 5 4 3 2 3 2 1 1 1 4 4 5 3
Shortest-Path Tree • Shortest-path tree from u v u 1 2 1 w 16 y 2 3 4 • Forwarding table at u link 1 4 x 5 s z t 3 v w x y z s t (u, v) (u, w)