Perencanaan Jig and Fixture 25 September 2008 Komponen
Perencanaan Jig and Fixture 25 September 2008
Komponen • • • Elemen Penepat Elemen Penumpu Elemen Pencekam Elemen Pengarah Alat Potong Elemen Penyetel Alat Potong Elemen Operasi Pencekaman Elemen Penghasil Gaya Elemen Pemindah Gaya Rangka Elemen Pengikat
Bahan • Pertimbangan dlm memilih bahan JF – Tuntutan kekerasan dan ketahanan bahan terhadap keausan – Bahan Benda kerja – Jumlah benda kerja – Dimensi JF – Berat maksimum – Harga bahan – Biaya penyimpanan dan pengiriman bahan – Gaya dan tekanan permukaan – Mesin dan proses pemesinan – Batas waktu penyelesaian
Contoh Penggunaan Bahan • • • Ejector Elemen Penepat Elemen operasi Bus pengarah pengeboran Rangka jig and fixture dll
Resin dalam JF • Kelebihan penggunaan resin • Kekurangan Penggunaan resin • Contoh-contoh penggunaan resin
Konstruksi Jig and Fixture
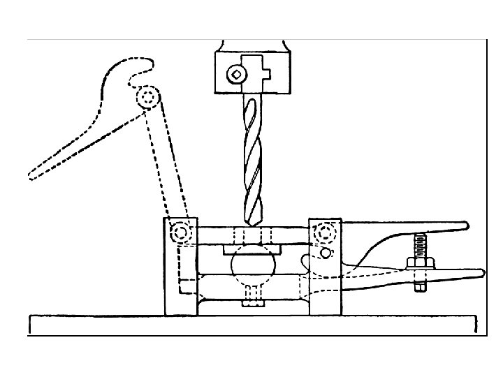
Jig Sandwich
Tuntutan Keamanan 1. 2. 3. 4. Tuntutan pengoperasian Tuntutan penanganan J&F Tuntutan Konstruksi Keselamatan kerja khusus pada mesin besar
Tuntutan Ekonomi 1. Biaya maksimal tidak boleh terlampaui 2. Target BEP harus terpenuhi
Tuntutan Fungsi 1. Ketelitian hasil harus terpenuhi 2. Peralatan, elemen dan benda kerja tidak boleh berubah bentuk 3. Kemudahan dalam pengoperasian
Tuntutan Ergonomis 1. Kenyamanan dalam pengoperasian 2. Dilengkapi dg alat penggerak, pemindah atau pengangkat 3. Disesuaikan dg karakter pengguna
Tuntutan Konstruksi 1. 2. 3. 4. Sesuai dg tuntutan pabrikasi Ringan dan kokoh Memperhatikan kualitas operator Mudah, cepat dan tepat diposisikan di atas meja kerja 5. dll
- Slides: 16