Nirma University System Architecture Basic Architecture of DCS
Nirma University System Architecture
Basic Architecture of DCS 2 Nirma University 12/7/2020
Nirma University SYSTEM ELEMENTS
DCS system element Basic element of DCS are v Field control station v Intermediate station v Central computer station v Monitoring and control facilities element v Data communication link Nirma University 12/7/2020 v 4
5 Field control station Nirma University 12/7/2020
Filed control unit Lowest level of DCS It consist a few ( 1 or 8 or 32 ) measuring points or control loop The primary function of field control unit is to Collect and pre process analog and digital signals Monitor and log the alarming message Perform open loop and close loop control functions Nirma University 12/7/2020 6
BUS oriented Internal structure of MICON P-200 (VDO) 7 Nirma University 12/7/2020 Back up data transfer RAM (10 K) Microprocessor PROM (24 K) Vertical Data Transfer Lateral Data Transfer Analog Output (AO) Digital Output (DO) Internal BUS Display and Command Analog Inputs (AI) Digital Inputs (DI)
Internal structure of filed station 8 Nirma University 12/7/2020
Filed control unit- I/O Devices Its consists the process interface , a separate serial bus so that input output communication capacity of the station increase The second bus used for interconnection between neighboring station. Analog input: Input current: 0 -20 ma, 4 -20 ma Input voltage: 0 -5 v, 1 -5 v, 0 -10 v Thermo elements: 0 -25 mv, 0 -50 mv, -10 to +10 v Resolution: 8 -12 bits Nirma University 12/7/2020 9
Filed control unit- I/O Devices output voltage: 0 -5 v, 1 -5 v, 0 -10 v output current: 4 -20 ma, 0 -20 ma Binary input : Input current: 0/10 ma, 0/100 ma, 0/200 ma Input voltage: 0/24 V Binary output : output current: 0/10 ma, 0/100 ma, 0/200 ma output voltage: 0/24 V Nirma University 12/7/2020 Analog outputs: 10
Filed control unit- I/O Devices Ø RS-3 and TDC 3000 DCS system : - 128 Ø MOD 300, AS 215 DCS system : - 256 Ø AS 220, As 230, ASEA master : - 1024 Ø BINARY input output per station: Ø WDPF, CENTUM , ASEA MASTER, NETWORK 90: 512 Ø AS 230 : 4096 Ø TIMER , COUNTER , MOTOR CONTROL, STEPPER , POSTION , PULSE CONTROL Nirma University 12/7/2020 Ø Total number of analog input and output per field station is 4, 8, 16, 48 or 64. 11
Ø TDC 3000 - RS 232 Ø P 4000, RS-3 and WDPF – RS 422 Ø A 500, PROCONTROL 1 – RS 485 Ø Network 90 , PLS 80 - IEEE 488 Ø A 500 - Bit bus Ø ASEA Master , PLS 80, MICON- MODBUS Ø ASEA master , MOD 300 - MAP/Ethernet 12 Nirma University 12/7/2020 Filed control unit- Communication Interface
Intermediate stations Ø The stations are the autonomous systems elements with the restricted domain of influence to a group of field stations, pertaining to a closed, well defined, and relatively autonomous part of the plant. Ø The most common functions of the intermediate stations are Ø State observation of the process variables Ø Calculation of reference values for control loops at “ lowest ‟ level (SV & PV) Ø Tracking of order processing and material and energy balances Ø Efficiency analysis and Reporting Ø Data exchange with “higher” level stations (central station) Nirma University 12/7/2020 Ø The intermediate functional system units which are placed in between the lowest and the highest hierarchical levels are known as group or supervisory stations. 13
14 Intermediate stations Nirma University 12/7/2020
Central Computer Station Ø The stations connected to other system through the system bus which can initiate the necessary data transfers. Ø Central computer station also called process operator console Ø Its consist the display unit for plant monitoring and keypad for plant control Ø Functions of the central computer control can be classified as Ø Plant oriented Ø General application Nirma University 12/7/2020 Ø Central computer station enables centralized plant monitoring, direct operation on plant instrumentation, and offers important program generation and system diagnostics services. 15
Central Computer Station Ø Data collection and retrieval Ø Inter level communications Ø System diagnosis Ø General application Ø Program generation and test Ø Scientific and commercial calculations Ø System simulations Nirma University 12/7/2020 Ø Plant oriented Ø Process display and control 16
Monitoring and Command Facilities Ø Message area Ø Overview area Ø Main display area Ø Operator’s instruction area Nirma University 12/7/2020 Ø Screen Partition 17
Hierarchical Structure of Monitoring 18 Nirma University 12/7/2020
19 Overview Area Nirma University 12/7/2020
20 Bar Representation Nirma University 12/7/2020
21 Group Display Nirma University 12/7/2020
22 Control Loop Display Nirma University 12/7/2020
23 Nirma University 12/7/2020
YOKOGAVA Centum CS 3000 24 Nirma University 12/7/2020
Nirma University
Human Interface Station (HIS) Ø It also incorporates open interfaces so that supervisory computers can access trend data, messages, and process data. Ø Console Type HIS Ø This is a new console type human interface station, at which a general purpose PC is installed. Ø There are two types of console type HISs: Ø Enclosed display style: usual style appearance Ø Open display style: selectable configurations Ø Desktop Type HIS Ø This HIS uses a general purpose PC Nirma University 12/7/2020 Ø The HIS is mainly used for operation and monitoring – it displays process variables, control parameters, and alarms necessary for users to quickly grasp the operating status of the plant. 26
27 Enclosed display style Nirma University 12/7/2020
28 Open display style Nirma University 12/7/2020
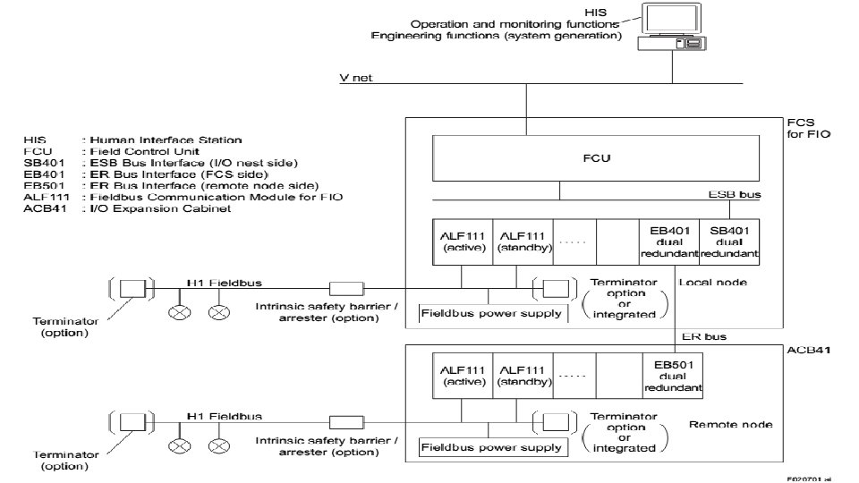
Field Control Station (FCS) Ø This FCS uses the Fieldnetwork I/O (FIO) modules, which are compact and consist of various lineup such as the connector types and so forth. Ø According to the application capacity, there are the standard model and the enhanced model. Ø Compact FCS for FIO Ø This is a compact FCS with I/O modules integrated into the Field Control Unit. Ø FCS for RIO Ø This FCS uses the Remote I/O (RIO) modules, which have many installation bases and M 4 screw terminals to connect signal cables. Ø According to the application capacity, there are the standard model and the enhanced model. Ø Compact FCS for RIO Ø This controller is usually installed near the equipment or process it controls, and is ideal for communicating with subsystems. Nirma University 12/7/2020 Ø FCS for FIO 29
30 Nirma University 12/7/2020
31 Compact FCS for FIO Nirma University 12/7/2020
Nirma University
Nirma University
Engineering PC (ENG) Ø It can be the same type of general-purpose PC as the HIS, and can even be the same PC as the HIS. Ø By having HIS operation and monitoring functions on the same PC, you can use the test (control station emulation) functions to provide an efficient and easy-touse engineering environment. Nirma University 12/7/2020 Ø This is the PC with engineering functions used to perform CENTUM CS 3000 system generation and maintenance management. 34
35 Nirma University 12/7/2020
36 Nirma University 12/7/2020
37 Nirma University 12/7/2020
38 Nirma University 12/7/2020
39 Nirma University 12/7/2020
40 Nirma University 12/7/2020
41 Nirma University 12/7/2020
42 Nirma University 12/7/2020
43 Nirma University 12/7/2020
44 Nirma University 12/7/2020
45 Nirma University 12/7/2020
46 Nirma University 12/7/2020
47 Nirma University 12/7/2020
48 Nirma University 12/7/2020
Other Major Components Ø This links the V net system bus to another CENTUM CS 3000 domain or to an existing CENTUM or µXL system. Ø Communications Gateway Unit (CGW) Ø This links the V net control system bus to an Ethernet bus (to a supervisory computer system or general purpose personal computer). Ø By CGW wide area communication function, you can also link two CENTUM CS 3000 V nets in different places using a dedicated telephone line. Ø Migrated Field Control Station (RFCS 2) Ø You can leave the I/O cards and field wiring of a CENTUM-XL or CENTUM V system “as is”, and replace the CPU nest with an KFCS, which can be connected to the V net just like a CENTUM CS 3000 system FCS. Ø SI bus is used as a (dual-redundant) bus connecting existing FCS I/O units to new FCS CPU. Nirma University 12/7/2020 Ø Bus Converter (BCV) 49
Other Major Components Ø The Advanced Process Control Station (APCS) is a personal computer (PC) connected to the V net and applied to advanced process control and efficiency improvement. Ø Generic Subsystem Gateway Package (GSGW) Ø GSGW is a PC connected to V net. It uses OPC servers for subsystems, facilitating subsystem data acquisition and setting without creating specific communications programs. Ø Exaopc Ø This provides OPC Server functions to enable applications in a supervisory PC to access CENTUM CS 3000 data. It provides a link between control layer and business data processing layer. Nirma University 12/7/2020 Ø Advanced Process Control Station (APCS) 50
Other Major Components Ø These can run MES and ERP integrated business management software. They can access the DCS via Exaopc or CGW. Ø Safety Instrumented System (Pro. Safe-RS) Ø Pro. Safe-RS is a dedicated system to prevent probability and spread of accidents when it is used as an interlock device, emergency shutdown system and fire and gas protection. Ø Safety Engineering PC (SENG) Ø This is a component equipped with engineering, test and maintenance functions to generate system and manage maintenance for safety control station (SCS). Ø Safety Control Station (SCS) Ø This is a safety controller that executes logics for systems including interlock, emergency shutdown and fire and gas protection. Nirma University 12/7/2020 Ø Business Information PCs and Supervisory Computers 51
Other Major Components Ø The V net real-time control system bus links stations such as FCS, HIS, BCV and CGW. Dual-redundant V net support is standard. Ø Ethernet is used to link HIS, ENG and supervisory systems. It is also used for transferring data files to supervisory computers, and for HIS data equalization. Ø Fieldbus Ø The FOUNDATION Fieldbus is a multidrop digital communications bus for field instruments, and is expected to replace the conventional 4 to 20 m. A analog interface Nirma University 12/7/2020 Ø V net 52
53 When the V net is extended, Field Control Stations distributed around a large plant can be monitored from HIS in a central control room. Bus repeaters and optical repeater pairs can be mixed, up to four sets in total, to extend the V net up to 20 km. Nirma University 12/7/2020
Nirma University
References Ø http: //www. yokogawa. com/dcs/products/cs/overview/dc s-cs-0101 en. htm Nirma University 12/7/2020 Ø Reference : Distributed computer control for industrial automation by Popovic & Bhatkar. 55
- Slides: 55