Module III Processor Organization and Architecture Control Unit



















































- Slides: 51
Module III Processor Organization and Architecture
Control Unit
Control Unit Implementation • Control unit implementations fall into one of two categories: • Hardwired implementation • Microprogrammed implementation
Hardwired implementation • In this, the control unit is essentially a state machine circuit. • Its input logic signals are transformed into a set of output logic signals, which are the control signals
Control Unit Inputs • Inputs: – Instruction Register, Clock, – Flags & control bus signals (can be directly used) • Instruction Register – Uses opcodes to perform different actions for different instruction – There should be unique logic input for each opcode : performed by decoder (n-bits 2 n outputs , each will activate a single unique output)
Control Unit Inputs • Clock – CU requires different control signals at different time units and hence a timing generator is used
Control Unit with decoded inputs
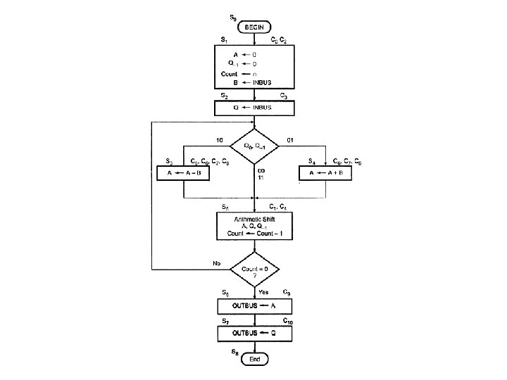
Hardware Control Unit Design • Consider the operation of the control unit – E. g. 2’s compliment multiplier
Control Unit for Multiplier
Hardware Control Unit Design • List the control signals needed for the control unit. – A control signal is associated with each distinct action/operation. – A common control signal can be used for parallel operations – E. g. Control signals for 2’s compliment multiplier
Control Signals for Multiplier
Hardware Control Unit Design • With this information , we can apply 4 design techniques for hardware implementation. • The methods are: – State -table Method – Delay-element Method – Sequence-counter Method – PLA Method
State-table Method • It is the standard algorithmic approach for sequential circuit design • In this method every micro-operation block is associated with a state in state table for control circuit
Example of multiplier
Example of multiplier • State table for the control unit can be directly derived from the flowchart.
State table for Multiplier
State-table Method • Once the state table is ready it can be implemented using JK flipflops. • Advantages: – Simplest method to implement • Disadvantages: – If there is large number of states and input combinations, the size of table becomes large and thus it will be difficult to implement
State-table Method • Disadvantages: – State table hides useful information like loops and repeated patterns. Thus two states with same behavior may require different hardware. – Circuits designed tends to have a random structure and thus difficult to debug and maintain.
Delay-element Method • Since the control signals are to be activated in a proper sequence, there is a specific time delay between activation of two conjugative control signals • Thus a sequence of delay elements can be used to generate control signals • To synchronize, the delay elements are made of D flipflops and controlled by common clock signal.
Delay-element Method • A control unit using delay elements can be constructed directly from flowchart. • It is also called one-shot method.
Rules to derive control circuit from flowchart • Rule 1: – Each sequence of two successive micro-operations require a delay element. – The control signals are taken directly from input and output of delay element.
Rules to derive control circuit from flowchart • Rule 1: – The signals for same control line are logically ORed to get one common output signal
Rules to derive control circuit from flowchart • Rule 2: – The n lines from the flow chart merge to a common line are transformed into OR gate
Rules to derive control circuit from flowchart • Rule 3: – A decision box is implemented by 2 AND gates
Delay-element Method. Multiplier
Delay-Element Method • Advantage: – In case of loop, same hardware can be used and hence hardware requirement is less. • Disadvantage: – No. of delay elements is equal to the no. of states, thus for lots of states circuit becomes large. – Synchronization becomes difficult , if there are lots of D-flipflops
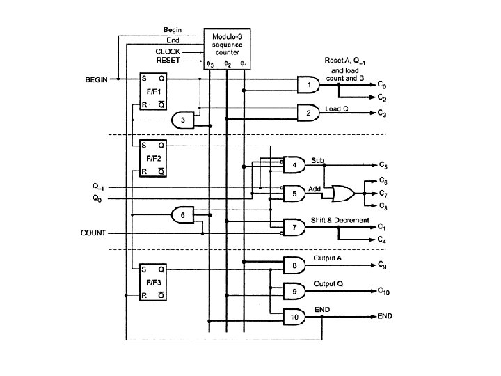
Sequence-counter Method • The sequence counter consist of – Modulo k- counter – 1/k decoder – Input signals to control the operation of counter
Sequence-counter Method • When count enable input is connected to clock source, decoder generates k phase signals separated by one clock period
Sequence-counter Method • Two input lines begin and end turn the counter on and off • Begin causes the counter to begin • End disconnects the clock and resets the counter
Sequence-counter Method • The phase signal activates control lines for each micro-operation • As instruction changes, micro-ops change which must activate another set of control lines • To activate this, logic circuit is connected to the counter
Sequence-counter Method
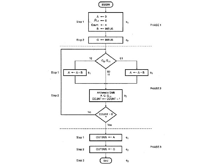
Multiplier using Sequence Counter
Phase 1 • Do initial Settings • Step 1: A 0 Q-1 0 COUNT n B INBUS • Step 2: Q INBUS
Phase 2 • Phase 2 is repeated n times and has 2 steps: • Step 1: A A – B or A A+B and • Step 2: Arithmetic Shift A, Q, Q-1 and Count -1
Phase 3 • • Phase 3 involves 3 steps Step 1: OUTBUS A Step 2: OUTBUS Q Step 3: Activate END
Multiplier using Sequence Counter
Phase 1
Phase 2
Phase 3
Sequence-counter Method • Advantage: – The use of hardware is minimal, hence suits large complex control circuits • Disadvantage: – It is expensive for simple control circuits.
PLA Method • For large control units VLSI Technology is used to design control units. • E. g. PLA (Programmable Logic Array) • PLA consists of an array of AND gates followed by an array of OR gates. • It can be used to implement combinational logic functions of several variables
Blok Diagram of PLA
PLA Method • We can give instruction code, contents of control step counter, flags and condition codes as input to PLA to get control signals as output.
PLA Method
Advantages of Hardwired Control Unit • Works faster as combinational circuits generates control signals based on input status.
Disadvantages of Hardwired Control Unit • Complex in design if it requires larger number of control points • No flexibility : difficult to make corrections or to add a new feature • Uses too many logic gates.