Mass and Energy Balances Stripping Section and Partial
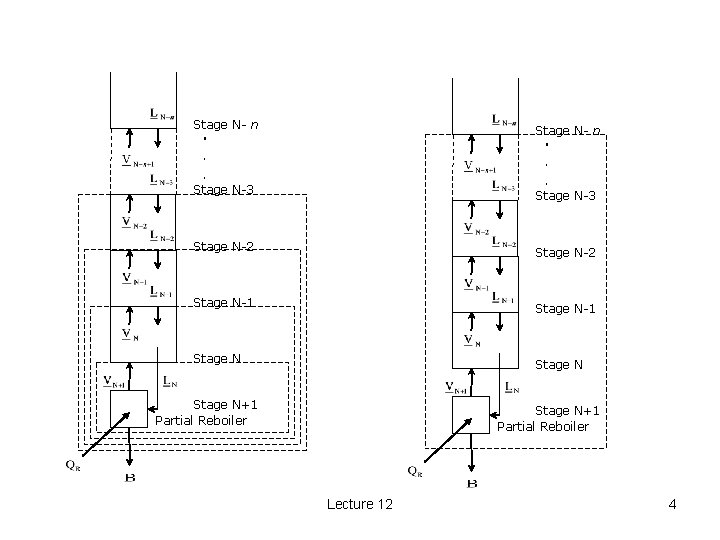
Mass and Energy Balances – Stripping Section and Partial Reboiler o o The previous mass and energy balances apply only to the enriching section. At some point down the column, we will have a feed to one of the equilibrium stages – the feed stage. At this feed stage, the enriching section of the column ends. o At the feed stage we have the introduction of additional liquid and/or vapor depending upon the nature of the feed stream. o Liquid from the feed stream will flow down the column and vapor from the feed stream will rise up the column. o Consequently, the ratio of vapor to liquid in the enriching section above the feed stage is generally different than that in the stripping section below the feed stage because of the feed between these two sections. Lecture 12 1
Enriching or Rectifying Section Feed Stage Stripping Section Lecture 12 2
Mass and Energy Balances – Stripping Section and Partial Reboiler o While we have designated the vapor and liquid streams in the enriching section as L and V, we will designate the vapor and liquid streams in the stripping section using an “underline” or V and L (in place of the “overbar” in the text) to delineate them from those in the enriching section. o L/V < 1 in the enriching section. o Conversely, L/V > 1 in the stripping section. o Let’s look at the mass and energy balances for the stripping section of the column with a partial reboiler. Lecture 12 3
Stage N- n ∙ ∙ ∙ Stage N-3 Stage N-2 Stage N-1 Stage N+1 Partial Reboiler Lecture 12 4
Mass and Energy Balances – Stripping Section and Partial Reboiler Lecture 12 5
Constant Molar Overflow (CMO) Assumption – Stripping Section o o Just as we did for the enriching section, we will assume that for every mole of liquid that vaporizes at an equilibrium stage, an equivalent amount of vapor condenses, then the LN-n’s are constant and the VN-m+1’s are constant in the column – the CMO assumption. We can then rewrite the component mass balance as: Lecture 12 6
Indices o Let’s do an indices substitution. If we let k = N-n-1; then k = N+1, N, N-1, N-2, … then the previous equation can be rewritten as: o Note that this allows us to arrive at the indices used by Wankat, e. g. , Eq. (5 -14), which we can derive from this equation. Lecture 12 7
Stripping Section Operating Line o o Just as we did for the enriching section, we can also drop the indices from the CMO equation for the stripping section noting that the vapor and liquid compositions, yk and xk-1, represent the vapor and liquid compositions at equilibrium at stage k. Just as we derived the enriching section operating line (OL) from the mass balances and assuming CMO, this equation is the OL for the stripping section. Lecture 12 8
Stripping Section Operating Line o The stripping section operating line (OL) for a distillation column (assuming CMO) is a linear equation with: slope y-intercept o L/V and –(B/V)x. B Note that the L/V ratio for the stripping section of a distillation column will always be greater than one, L/V > 1, since there will be a greater amount of liquid than vapor in the stripping section below the feed stream. Lecture 12 9
Alternative Stripping Section OL – Liquid to Vapor Ratio Lecture 12 10
Stripping Section OL and y = x Intersection Lecture 12 11
Distillation Column – Stripping Section Operating Line Lecture 12 12
Feed Stage o At some point down the column, we introduce the feed at the feed stage. o The phase and temperature of the feed affects the vapor and liquid flow rates in the column. o If the feed is a liquid, then L > L. o If the feed is a vapor, then V > V. o The feed may also be flashed into the column yielding both vapor and liquid – remember flash distillation! o Remember, however, L/V < 1 and L/V >1. o Let’s look at the feed stream and how we handle it… Lecture 12 13
Stage f-1, j Stage f, j+1, k-1 Stage f+1, k Lecture 12 14
Mass and Energy Balances – Feed Stage Lecture 12 15
Constant Molar Overflow (CMO) Assumption – Feed Stage o Just as we did for the enriching and stripping sections, we will assume CMO for the feed stage and drop the indices. We also add the liquid and vapor designations for our enthalpies in the energy balance. Lecture 12 16
Handling Feed Stream Conditions o o o Since the nature (both phase and temperature) of the feed affects the column’s liquid and vapor flows, we need to derive a method for handling these various types of possible feeds. It would be useful to derive such a method that allows us to readily incorporate a parameter that accounts for the condition of the feed stream. We will start with the total mass and energy balances around the feed stage… Lecture 12 17
Some Manipulations… Lecture 12 18
“Quality” q Lecture 12 19
OL Intersection Lecture 12 20
Another Mass Balance – OL Intersection Lecture 12 21
Some Further Manipulations – General Feed Line Lecture 12 22
Some Further Manipulations – Another Feed Line Lecture 12 23
Feed Line o o o The previous equation is the feed line for the column in terms of quality q. This should look familiar – it is the same as the operating line that we obtained from the mass balances for flash distillation! We can use the conditions of the feed to determine q from its enthalpy relationship: Lecture 12 24
Feed Line Equations o By inspection from the results of our flash distillation operating lines, the feed line can also be expressed in terms of fraction of feed vaporized, f = V/F. This, as well as the other feed line equations, are summarized below: Lecture 12 25
Feed Line and OL Intersection o o o Remember that we derived these feed line equations from the intersection of the enriching section and stripping section OL’s. It can be shown that the feed line also intersects the OL’s at their intersection – all three lines intersect at the same point. We will need to use this intersection point in our solutions… Lecture 12 26
OL and Feed Line Intersection Lecture 12 27
Possible Feed Stream Conditions o o We assume that the incoming feed is adiabatically flashed to the column pressure, Pcol. We can have 5 possible feed stream conditions for a given feed composition z. F: n n n Subcooled liquid feed if TF < Tbp Saturated liquid feed if TF = Tbp Two-phase feed if Tbp <TF < Tdp Saturated Vapor if TF = Tdp Superheated Vapor if TF > Tdp Lecture 12 28
Saturated Liquid Feed – Given TF = Tbp Lecture 12 29
Saturated Vapor Feed – Given TF = Tdp Lecture 12 30
Two-Phase Feed – Given f Lecture 12 31
Two-Phase Feed – Given TF Lecture 12 32
Subcooled Liquid Feed – Given c c Lecture 12 33
Subcooled Liquid Feed – Given TF < Tbp c Lecture 12 34
Superheated Vapor Feed – Given v v Lecture 12 35
Superheated Vapor Feed – Given TF > Tdp v Lecture 12 36
Possible Feed Lines Lecture 12 37
End of Lecture 12 38
- Slides: 38