INTERVENCIN DE REFUERZOS ESTRUCTURALES EN EDIFICIOS EXISTENTES ELEMENTOS















- Slides: 15
INTERVENCIÓN DE REFUERZOS ESTRUCTURALES EN EDIFICIOS EXISTENTES ELEMENTOS SOMETIDOS A FLEXIÓN Trabajo de Fin de Grado Lidia Limones Ahijón Tutor: Joaquín Antuña Bernardo (DEFE) Madrid, Enero 2016
Índice. 1. Refuerzo de estructuras. Introducción 2. Rango de validez del catálogo de soluciones propuestas i) Refuerzo superior por losa de hormigón ii) Refuerzo inferior por banda resistente a tracción iii) Refuerzo con perfiles metálicos inferiores 3. Anejo de cálculos 4. Futuras líneas de trabajo 5. Bibliografía
REFUERZO SUPERIOR POR LOSA DE HORMIGÓN
Forjado convencional. Consideradas resistencias de forjado de 75, 80, 85, 90 y 95%. Para un intervalo de luces de 4 a 7 metros. Caso considerado del 95 %.
REFUERZO INFERIOR CON BANDA RESISTENTE A TRACCIÓN Deformación de la sección: εc / (εc+εr) = x/h y εr / (εc+εr) = (h–x)/h Deformación de la pieza (arco de circunferencia): εc+εr = (δ/L) x (8/λ) Limitación de la flecha: la tensión máxima admisible que podrá alcanzar el refuerzo es: σr = Er x εr εc / εr = x(h-x)
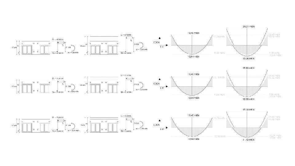
REFUERZO CON PERFILES METÁLICOS INFERIORES.
Procedimiento Mecanoviga Procedimiento Noubau Sistema HERMS
Bibliografía. ÁVILA JALVO, José Miguel. “Apuntes. Intensificación en estructuras. ” 2014. ÁVILA JALVO, José Miguel, ÁVILA NIETO, Miguel. “Puesta en carga en obra de refuerzo de hormigón sometidas a flexión. ” INSTITUTO EDUARDO TORROJA. “Documento de idoneidad técnica. Sistema de reparación de forjado de viguetas. ” 2014. INSTITUTO EDUARDO TORROJA. “Documento de idoneidad técnica. Sistema HERMS. ” 2013. INSTITUTO EDUARDO TORROJA. “Documento de idoneidad técnica. Sistema de reparación de forjado de viguetas NOUBAU. ” 2011. INSTITUTO EDUARDO TORROJA. “Documento de idoneidad técnica. Sistema de reparación de forjado de viguetas UNDO. ” 2009. RAMÍREZ ORTIZ, J. L. , BÁRCENA DÍAZ, J. M. “Comparación resistente de cuatro métodos de refuerzo de pilares de hormigón armado. ” 1977. ESPECHE, Ariel, LEÓN, Hugo. “Refuerzo de pilares con encamisado de hormigón. Un enfoque distinto. ” ETS de Ingenieros de Caminos, Canales y Puertos. Universidad Politécnica de Madrid. PÉREZ VALCÁRCEL, Juan. “Apuntes de patología estructural. ” ADELL ARGILÉS, J. M. ”Arquitectura sin fisuras. ” AA. VV. 1984. “Curso de rehabilitación. La estructura. ” COAM. Tomo 5. AA. VV. 1988. “Patología y técnicas de intervención. Elementos estructurales”. Tomo 3. AA. VV. 2006. “Enciclopedia de patologías de la construcción. Elementos constructivos II. ” Tomo 5. ÁBASOLO, A. “Apeos y grietas de la edificación. ” 1996. CARBONELL de MASY, M. “Protección y reparación de estructuras de hormigón. Edificios, obras hidráulicas y viales. ” 1995. GRUNAU, Edvard B. “Lesiones en el hormigón, protección y reparación de estructuras de hormigón. ” 1988. CALAVERA RUIZ, José. “La estructura. ” COAM. 1984. BLEVOT, Jean. “Patología de la construcción de hormigón armado. Enseñanzas extraídas de la práctica. ” 1977. WEBER, Guía. “Reparación del hormigón, anclajes y montajes. ” 2007.