Heat Pump Defrost Controls Follows Pub No 34
Heat Pump Defrost Controls Follows Pub No. 34 -4101 -07
Theory of Operation page 3 • DFCs use a temperature sensing switch and a electronic timer circuits with on board relays to control the outdoor fan, switch over valve, heat strips and EDR • The DT is usually attached to the lowest circuits of the outdoor coil • The DT contact close at 40 degrees or below (Temp is not standard for all models check service facts)
Theory of Operation page 3 • Compressor run time is accrued and memorized by DFC as long as “Y” call (24 V AC applied between DFC Y & B Terminals) is made from indoor thermostat. When the DT switch contacts are open and the call for Y is removed the timers is reset to Zero and restarted on the next call on Y
Theory of Operation page 3 • When the DT switch contacts are closed and the indoor thermostat terminate the call for Y. The timing is memorized and will resume on the next Y call. • The DFT Timer is activated when 24 VAC is applied to DFT R&B terminals. • The Test pins should not be jumped unless attempt is being made to speed up timer.
Theory of Operation page 3 • A defrost cycle is initiated when the DT switch contacts close and the compressor run time has accrued the preset run time. • When Defrost is initiated, the DFC stops the out door fan, energizes the auxiliary heat and reverses the refrigerant cycle to the cooling mode by energizing the SOV.
Theory of Operation page 3 • The Defrost cycle is terminated when the DT switch opens (50 to 70 degree outdoor coil temp. ) or the 10 minute timer overrides has elapsed. • TST pins are shorted the timing is divided by 256 (90 minutes = 20 seconds)
CNT 1642
Service Checks page 4 • Short R to D • Momentary Short TST • Remove short when outdoor fan stops
24 V Service Checks
24 V Service Checks
24 V Service Checks
Control Checkout Page 5
Timer Defrost Control Supersedure Page 5
Adaptability • The latest control models are applicable to many different heat pump products with up to 14 SEER ratings and minimize ID/OD mismatch and various electrical installation problems.
Logic Process • Microcomputer logic is used to monitor • Uses two remote sensors • Learning process
Defrost On Demand • Controls permit defrost only when coil icing conditions begin to cause serious heat pump capacity reductions.
Diagnostics • Detected faults displayed by flashing Light Emitting Diode (LED) on circuit board. • Board provides output signal that can flash emer. heat light on the indoor thermostat • Fault circuit not found on newest boards
Time Override • The Control prevents the system from being locked into the defrost cycle by automatic time termination.
Soft Switch-over • The outdoor fan comes back on 12 seconds before switch over valve coil is deenergized • This allows the Head pressure in system to be reduced • Lower Refrigerant Velocity • Prevents liquid hammer
Theory of Operation Page 10 • Uses Two Thermistor sensors
Theory of Operation Page 10 • ODS-B • Located just below the control box • with fan running senses ambient air temperature
Theory of Operation Page 10 • The DFC is power by the system 24 V power • DFC is activated when 24 V is applied between DFC R and B and the test lead is on the “NORM” pin • LED will flash once per second
Theory of Operation Page 10 • First power up with the outdoor temperature below 52 F and the coil sensor temperature is below 36 F and the control has counted 30 minutes of run time the DFC will initiate Defrost (2 min. run time) • DFC records clean coil Delta T • Next defrost will be on demand
Theory of Operation Page 10 • Defrost cycle is initiated when the current T exceeds the T initiate = current T X 2. 0 + temperature bin correction factor • The initiate T is not a constant value, but is a value that the DFC calculated for a complete defrost cycle at that specified out door temperature.
Theory of Operation Page 10 • Ambient air sensor is turned off while DFC is in the defrost mode. • Defrost termination as soon as one minute • Memorized pre-defrost cycle ODT conditions are used to determine coil T terminate values.
Test Modes Page 11 • TEST MODE • To speed up defrost cycles times • Move Red jumper from NORM to TST • LED rapid flash
Test Modes Page 11 • FORCED DEFROST • Use instead of TST • Doesn’t Require sensors to enable
Test Modes Page 11 • FORCED FAULT • Not applicable to defeatured boards • move red jumper from normal to FRC FLT • reset by moving emerswitch on thermostat on and then off
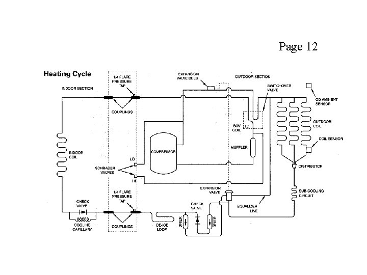
Page 12
Page 12
Fault Detection page 13 • FAULT A • • • 2 quick Flashes per second Low delta-T or low Heat Pump capacity Inoperative compressor Shorted coil sensor Open ambient sensor Flashes LED after three times Defrost terminates with Low delta T
Fault Detection page 13 • FAULT B • 3 quick flashes per second • Defrost terminates on maximum override time of 15 minutes instead of temperature • DFC will become timer defrost control after 10 consecutive terminations on maximum override • Every 30 minutes (not reported to thermostat)
Fault Detection page 13 • FAULT C • • 3 quick flashes per second Vary high delta-T SOV stuck in heat mode Inoperative solenoid outdoor fan failure open coil sensor shorted ambient air sensor Will reset if system returns to normal
Fault Detection page 13 • FAULT A and B or A and C • • • 4 quick flashes per second 60 or more A faults and 1 or more B faults 60 or more A faults and 1 or more C faults Will flash fault light Will reset if system returns to normal
Page 14
Page 15
Sensor Check Page 16 • Measure the Temperature the sensor is exposed to. • When the coil sensor temp. is measured. You must measure tubing temperature that the sensor is measuring.
Sensor Check Page 16 K • Unplug the sensor from the DFC • Measure the resistance with a good quality Ohmmeter • Read the value as quickly as possible • This will prevent meter current from changing value
Values Correct In Book Sensor Check Page 16 12. 3 K = 68. 7 • Using the chart on page 16 • Locate the closely as possible the actual sensor temperature • We measured a ohm value of 12. 3 K and a sensor temperature of 70 F
Service Checks • Must have 24 V - 30 V to R and B or control is brain dead
Service Checks • Must have 24 V to 30 V to Y and B also to initiate Defrost.
Service Checks • Insure that the sensor are OK • Measure Voltages at Y and B and R and B • Common and N. C on fan relay
Page 17
Page 18
ECM Control Fan Motor Page 19
New Generation De-featured Controls Page 20 • Used with Reciprocating and Scroll Compressor Units • Last Quarter of 1998 eight New boards • Check Service Literature for suitable replacement • DFC for Scroll compressor time delay • MS control coil is powered by YO from DFT TM • Lite Port
“LITE PORT” • Emerging Technology • Will utilize Optical Coupler and Computer • Code from LED will be interpreted to gather more details of operation • You will see more on this in the future
Page 23
Page 24
Page 25
Page 26
Page 27
Page 28
Page 29
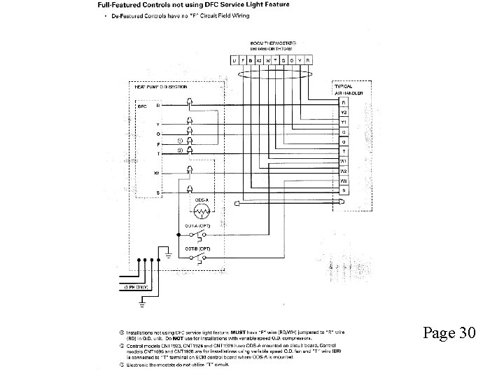
Page 30
Page 6 Heat Pump Electrical Components and Circuits
Page 33
Page 34
- Slides: 63