Heat Integration in Distillation Systems 1 Single Column












































- Slides: 44
Heat Integration in Distillation Systems (1) Single Column
APPROACHES FOR CONSERVING ENERGY IN DISTILLATION 1. Reduce the amount of energy input for each distillation column by selecting the optimal design parameters such as reflux ration, q value, etc. 2. Reduce the total amount of energy input to the entire system by heat integration. 3. Change the temperature level of heat sinks and sources, one or both, required in the distillations, such as temperature or pressure.
THERMODYNAMIC ANALYSIS OF DISTILLATION SYSTEMS 6 Column Internal Subsystem 2 4 1 Heat Exchange Subsystem 7 3 5
THERMODYNAMIC ANALYSIS OF DISTILLATION SYSTEMS Heat Sink Streams Heat Source Streams Feed Stream to be reboiled Cooling medium Stream to be condensed Top product Bottom product Heat medium
For Heat Source Composite Curve Q CHANGE OF AVAILABLE ENERGY Q
For Heat Sink Composite Curve Q CHANGE OF AVAILABLE ENERGY Q
+ (a) INITIAL SETTING UP QC NO HEAT IS RECOVERED QH HEAT RECOVERY IS INCREASED QR QH (c)PINCH-POINT FINDING AND ELIMINATING HEAT ENERGY (b)SHIFTING QC
f. E : shifting OPERATION APPLIED ON THE COMPOSITE LINES FOR LINES S 1 & S 0 : PRESSURIZED TOWER S 1 & S 0 : DEPRESSURIZED TOWER FOR SEGMENETS S 0 S 1 & S 0 : VAPOR RECOMPRESSION : BOTTON LIQUID FLASH : MULTI-EFFECT DIST N S 0 S 1 & S 0 : INTER-CONDENSER, SLOPPY SEPARATION : INTER-REBOILER, SLOPPY SEPARATION : INTER-CONDENSER/INTER-REBOILER f. P DERIVATED TECHNIQUES FOR SEGMENTS LEGEND S 1 : THE COMPOSITE HEAT SINK LINE S 0 : THE COMPOSITE HEAT SOURCE LINE R : TO RAISE L : TO LOWER Fig. 4. Possible systems generated by one-step operation on a binary distillation system.
: utility user : new exchanger T R C Figure. 5. (a) Iterative repetition of the operations.
: utility user (a) T : new exchanger f. E R C Q Figure. 5. (b) Iterative repetition of the operations.
: utility user (b) T : new exchanger f. T R IR C INTERREBOILER Q Figure. 5. (c) Iterative repetition of the operations.
: utility user (c) T : new exchanger f. E R C IR Q Figure. 5. (d) Iterative repetition of the operations.
: utility user (d) T : new exchanger f. T R C IC IR INTERCONDENSER Q Figure. 5. (e) Iterative repetition of the operations.
(e) T : utility user : new exchanger f. E R C IC IR Q Figure. 5. (f) Iterative repetition of the operations.
: utility user (b) T : new exchanger f. P Lower Pressure R C Q Figure. 5. (g) Iterative repetition of the operations.
(g) T : utility user : new exchanger f. P R-2 C-2 1 R-1 C-1 2 Q Figure. 5. (h) Iterative repetition of the operations.
(h) T f. E C-2 R-1 C-1 R-2 1 MULTIEFFECT 2 Q Figure. 5. (i) Iterative repetition of the operations.
Heat Integration in Distillation Systems (2) Multi-Effect Distillation
T Treb Tcond Q Q Cold Stream Hot Stream Q
Q Treb COLD Q Tcond HOT Composite Curves for Single Column
T Q 1 Q 0 Q Grand Composite Curves for Single Column
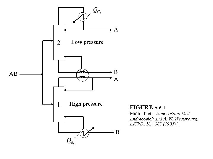
A 2 Low pressure B A AB 1 High pressure FIGURE A. 6 -1 Multieffect column. [From M. J. Andrecovich and A. W. Westerburg. AICh. E. , 31 : 363 (1985). ] B
DOUBLE-EFFECT DISTILLATION T 1 2 Q
LOWER BOUND ON UTILITY CONSUMPTION T Q Q
T 4 3 2 1 Qmin Q FIGURE A. 6 -3 Minimum utility, multieffect configuration for four separations. [From M. J. Andrecovich and A. W. Westerburg. AICh. E. , 31 : 363 (1985). ]
T (a) (b) (c) 2 B 2 A Q FIGURE A. 6 -4 Varying utilities: (a)Three columns; (b)stacked configuration; (c)multieffect. [From M. J. Andrecovich and A. W. Westerburg, AICh. E. , 31: 363 (1985). ]
Heat Integration Between Heat Exchange Network and Distillation Columns
Heat out Tcond Qcond Treb Feed Qreb Col. N Tcond Treb Qcond Qreb Heat in Fig. 6. Distillation column takes in and rejects heat
THE HEAT FLOW CASCADE Qhmin Qh SINK T 1 Qh T 1 T 2 T 3 T 4 T 5 1 2 3 4 5 Qc Q 1 T 2 Q 2 T 3 Q 3 PINCH T 4 Q 4 T 5 SOURCE Q 5 Qcmin Fig. 3. Use of the cascade to minimise utility requirements.
Fig. 7. Distillation across the pinch. NOTE : Hk = Qk - Qk-1 Qhmin + Qreb Treb > Tpinch > Tcond Q 5 = 0 PINCH H 1 Q 1+Qreb H 2 Q 2+Qreb H 3 Q 3 H 4 Q 4 0 H 5 H 6 Q 7 ( Cold utility ) Qreb Coln Qcond H 7 Q 7+Qcond H 8 Qcmin + Qcond ( Hot utility ) NO BENEFIT !
Fig. 8. Distillation not across the pinch. Qh, T < Qh, min Qh, T = Qh, min If Qcond > Qreb If Qcond < Qreb If Qcond = Qreb PINCH Qhmin + (Qreb - Qcond) = Qh, T H 1 Q 1+Qreb -Qcond H 2 Q 2 -Qcond H 3 Q 3 0 H 4 Qh, T < (Qh, min + Qreb) Qreb 0 < Qcond Coln Qcond Q 4 = 0 Qc, T < Qc, min If Qcond < Qreb H 5 Q 5 -Qreb Qcond Qc, T < Qc, min If Qcond > Qreb H 6 Q 6+Qcond -Qreb Qc, T = Qc, min If Q cond = Qreb Note Coln H 7 Qcmin + (Qcond - Qreb) = Qc, T Note Qc, T < (Qc, min + Qcond) 0 < Qreb
Fig. 9. Control considerations. INTEGRATION FLEXIBILITY Qh, T = Qh, min + (Qreb - Qcond) Qhmin - Qcond PINCH 0 Qreb Col. N ( Hot utility ) ( Cold utility ) Col. N Qcond Qc, T = Qc, min + (Qcond - Qreb) Qcmin - Qreb
Heat Load Limits Qhmin + (Qreb - Qcond) Q 2 > Qcond 1 Q 3 > Qcond Q 1+Qreb -Qcond Q 1 + Qreb > Qcond 2 Qreb Cold utility Q 2 -Qcond must be satisfied to avoid negative heat flow 3 Q 3 -Qcond 4 SINK Col. N Qcond Q 4 5 Q 5 = 0 0 Fig. 10. Heat load limit: general. hot utility
Heat Load Limits Qhmin - Qcond Qreb Q 1 > Qcond Q 2 > Qcond Q 1 -Qcond Q 3 > Qcond Q 2 -Qcond must be satisfied to avoid negative heat flow SINK Q 3 -Qcond Col. N Qcond hot utility Q 4 Q 5 = 0 0 Fig. 11. Heat load limit: condenser integration only.
METHODS OF FORCING COLUMNS AWAY FROM THE PINCH 1) Pressure Changes 2) Split Column Loads Originally: Q 3 < Qcond Q 7 < Qreb Qcond 2 Feed 2 After: Qcond 1 < Q 3 < Qcond Qreb 2 < Q 7 < Qreb Qhmin + (Qreb 1 - Qcond 1) Qreb 1 P Qreb 2 Q 3 - Qcond 1 P Col. N 2 P Qcond 1 Qreb 2 Q 7 - Qreb 2 1 Col. N 1 P Qcond 2 Qcmin + (Qcond 2 - Qreb 2) Qreb 1 Fig. 13. Splitting the load
METHODS OF FORCING COLUMNS AWAY FROM THE PINCH 3) Thermal Coupling Conventional Arrangement A A B C Qreb 2 T B 1 Qreb 1 2 Qcond 2 C Qcond 1 Heat Load Fig. 14. Side-stream rectifier reduces heat load requirements.
METHODS OF FORCING COLUMNS AWAY FROM THE PINCH 3) Thermal Coupling Side-stream Rectifier A B C A T B 1 2 Qreb 1 Qcond 2 Qcond 1 C Heat Load Fig. 14. Side-stream rectifier reduces heat load requirements. (續)
METHODS OF FORCING COLUMNS AWAY FROM THE PINCH 4) Intermediate Reboilers and Condensers (B) Originally: Treb > Tpinch > Tcond (C) Originally: Q 4 < Qcond(original) = Qcond + Qint A B Qhmin + (Qreb - Qint) Q 1 + Qreb - Qint PINCH Qhmin + (Qreb - Qint - Qcond) Q 1 + Qreb Q - Qint - Qcond reb Q 2 - Qint - Qcond Q 2 - Qint Q 3 - Qint C Coln Qint Q 3 Q - - Qint - Qcond int Q 4 - Qcond Q 4 Q 5 0 0 Q 7 - Qcond Qcmin + Qcond, new = Qcond, old - Qint Fig. 15. Appropriate placement of an intermediate condenser. Qcond PINCH Qcond Q 6 Coln Q 7 Qcmin
CURRENT DESIGN PRACTICE FOR SAVING ENERGY IN DISTILLATION Heat in Pump T lower 1) Heat Pump Qcond A. B. Qhmin + Qreb Qhmin - (W + Qcond- Qreb) C. W + (Qcond- Qreb) W Qreb PINCH 0 Coln PINCH Coln 0 W Qcond W + (Qcond - Qreb) Qreb Qcmin + Qcond T higher Heat out Pump Fig. 17. Heat pumping: the last resort. to process H. P. Qcmin Qtotal = Qh, min - (W + Qcond - Qreb) + W = Qh, min + (Qreb - Qcond)
HEAT ENGINES RESERVIOR T 1 Q 1 Heat Engine W Q 2 RESERVIOR First Law of Thermodynamics Second Law of Thermodynamics where T 2
HEAT PUMPS RESERVIOR T 1 Q 1 Heat Pump W Q 2 RESERVIOR First Law of Thermodynamics Second Law of Thermodynamics where T 2
Trim Cooling W FEED OVERHEADS Liquid Vapor BOTTOMS Figure. 14. 6 Heat pumping in distillation. A vapor recompression scheme. (From Smith and Linnhoff, Trans. IChem. E, Ch. ERD, 66: 195, 1988; reproduced by permission of the Institution of Chemical Engineers. )
CURRENT DESIGN PRACTICE FOR SAVING ENERGY IN DISTILLATION 2) Multiple Effect Distillation Load = Qcond 2 Qhmin + Qreb 1 Feed 2 P Coln 1 0 1 PINCH Coln 2 P Qcond 2 Load = Qreb 1 Qcmin + Qcond 2 Fig. 18. Multiple effect distilltion: don’t use it prior to integration studies.
CURRENT DESIGN PRACTICE FOR SAVING ENERGY IN DISTILLATION 3) Thermally Coupled Columns A A A B C B 1 P 1 B 2 A B C 1 2 P 2 C C Qhmin + (Qreb 2 - Qcond 2) Qhmin + Qreb 1 Coln 2 PINCH 0 Coln 1 Qcond 2 Qcmin + (Qcond 1 - Qreb 1) Fig. 19. Thermal coupling of columns. Coln 1&2 Qcond 1 Qcmin + Qcond 1 + Qcond 2