General Approach of Haemostasis Lecture 5 Prothrombin Time
General Approach of Haemostasis Lecture 5: Prothrombin Time (Continue)
Introduction The Prothrombin Time (PT) will vary with the type of thromboplastin (e. g. rabbit, human, bovine etc) used in the assay. This difference in sensitivities is known as the sensitivity index. Individual thromboplastins can be calibrated against an international WHO reference thromboplastin (International Reference Preparation or IRP) to assign them an International sensitivity index or ISI. The first WHO reference thromboplastin was assigned an ISI of 1. 0
Calculating the ISI The calibration of a thromboplastin must be against a reference thromboplastin of the same species e. g. human against human, rabbit against rabbit etc. Prothrombin Times are performed in duplicate for each thromboplastin and the mean for each pair of tests derived. Tests are performed on 20 normal donors not on anticoagulants and 60 patients who have been on oral anticoagulant treatment for at least 6 weeks. If there is more than a 10% difference in the clotting times between duplicate samples, the tests on that plasma sample should be repeated.
The mean of each pair of PT results are plotted on double-log paper with the reference sample on the Y axis and the test plasma on the X-axis. A best fit line is drawn with points above the highest recorded PT and the lowest PT. The slope of the line is calculated and this represents the ISI
Example: q Distance A to C = 125 mm and distance B to C = 110 mm q So the ISI of the test thromboplastin is calculated from the formula: q So if the ISI of the Reference Thromboplastin is 1. 1 and the ISI derived from the Slope is 1. 14, the ISI of the Test Thromboplastin is 1. 1 x 1. 14 = 1. 25.
Effects of Sensitivity Index: q Thromboplastins should be chosen with an ISI close to 1. 0 q The next table show this by Using a thromboplastin with an ISI of 1. 0 the PT can range from 15 s - 35 s but the INR is still in therapeutic range. In contrast if the ISI of the thromboplastin is 2. 0 an increase in the PT from 15 s to 30 s results in an INR outwith therapeutic range. Patient PT [s] Thromboplastin 1 [ISI 1. 0] 15 20 25 30 35 1. 25 1. 67 2. 08 2. 5 2. 91 Thromboplastin 2 Thromboplastin 3 [ISI 1. 5] [ISI 2. 0] 1. 39 2. 15 3. 00 3. 95 4. 98 1. 54 2. 78 4. 3 6. 25 8. 51
q The previous table illustrates a number of patients with varying PTs and in whom the INR was calculated using three Thromboplastins with varying ISIs. q The simplest way to calculate the INRs is to use an electronic calculator!
Local Calibration q Use of different coagulometers for the PT and the differing methods of end-point detection can lead to significant variations in PT. For these reasons, a local calibration of thromboplastins is recommended. q This involves testing a set of plasma samples with known INRs with the a laboratory-specific thromboplastin and on the coagulometers which will be used to derive the PT.
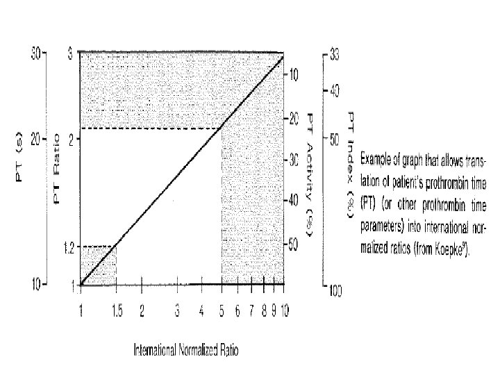
Reporting of Result q Time (Seconds) q Ratio (PTpatient/PTcontrol) PTr q Activity Percentage PTp q INR
The International Normalised Ratio q The International Normalised Ratio (INR) is the PT ratio of a test sample compared to a normal PT (of 20 normal donors) corrected for the sensitivity of the thromboplastin used in the test. q It is the value for the Prothrombin Time Ratio which has been obtained using the first WHO Reference Thromboplastin with an ISI of 1. 0 q Example; for patient on warfarin and his PT 23 and the Normal PT is 12 with ISI 1. 2
PT Activity percentage The result reported as percent activity of normal instead of seconds as the unit of measurement of the Quick test. A study show that the results were expressed in PTp but not INR, PTs and PTr is valid for comparison of patients with liver disease. In patients on oral anticoagulant therapy, only INR standardize PT results. Pooled, normal plasma that is assumed to be 100% of normal activity is diluted with any variety of diluents (barium-sulfate-adsorbed human plasma, bariumsulfate-adsorbed beef plasma, 0. 85% saline, imidiazole-saline buffer).
PT Activity percentage q Prothrombin activity assayed by on stage assay. q To obtain PTp expression, a saline dilution curve was constructed with normal pool plasma and the patient result was expressed as the percentage of normal plasma yielding the same PT in seconds. Pooled Plasma 1: 10 1: 20 1: 40 1: 80 Percentage 100% 50% 25% 12. 5%
http: //site. iugaza. edu. ps/ialaswad/ http: //site. iugaza. edu. ps/wael/ Next Lecture: Coagulation Instruments
- Slides: 15