Flux magntique et loi de Faraday I Flux


























- Slides: 26
Flux magnétique et loi de Faraday I. Flux magnétique : II. 1. Définition :
Un contour (c) délimite une surface S S (C) On oriente arbitrairement le conducteur Point d’application Direction du vecteur surface, normale à la surface donc perpendiculaire à deux droites de la surface
Champ magnétique uniforme φ=BS
2. Conservation du flux magnétique :
Application de la conservation du flux magnétique:
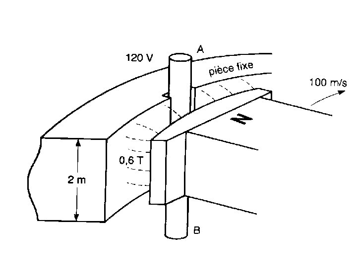
3. Induction due à un variation de flux coupé :
Détermination du sens de la f. e. m induite:
4. f. e. m d’auto induction : s constante i u e n 1 l
5. F. e. m de transformation : i 1 u 1 e 1 i 2 ' n 1 n 2 e 2
III. Pertes, échauffement des machines électriques : Pour produire de l’énergie électrique ou par exemple pour convertir de l’énergie électrique en énergie mécanique en quantité suffisante, il faut créer des champs magnétiques intenses (ordre de grandeur : 1 T, Terre à 50 T). Il faut pour cela utiliser des matériaux ferromagnétiques.
1. Structure d’un matériau ferromagnétique : Au niveau du matériau, aucun flux ne sera rayonné car l’aimantation des différents domaines se compensent statistiquement. Matériaux ferromagnétiques Domaine de Weiss 1 L’agitation des charges (protons et électrons) contenues dans un atome crée un champ magnétique microscopique au niveau atomique. Dans le cas d’une substance ferromagnétique, il y a association d’un certain nombre d’atomes ayant même vecteur champ magnétique dans un domaine dit de Weiss.
2. Phénomène d’hystérésis :
2. 1. Notion d’hystérésis : Soit un tore magnétique alimenté par une source alternative de tension. BR champ magnétique rémanent BR HC excitation coercitive H HC
2. 2. Energie perdue par hystérésis : Lors de la décroissance du courant, l’énergie restituée correspond à l’aire de surface A’. Lors de la croissance de l’intensité du courant, l’énergie emmagasinée correspond à l’aire de surface A.
Chaque fois que l’aimantation parcourt un cycle, l’énergie perdue par unité de volume est proportionnelle à l’aire de surface du cycle.
3. Pertes par courants de Foucault :
3. 1. Pertes par courants de Foucault : Pour s’opposer au passage des courants induits (énergie dissipée), on feuillette le circuit avec des tôles isolées. On augmente ainsi la résistivité du circuit. Lorsque les circuits magnétiques sont parcourus par des courants alternatifs de fréquence supérieure à quelques hertz, ils doivent être réalisés à partir de tôles empilées et isolées dans le sens du flux. Courants induits dans la carcasse qui tendent à s’opposer à la cause qui leur a donné naissance.
3. 2. Intérêts des courants de Foucault : Chauffage par induction
Ralentisseur électromagnétique Les courants induits qui circulent entre les pôles obéissent à la loi de Lenz, ils s’opposent donc à la rotation du disque. Le disque sera ralentit (Telma). Disque conducteur accouplé à la roue en contact avec le sol ou le rail. Le véhicule est en Mouvement. Route ou rail N S