FIRST EXPERIMENT YOUNGS EXPERIMENT Second EXPERIMENT Newtons rings

  • Slides: 48
Download presentation
FIRST EXPERIMENT

FIRST EXPERIMENT

YOUNG’S EXPERIMENT

YOUNG’S EXPERIMENT

Second EXPERIMENT

Second EXPERIMENT

Newton’s rings Experiment

Newton’s rings Experiment

THIRD EXPERIMENT

THIRD EXPERIMENT

Photometric Law of Distance

Photometric Law of Distance

PHOTOMETRIC Principal and task: The luminous intensity emitted by a punctual source is deter

PHOTOMETRIC Principal and task: The luminous intensity emitted by a punctual source is deter mined as a function of distance. PROBLEMS: 1. The luminous intensity emitted by a punctual source is determined as a function of distance from the source. 2. The photometric law of distance is verified by plotting illuminance as a function of the reciprocal value of the square of the distance.

PHOTOMETRIC The aim of photometry experiment ▸ The luminous intensity I emitted by a

PHOTOMETRIC The aim of photometry experiment ▸ The luminous intensity I emitted by a punctual source is determined as a function of distance from the source. ▸ The photometric law of distance is verified by plotting illuminance as a function of the reciprocal value of the square of the distance.

PHOTOMETRIC Equipment: ▸ Luxmeter probe ▸ Optical profile bench ▸ Filament lamp 6 V/5

PHOTOMETRIC Equipment: ▸ Luxmeter probe ▸ Optical profile bench ▸ Filament lamp 6 V/5 A ▸ Universal clamp ▸ Power supply

PHOTOMETRIC Experimental set-up ▸ Switch on the luxmeter and measure the background illuminance E

PHOTOMETRIC Experimental set-up ▸ Switch on the luxmeter and measure the background illuminance E 0. ▸ Set the separation r between the probe and lamp to 55 cm. ▸ Switch on the lamp and measure the illuminance E. ▸ Decreasing the separation in steps of 5 cm, record E until you reach a separation of r = 25 cm.

FORTH EXPERIMENT

FORTH EXPERIMENT

Lloyd’s Mirror

Lloyd’s Mirror

Objective Understand the nature of sound-waves and calculate the frequency of ultrasonic sound−waves by

Objective Understand the nature of sound-waves and calculate the frequency of ultrasonic sound−waves by Lloyd’s Mirror Interference.

Schematic representation of the interference setup

Schematic representation of the interference setup

D (cm) V (V) D (cm) 4 0. 072 4. 1 Data V (V)

D (cm) V (V) D (cm) 4 0. 072 4. 1 Data V (V) D (cm) V (V) 5. 4 0. 061 6. 8 0. 059 0. 073 5. 5 0. 064 6. 9 0. 060 4. 2 0. 072 5. 6 0. 066 7 0. 061 4. 3 0. 070 5. 7 0. 068 7. 1 0. 061 4. 4 0. 067 5. 8 0. 069 7. 2 0. 062 4. 5 0. 066 5. 9 0. 067 7. 3 0. 063 4. 6 0. 065 6 0. 066 7. 4 0. 063 4. 7 0. 064 6. 1 0. 065 7. 5 0. 064 4. 8 0. 063 6. 2 0. 064 7. 6 0. 065 4. 9 0. 063 6. 3 0. 063 7. 7 0. 066 5 0. 062 6. 4 0. 062 7. 8 0. 065 5. 1 0. 061 6. 5 0. 061 7. 9 0. 065 5. 2 0. 060 6. 6 0. 060 8 0. 064 5. 3 0. 060 6. 7 0. 059 8. 1 0. 063

FIFTH EXPERIMENT

FIFTH EXPERIMENT

Meld's Experiment

Meld's Experiment

Objective 1 - Generating standing, circularly polarized thread waves for various tension forces F.

Objective 1 - Generating standing, circularly polarized thread waves for various tension forces F.

Objective 2 - Determining the phase velocity c of thread waves. m*=m/L

Objective 2 - Determining the phase velocity c of thread waves. m*=m/L

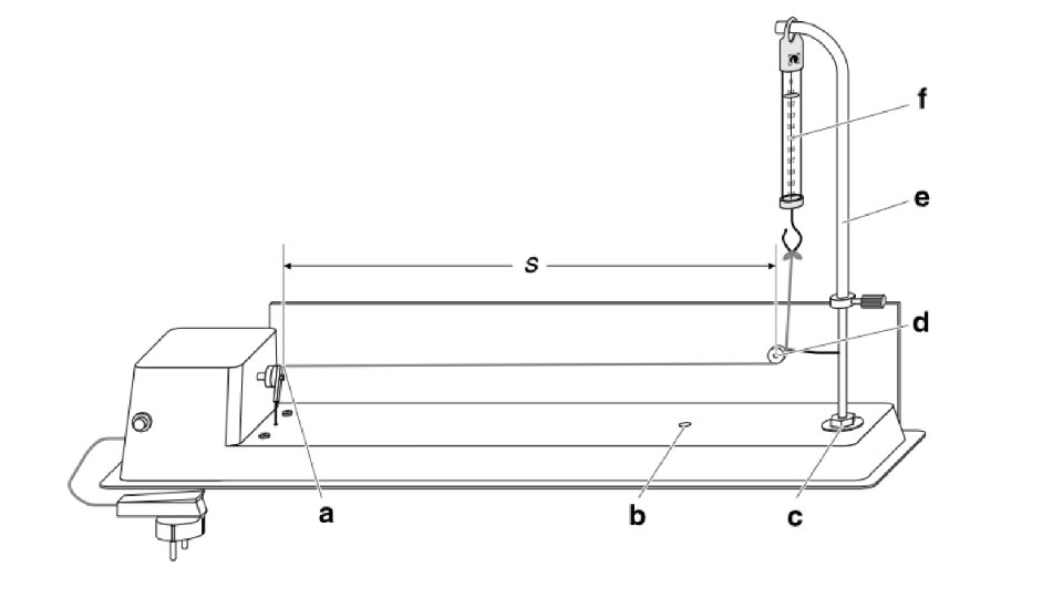
Data m=0. 5 g L=53 cm S= 48 cm

Data m=0. 5 g L=53 cm S= 48 cm

Evaluation n 2 3 4 5 6 F( ) CF ( ) f( )

Evaluation n 2 3 4 5 6 F( ) CF ( ) f( ) C( )

Plot

Plot

SIXTH EXPERIMENT

SIXTH EXPERIMENT

YOUNG’S EXPERIMENT

YOUNG’S EXPERIMENT

THANK YOU FOR WACTHING

THANK YOU FOR WACTHING