Doctrine of Equivalents Intro to IP Prof Merges



































![2 nd Point: The 3 -Part Test • P 287 • [1] Unforeseeable equivalents 2 nd Point: The 3 -Part Test • P 287 • [1] Unforeseeable equivalents](https://slidetodoc.com/presentation_image_h/75b0f6f1ebd7a79f358bf7363abdf2d3/image-36.jpg)









- Slides: 45
Doctrine of Equivalents Intro to IP – Prof Merges 2. 2. 10
Topics Today • Doctrine of Equivalents • Prosecution history estoppel
Equivalents/Literal Claim Scope Range of Equivalents Literal Claim Scope
Hughes Satellite – p. 275 -78
Hughes Aircraft Co. v. United States, 717 F. 2 d. 1351, 1362 -63 (Fed. Cir. 1983). • Later developed technology to use onboard computers to control satellite orientation is equivalent to receive signals form the satellite and use the computers on earth to control the orientation of the satellite)
Hughes VIII 1998 • Because Hughes Aircraft Co. v. United States , 717 F. 2 d 1351, 219 USPQ 473 (Fed. Cir. 1983) ( Hughes VII ) satisfies the legal requirements announced in Warner-Jenkinson , we affirm.
S/E
S/E
Literal Infringement Doctrine of Equivalents Patent Claim Elements • f “means disposed. . . for receiving. . . signals • g “said valve being coupled to said lastnamed means and responsive. . . ? S/E
Literal Infringement Doctrine of Equivalents Patent Claim Elements • f “means disposed. . . for receiving. . . signals • g “said valve being coupled to said lastnamed means and responsive. . . Modest Inventions Pioneering Inventions
Prosecution History Estoppel • Festo v. SKK Kabushiki, p. 279
Original Claim Scope
Original Claim Scope Narrowed Scope, after amendment
X Accused product: ultra-purifica -tion at 9. 5 p. H No Infringement under DOE
? ? Accused Product: p. H of 5. 0 – can Hilton-Davis assert infringement under DOE?
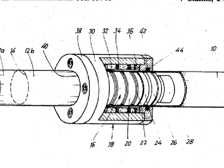
• United States Patent 4, 354, 125 Stoll October 12, 1982 Magnetically coupled arrangement for a driving and a driven member The invention is concerned with a magnetically coupled arrangement for a driving and a driven member, which arrangement is operable by a pressure medium and is used in a conveying system. A slidable piston (16) within a tube (10) has an arrangement of annular magnets (20) provided at each end with sealing and sliding members (24, 26). A driven assembly (18) slidable on the outer surface of the tube (10) has an arrangement of annular magnets (32) corresponding to the magnets (20) and provided at each end with a sliding ring (44). The members (24, 26, 44) prevent ingress of foreign bodies to the magnet locations, and consequently enable the spacing between the magnets and the tube (10) to be very small. A good magnetic coupling is achieved resulting in effective transmission of power. Several pistons (16) abutting one another can be used for conveying heavy loads. Inventors: Stoll; Kurt (Lenzhalde 72, D-7300 Esslingen, DE) Appl. No. : 153999 Filed: May 28, 1980
Amendments • Two patents – –Stoll, 4, 354, 125 –Carroll, 3, 779, 401
Prosecution History • Amendments • What limitations did patentee add during prosecution? • Why were they made?
How amended? • Claims changed to include a new limitation: piston assembly must now include a pair of sealing rings
Equivalents and Prosecution History • P. 283 • “Insubstantial alterations” • BUT: Cannot “recapture” an insusbtantial alteration GIVEN UP during prosecution
1 st point: “related to patentability” • Claim amendment for any reason can give rise to estoppel • Not just prior art-related reasons
Presumption arising from claim amendments • P. 287
2 nd Point: The 3 -Part Test • Supreme Court rejects “complete bar” • Federal Circuit’s new rule reversed and thrown out
Original Claim Scope
Original Claim Scope Narrowed Scope, after amendment
2 nd Point: The 3 -Part Test • P 287 • [1] Unforeseeable equivalents • [2] Amendment bears “tangential relation” to equivalent • [3] “Some other reason” -- ?
Doctrinal Sequence • FIRST: What is the literal meaning of the claim language? • THEN: If the accused product falls outside that language, is it an “equivalent” of the claimed invention?
What is the test for equivalence? • Is the accused product an “insubstantial alteration” under Warner-Jenkinson and Festo? • Even if so, was this trivial variation on the claim “given up” during patent prosecution; in which case, equivalents are “estopped”
Equivalents/Literal Claim Scope Range of Equivalents Literal Claim Scope What is a “baffle”? Is the tank “thereon”?
Equivalents/Literal Claim Scope Range of Equivalents Is a single sealing ring equivalent to “a pair” of them? Literal Claim Scope
Prosecution History Estoppel 1. Warner-Jenkinson: presumption that part of claim coverage is surrendered when applicant amends claim 2. Festo case: 3 Ways to beat the presumption 3. Post-Festo developments: “disclosed but not claimed”/dedicated to the public
“Range of Equivalents” Literal Claim Scope Infringement under DOE ?
Warner-Jenkinson • DOE Survives challenge • Presumption in cases of claim amendment: amendment made for reasons related to patentability; prosecution history estoppel applies SO: Presumption of no DOE, you are limited to your literal claim language
Original Claim Scope
Original Claim Scope Narrowed Scope, after amendment