COMUNICAO DIGITAL MODULAO DIGITAL Evelio M G Fernndez













































- Slides: 45
COMUNICAÇÃO DIGITAL MODULAÇÃO DIGITAL Evelio M. G. Fernández - 2011
Espaço de Sinais 4 -PAM 1
Modulações Digitais Básicas ASK – Amplitude Shift Keying PSK – Phase Shift Keying FSK – Frequency Shift Keying
Representação Canônica de Sinais Passa-Faixa
Energia de um Pulso de RF
Espaço de Sinais – PSK Binário Coerente
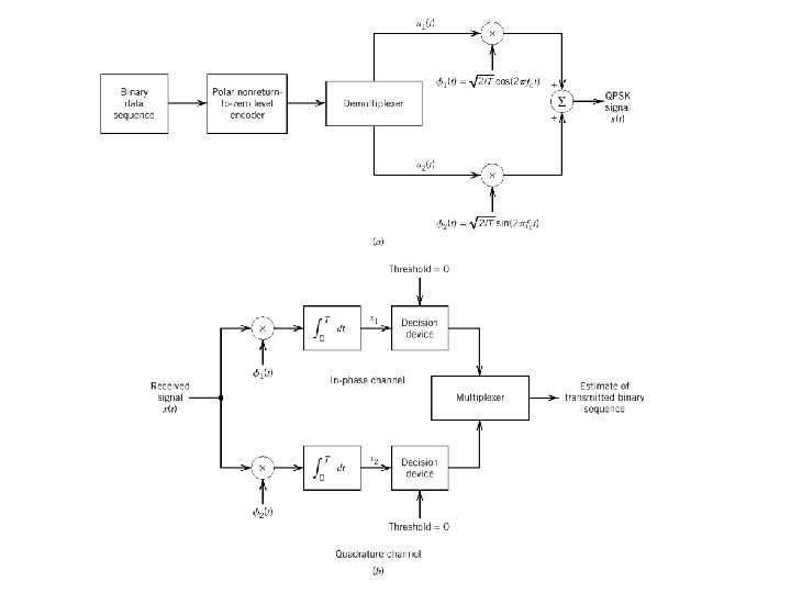
Geração e Detecção Coerente de Sinais BPSK
Espaço de Sinais – QPSK Coerente
QPSK Deslocado (Off-Set QPSK, OQPSK)
Duas Constelações QPSK
/4 – QPSK
Constelação de Sinais 8 -PSK
Constelação 16 -QAM 2 1 1
Padrões de Modem de Banda de Voz
Constelação V. 32
Constelação V. 34
Espaço de Sinais – FSK Binário Coerente
Geração e Detecção de Sinais FSK Binários
Receptor FSK Binário não Coerente
Espaçamento Mínimo de Freqüências FSK não Coerente
Pulso Formatador - GMSK
Espectro de Potência MSK e GMSK
Espectro de Potência GSM
Espectro de Potência – M-FSK
Modulação OFDM é utilizada nos seguintes sistemas: • • • IEEE 802. 11 a&g (WLAN) IEEE 802. 16 a (Wi. MAX) ADSL (DMT = Discrete Multi. Tone) systems DAB (Digital Audio Broadcasting) DVB-T (Digital Video Broadcasting) OFDM é espectralmente eficiente, mas não é eficiente em termos de potência (devido aos requerimentos de linearidade dos amplificadores de potência).
Diagrama de Blocos de um Sistema OFDM Coding & Interl. Bit-tosymbol mapping Modulation S/P IFFT Add CP Channel Sync FFT P/S Demod. Deinterl. & Decoding
Modulação das Subportadoras e Codificação N subportadoras ou subcanais carregam N símbolos em paralelo (= transmitidos ao mesmo tempo). Um símbolo pode carregar 1 bit (BPSK), 2 bits (4 -PSK), 4 bits (16 QAM), or 6 bits de dados (64 -QAM). N símbolos em paralelo formam um símbolo OFDM. Para cada método de modulação existem diferentes opções de codificação para controle de erros. O código utilizado será determinante no cálculo da taxa de transmissão de dados. Ex: códigos convolucionais de taxa 1/2, e puncionados com taxas 2/3 e 3/4.
Sinal de uma Subportadora no Domínio do Tempo Intervalo de guarda para prevenir interferência intersimbólica TG No receptor, a FFT é calculada somente neste intervalo de tempo TFFT Próximo símbolo Tempo de Símbolo IEEE 802. 11 a&g: TG = 0. 8 ms, TFFT = 3. 2 ms IEEE 802. 16 a oferece alocação de banda flexível (i. e. símbolos de comprimento variável) e escolha de TG: TG/TFFT = 1/4, 1/8, 1/16 or 1/32
Subportadoras Ortogonais Ortogonalidade neste intervalo Subportadora n+1 Símbolo anterior Tempo guarda Parte do símbolo que é usada no cálculo da FFT no receptor Próximo símbolo
Ortogonalidade entre Subportadoras Ortogonalidade neste intervalo Subcarrier n Cada subportadora tem um número inteiro de ciclos no intervalo de cálculo da FFT. Se esta condição Subcarrier é válida, on+1 espectro de um subcanal contém nulos espectrais nas freqüências de todas as outras subportadoras. Símbolo anterior Guard time Parte do símbolo que é usada no cálculo da FFT no receptor Próximo símbolo
Subcanais no Domínio da Freqüência Um subcanal Espectro OFDM Nulos espectrais nas freqüências das outras subportadoras
Efeito do Multi-Percurso na Subportadora n Réplicas da subportadora n Símbolo anterior Tempo guarda Parte do símbolo que é usada no cálculo da FFT no receptor Próximo símbolo
Efeito do Multi-Percurso na Subportadora n Tempo de guarda não excedido: As réplicas não afetam as propriedades de ortogonalidade da subportadora no domíno Réplicas da da subportadora n freqüência. Ainda há nulos das que é usada Símboloespectrais Guardnas freqüências Parte do símbolo subportadoras. anterioroutras time no cálculo da FFT no receptor Próximo símbolo
Efeito do Multi-Percurso na Subportadora n Explicação Matemática: A soma de senoides (da mesma freqüência e com amplitudes e fases diferentes) = ainda uma Réplicas da subportadora n senoide pura com a mesma freqüência Símbolo anterior Guard time Parte do símbolo que é usada no cálculo da FFT no receptor Próximo símbolo
Efeito do Multi-Percurso na Subportadora n Réplicas com retardo grande Símbolo anterior Tempo guarda Parte do símbolo que é usada no cálculo da FFT no receptor Próximo símbolo
Efeito do Multi-Percurso na Subportadora n Tempo de guarda excedido: As réplicas afetam as propriedades de ortogonalidade dos subcanais no domínio da freqüência. Não haverão Réplicas com retardo grande mais nulos espectrais nas freqüências das outras Símbolo Guard Parte do símbolo que é usada subportadoras => interferência inter anterior time no cálculo da FFT no receptor -portadoras. Próximo símbolo
Efeito do Multi-Percurso na Subportadora n Subcarrier n Explicação Matemática: Réplicas com muito retardo não são mais senoides puras! Réplicas com retardo grande Símbolo anterior Tempo guarda Parte do símbolo que é usada no cálculo da FFT no receptor Próximo símbolo
Resumo: Características da Modulação OFDM O desvanecimento devido à propagação por múltiplos percursos (fading) não provoca interferência intersimbólica ou interferência inter-portadoras se o intervalo de guarda é suficientemente longo. Porém, o fading provoca seletividade em freqüências na banda de transmissão. Portadoras piloto são utilizadas para corrigir (equalizar) a magnitude e a fase das subportadoras recebidas nas freqüências das portadoras piloto.
OFDM exemplo 1: IEEE 802. 11 a&g (WLAN) Subportadora Piloto 52 subportadoras Subportadoras moduladas Freqüência 16. 25 MHz 48 subportadoras moduladas + 4 subportadoras piloto. Centrado em cada subportadora há um subcanal transportando dados com taxa de transmissão baixa (taxa de transmissão baixa sem interferência intersimbólica).
OFDM exemplo 2: IEEE 802. 16 a (Wi. MAX) Somente 200 das 256 subportadoras são usadas: 192 subportadoras moduladas + 8 portadoras piloto.
Aplicações de Modulações Digitais Tipo de Modulação Aplicação MSK, GMSK GSM, CDPD (Cellular Digital Packet Data BPSK Deep space telemetry, cable modems QPSK, /4 DQPSK Satélite, CDMA, DVB-S, cable modems OQPSK CDMA, Satelite FSK, GFSK Paging, AMPS, land mobile 8, 16 -VSB ATSC, broadcast, cable (TV digital) 8 -PSK Satélite, aviação 16 -QAM Rádio digital (microondas), modems, ISDB-T, DVB-T, redes sem fio 32 -QAM Microondas terrestres, ISDB-T, DVB-T 64 -QAM DVB-C, modems, set top boxes, redes sem fio 256 -QAM, Modems, DVB-C, Vídeo Digital