Beberapa Rangkaian Nonlinear 1 Komparator Simbol komparator dan
Beberapa Rangkaian Nonlinear
1. Komparator • Simbol komparator dan voltage transfer curve (VTC) komparator ideal
Waktu respon komparator • Performa kecepatan suatu komparator diukur berdasarkan time propagation delay (Tpd)nya • Yaitu selisih waktu antara masuknya input dengan keluarnya output sebesar 50% dari output target
Waktu respon komparator
Input overdrive • Tegangan input minimal yang menyebabkan output komparator berganti state (dari 1 ke 0) • Typical input overdrive : 1 m. V – 10 m. V • Pada gambar ditunjukkan dengan simbol Vod
IC komparator • IC khusus komparator : LM 301, LM 311, LM 339, dsb • Opamp biasa bisa digunakan sebagai komparator tetapi kecepatannya rendah (karena Tpd lebih besar) • IC komparator pada umumnya membutuhkan resistor pull-up (keluaran open collector)
Aplikasi Komparator 1. Level Detector indikator VMembandingkan antara Vdengan Vref -Mendeteksi apakah suatu tegangan input sudah mencapai level tertentu -Level tersebut ditentukan oleh Vref
Aplikasi komparator 2. ON – OFF Control Sensor suhu Vref sesuai suhu referensi yang diinginkan Vref = 2. 73+0. 01 Tref ON – OFF temperature controller/termostat
Aplikasi Komparator 3. Detektor range tegangan Deteksi apakah suatu tegangan input berada dalam range tegangan tertentu
Detektor range tegangan • Power supply monitor : Jika Tegangan di pin 6 kurang dari 2. 5 V, LED akan menyala Vref
Aplikasi komparator • PWM input segitiga Sinyal keluaran PWM
Sinyal keluaran PWM
2. Schmitt Trigger • Aplikasi khusus dari komparator (khusus karena input + dipakai untuk feedback) • Ide : memberi positive feeback pada OPAMP supaya OPAMP saturasi • Sebaliknya pada aplikasi opamp sebagai penguat yang digunakan adalah feedback negatif supaya opamp dalam daerah linear
Rangkaian dan kurva transfer Schmitt trig. inverting Lebar histerisis Vi > VTh Vo = ‘ 0’, Vi<Vth Vo=‘ 1’ Voh – Vol swing output
Contoh waveform Schmitt trigger inverting
• Schmitt trigger non inverting Vi < VTh Vo = ‘ 0’, Vi>Vth Vo=‘ 1’
3. Penyearah Presisi • Half wave rectifier Skematik dasar HWR :
Keadaan output dan dioda pada input positif dan negatif • Ilustrasi kerja HWR Voa = Vo+VD
Full wave rectifier(FWR) Persamaan(penguatan) antara gelombang positif dan negatif berbeda :
FWR • Dengan Ap dan An sbb Untuk mendapatkan gelombang yang seimbang, Ap = An, sehingga susunan R nya harus memnuhi syarat sbb:
Aplikasi FWR • AC –DC converter(‘adaptor’ untuk small signal) Kapasitor filter Syarat pemilihan C: Fmin = frekuensi operasi minimum
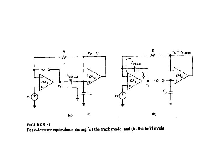
4. Peak Detector • Mendeteksi puncak suatu isyarat Untuk reset Track mode Hold mode
5. Amplifier Sample and Hold (SH) • Digunakan untuk menahan suatu nilai tegangan analog selama waktu tertentu biasanya untuk tujuan konversi ADC
Ilustrasi SH hold input Tegangan kendali sampel Pulsa pengendali Sesempit mungkin
Rangkaian SH Pulsa untuk sampling Tegangan input(yg akan dicuplik)
- Slides: 26