Bayesian Inference Using JASP EricJan Wagenmakers Outline Bayesian
Bayesian Inference Using JASP Eric-Jan Wagenmakers
Outline Bayesian inference Bayesian parameter estimation Bayesian hypothesis testing The Bayesian t-test Example: Turning the hands of time
Bayesian Inference in a Nutshell In Bayesian inference, uncertainty or degree of belief is quantified by probability. Prior beliefs are updated by means of the data to yield posterior beliefs.
Outline Bayesian inference Bayesian parameter estimation Bayesian hypothesis testing The Bayesian t-test Example: Turning the hands of time
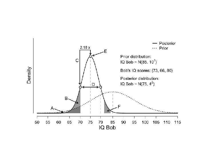
Outline Bayesian inference Bayesian parameter estimation Bayesian hypothesis testing The Bayesian t-test Example: Turning the hands of time
Bayesian Hypothesis Test Suppose we have two models, H 0 and H 1. Which model is better supported by the data? The model that predicted the data best! The ratio of predictive performance is known as the Bayes factor (Jeffreys, 1961).
Bayesian Hypothesis Tests
Bayesian Hypothesis Tests
Bayesian Hypothesis Tests
Bayesian Hypothesis Tests
Bayes Factor Inverse
Bayes Factor Transitivity
Bayes Factor Transitivity
Guidelines for Interpretation of the Bayes Factor BF Evidence 1– 3 3 – 10 10 – 30 30 – 100 >100 Anecdotal Moderate Strong Very strong Extreme
Visual Interpretation of the Bayes Factor
Visual Interpretation of the Bayes Factor
Visual Interpretation of the Bayes Factor
Advantages of the Bayes Factor Quantifies evidence instead of forcing an allor-none decision. Allows evidence to be monitored as data accumulate. Able to distinguish between “data support H 0” and “data are not diagnostic”.
Disadvantages of the Bayes Factor Where are the course books for psychologists? Where is the software?
First Annual JASP Workshop A Fresh Way to do Bayesian Statistics jasp-stats. org August 6 & August 7, 2015 University of Amsterdam
Fifth Annual JAGS and Win. BUGS Workshop Bayesian Modeling for Cognitive Science http: //bayescourse. socsci. uva. nl/ August 10 - August 14, 2015 University of Amsterdam
Outline Bayesian inference Bayesian parameter estimation Bayesian hypothesis testing The Bayesian t-test Example: Turning the hands of time
Bayes Factor for the t Test Predictive Success for the Null Hypothesis Predictive Success for the Alternative Hypothesis
Bayes Factor for the t Test Prob. of Data Under the Null Hypothesis Prob. of Data Under the Alternative Hypothesis H 0 states that effect size δ = 0. But how do we specify H 1?
Effect size δ under H 1 δ =. 1 • • • δ =. 3 • • • δ =. 5 • • • Likelihood ratio p(data | H 0) p(data | δ =. 1) p(data | H 0) p(data | δ =. 3) p(data | H 0) p(data | δ =. 5) The Bayes factor is the weighted average of the likelihood ratios. The weights are given by the prior plausibility assigned to the effect sizes.
So we need to assign weight to the different values of effect size. These weigths reflect the relative plausibility of the effect sizes before seeing the data. For complicated reasons, a popular default choice is to assume a Cauchy distribution (like a Normal, but with fatter tails):
Outline Bayesian inference Bayesian parameter estimation Bayesian hypothesis testing The Bayesian t-test Example: Turning the hands of time
Turning the Wheels of Time Topolinski and Sparenberg (2012): clockwise movements induce psychological states of temporal progression and an orientation toward the future and novelty. Concretely: participants who turn kitchen rolls clockwise report more openness to experience.
Turning the Wheels of Time
Turning the Wheels of Time Let's demonstrate: – How to run a Bayesian t-test in JASP; – How to interpret the output; – How to conduct a sequential analysis; – How to assess the robustness of the result.
Conclusions Bayesian hypothesis tests have a number of practical advantages; These advantages are easily available through JASP; The example discussed here was simple, but JASP handles more complicated analyses as well!
- Slides: 46