Ana Peci 6156 Daniel Dimi 6141 Elektrina struja




![Omov zakon i Kirhofova pravila • Omov zakon: R= U/I [=] Ω • Otpornost Omov zakon i Kirhofova pravila • Omov zakon: R= U/I [=] Ω • Otpornost](https://slidetodoc.com/presentation_image/5f0cfa1002a4a8f7072f3c370b5a007d/image-5.jpg)























- Slides: 28
Ana Pecić 6156 Daniel Dimić 6141
Električna struja • Električna struja je svako uređeno kretanje naelektrisanja kroz provodnik. • Jačina električne struje je količnik protekle količine naelektrisanja i vremena za koje se taj protok izvršio. I = q/t [=] A • Referentni smer, odgovara smeru suprotnom od smera kretanja elektrona. • Gustina električne struje je odnos jačine struje i površine poprečnog preseka provodnika. J = I / S [=] A/ m².
• Jednosmerna struja je bila u širokoj upotrebi sve do pojave Teslinog generatora naizmenične struje. • Danas, koristi se kod elektronskih uređaja da se pomoću nje obrazuju naizmenične veličine kao što su zvuk, slika, radio talas. . . • Izvori jednosmernog napona su baterijski, dok je naizmenična struja produkt rada elektrana i zastupljena je u mreži.
• Današnja upotreba jednosmerne struje se ostvaruje pomoću ispravljača, koji naizmeničnu struju pretvara u jednosmernu.
Omov zakon i Kirhofova pravila • Omov zakon: R= U/I [=] Ω • Otpornost od 1Ω ima provodnik kod koga struja od 1 A stvori potencijalnu razliku između njegovih krajeva od 1 V. • I Kirhofovo pravilo: Algebarska suma svih struja koje ulaze u čvor električne mreže je jednak nuli. • II Kirhofovo pravilo: Ukupan napon zatvorene konture jednak je zbiru proizvoda otpornika i jačine struje koja kroz njih protiče. U =Σ R·I
Otpornici
Vezivanje otpornika • Redna veza: R e= R 1 + R 2 • Paralelna veza: 1/Re= 1/R 1+1/R 2 Re= (R 1+R 2) / R 1 R 2
• Mešovita veza otpornika: Re 1=(R 1+R 2) / R 1 R 2 Re 2=R 5+R 6+R 7 Re 3 =(R 3+Re 2) / R 3 Re 2 Re= Re 1 +Re 3 +R 4
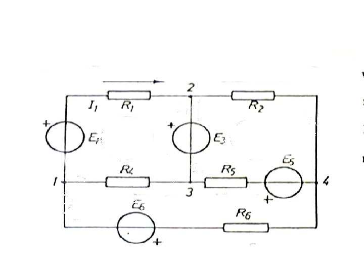
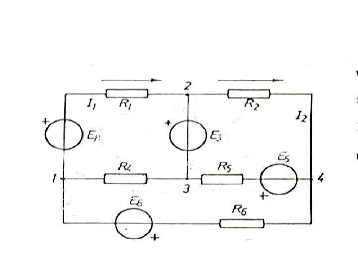
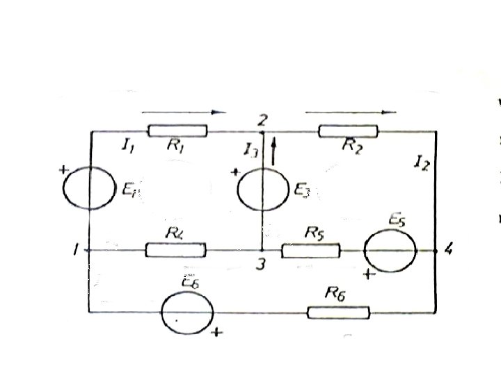
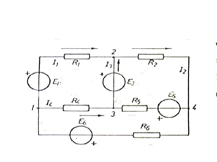
Rešavanje električnih kola
• S 1: -E 1+R 1 I 1+E 3 -R 4 I 4=0 • S 2: R 2 I 2 -E 5+R 5 I 5 -E 3=0 • S 3: -E 1+R 1 I 1+R 2 I 2 -R 6 I 6 +E 6=0 • (1): -I 1 -I 4 -I 6=0 • (2): I 1+I 3 -I 2=0 • (3): I 4 -I 3+I 5=0
Transformacija zvezda - trougao Ra= R 1+R 2+R 3+R 1 R 2/ R 3 Rb= R 1+R 2+R 3+R 2 R 3/ R 1 Rc= R 1+R 2+R 3+R 1 R 3/ R 2
Mostovi jednosmerne struje • Merni mostovi, funkcionišu na osnovu nulte merne metode i služe za merenje otpornosti. • Vinstonov most: je u ravnotezi za R 1/ R 3=R 2/R 4 R 1 R 4=R 2 R 3 • Neuravnotežen: R 1=R 2=R 3=Rx R 4=Rx± ∆Rx
Tomson Kelvinov most • Koristi se kao merni instrument za jako male vrednosti otpornosti (ispod jednog oma). • Rešava problem kompenzacije uticaja otpornosti provodnika.
Kondenzatori u kolu jednosmerne struje • Piključivanjem kondenzatora u kolo jednosmerne struje njegove elektrode će se naelektrisati. • Opterećenost kondenzatora Q odgovara protekloj količini elektriciteta q: Q=q • Kapacitivnost kondenzatora u kolu jednosmerne struje je jednaka odnosu opterećenja i napona na elektrodama kondenzatora. C=Q/U
Vezivanje kondenzatora • Redna veza: 1/Ce= Σ 1/Cn • Paralelna veza: Ce= Σ Cn • Mešovita veza: Ce 1=C 2+C 3 Ce =C 1(C 2+C 3)/ (C 1+C 2+C 3)
Izgled motora jednosmerne struje rotor i stator • Motori jednosmerne struje su jako zastupljeni u elektronskim uređajima. Iako je napajanje naizmenično, jednosmerna struja ima upotrebu u kontroli uređaja unutar nekog sistema. Npr. Kontrola audio, video uređaja, kontrola CD ROM-a isl.
Programmable logical control • Iako je naizmenična struja rasprostranjenija, u velikim sistemima jednosmerna struja i dalje ima jako veliki značaj u kontoli svih potrošača naizmenične struje. • Najsavremeniji i najzastupljeniji kontroler naizmeničnih potrošača – PLC (programibilni logički kontroler), napaja se jednosmernom strujom.
Funkcionalna šema PLC kontrolera PULSNI I MODULI PREKIDA DIGITALNI I/O MODULI ANALOGNI I/O MODULI KOMUNIKACIONI MODULI POZICIONI MODULI
Šematski prikaz segmenta kontrole PLC-a